Общие сведения. Тяговые двигатели, как известно, обладают свойством обратимости, т. е. могут работать как двигателями, так и генераторами. Перевод машины из двигательного режима в генераторный можно осуществлять различными способами: уменьшая напряжение сети, увеличивая э. д. с. машины путем повышения частоты вращения якоря или увеличивая магнитный поток.
Для того чтобы двигатель мог длительно работать в генераторном режиме, необходимо к валу его якоря приложить внешний вращающий момент. Такой момент создается при движении электропоезда на спусках или на.площадке. В этом случае работающие в генераторном режиме тяговые двигатели создают тормозные усилия.
Электрическая энергия, генерируемая тяговыми машинами при торможении, может быть рассеяна в резисторах в виде тепловой энергии либо отдана в контактную сеть. Различают три вида электрического торможения: реостатное, рекуперативное и смешанное (реостатно-рекуперативное). При рекуперативном торможении электрическая энергия отдается в контактную сеть. Электрическое торможение позволяет уменьшить износ тормозных колодок и бандажей и в значительной степени уменьшает загрязнение электрооборудования и верхнего строения пути металлической пылью.
Рассмотрим образование тормозного момента двигателя, работающего в генераторном режиме. На рис. 165, а показана схема электрической машины, работающей двигателем; рис. 165, б иллюстрирует схему этой же машины, но цепь якоря разомкнута. При этом вращение якоря сохранено, но возбуждение осуществляется от постороннего источника тока. Магнитное поле полюсов показано на этом же рисунке.
Под действием внешней силы (движение по спуску) якорь машины вращается в магнитном поле, следовательно, в его проводниках наводится э. д. с. Замкнем цепь якоря на резистор (реостатное торможение), при этом в его обмотке потечет ток, а вокруг обмотки якоря возникнет магнитное поле (рис. 165, в). Объединив два магнитных потока (см. рис. 165, бив), получим результирующее магнитное поле (рис. 165, г).Сгущение силовых линий слева и разряжение их справа приведет к появлению электромагнитных сил £я. Рассматривая движение электропоезда по спуску, когда якорь вращается от колесной пары, можно сказать, что электромагнитная сила £я препятствует вращению якоря, как бы стараясь остановить якорь. В результате происходит торможение поезда. Из рис. 165, б, в и г можно установить, что чем больше ток якоря Iя и магнитный поток Ф, тем сильнее тормозной момент якоря Мт = ЯФ. следовательно, формула справедлива для подсчета вращающего момента в тормозном режиме.
Если выводные концы якоря машины, показанной на рис. 165, г, отключить от резистора и подключить к контактному проводу, то получим простейшую схему рекуперативного торможения.
Реостатное торможение. Как было отмечено выше, при реостатном торможении тяговыедвигатели, работающие в генераторном режиме, подключают к тормозным резисторам. При этом э. д. с. двигателей уравновешивается падением напряжения в резисторах и самих тяговых двигателях. Уравнение электрического равновесия имеет вид
СФи = / (/д + Ят),
где V — скорость поезда при реостатном торможении;
/?т — сопротивление тормозного резистора, отнесенное к одному тяговому двигателю.

Рис. 165. Схемы, поясняющие образование тормозной силы при переходе с тягового на генераторный режим работы тяттпз'ого двигателя
В этом режиме тяговые двигатели не связаны с контактным проводом и составляют независимую цепь, замкнутую на резисторы. Реостатное торможение особенно эффективно при низких скоростях движения поезда, когда тяговые двигатели, работающие в генераторном режиме, не в состоянии создавать э. д. с, большую напряжения контактной сети.
Реостатное торможение может осуществляться с самовозбуждением или с независимым возбуждением тяговых двигателей.
Реостатное торможение с самовозбуждением тягового двигателя. Для его осуществления необходимо, чтобы при переходе из двигательного режима (рис. 166, а) в генераторный, вызывающем изменение направления тока в обмотке якоря, не изменялось направление тока в обмотке возбуждения. Если двигатель просто замкнуть на резистор, направление тока в обмотке возбуждения изменится и появившийся ток размагнитит двигатель, тогда реостатное торможение станет невозможным. Поэтому при реостатном торможении концы обмотки возбуждения переключают так, как показано на рис. 166, б. Взаимная связь между током, э. д. с. и магнитным потоком двигателя при неизменной скорости поезда выражается уравнением Е = CФv = / (гд + Яг), составляющие которого можно изобразить графически. Кривая 1 (рис. 167) выражает зависимость э. д. с. Е при постоянной скорости движения, а прямая 2 — зависимость падения напряжения в цепи от тока. Пересечение линий / и 2 (точка С) определяет установившийся режим работы.
Задаваясь значениями скорости движения, можно построить множество кривых Е (/). Пересечение этих кривых с прямой 2 определяет сопротивление Рт: в тормозной цепи по позициям. Число тормозных позиций выбирают, как и при пуске, задаваясь пределами колебаний тормозного тока от наибольшего значения /тах до наименьшего /т1п. Пределы колебаний и средний тормозной ток выбирают исходя из тех же соображений, что и при определении пределов пусковых токов, но с учетом дополнительного ограничения по максимально допустимому напряжению.
Опасность чрезмерного повышения напряжения связана с тем, что при реостатном торможении желательно реализовать большие тормозные силы при высоких скоростях движения. В этих условиях э. д. с. двигателя будет велика, так как двигатель должен работать при сильном магнитном поле и большой частоте вращения якоря.

Рис. 166. Упрошенные схемы перехода на реостатное торможение с самовозбуждением

Рис. 167. Зависимости э. д. с. Е и падения
напряжения в цепи от тока / при реостатном торможении с самовозбуждением
Наибольшая допустимая скорость начала торможения при токе /
fmax = [tW + ' (Ая + Ят)1/(СФ),
где t/max — наибольшее допустимое напряжение иа двигателе.
Если в последнее уравнение подставить значение СФ = (U — IRA)/v, то получим формулу, определяющую ограничение скорости при реостатном торможении,
где v — скорость движения при тяговом режиме и напряжении иа двигателях U.
Реостатное торможение применяют на электропоездах ЭР2Р при скоростях движения ниже 50 км/ч.
Реостатное торможение с независимым возбуждением. Для ускорения возбуждения в отдельных случаях перед рекуперативным торможением, а также в случаях срыва рекуперативного торможения применяют реостатное торможение с независимым возбуждением. В зоне высоких скоростей это делают с целью уменьшения межламельного напряжения на коллекторе тяговых двигателей. Однако тяговые двигатели 1ДТ-003, установленные на электропоездах ЭР2Р, отличаются большой коммутационной устойчивостью, и, как правило, такое ограничение не требуется.
Рекуперативное торможение. Электроэнергия, возвращаемая в контактную сеть, может быть использована для питания тяговых двигателей других электропоездов и электровозов, работающих в тяговом режиме. При отсутствии потребителей рекуперируемая электроэнергия должна на тяговой подстанции передаваться в питающую сеть с помощью специальных устройств — инверторов. Если такие устройства на тяговых подстанциях отсутствуют, то произойдет срыв рекуперативного торможения.
Рекуперативное торможение обычно не позволяет затормозить поезд до полной остановки, так как э. д. с. генерирующей машины при малых скоростях не может быть поддержана на прежнем уровне, т. е. рекуперативное торможение возможно при условии, что э. д. с. тягового двигателя или сумма э. д. с. последовательно включенных тяговых двигателей больше напряжения контактной сети. Ток рекуперации
где N — число последовательно соединенных тяговых двигателей; Е — э. д. с. одного тягового двигателя;
2г — суммарное сопротивление цепи якорей тяговых двигателей.
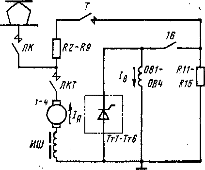
На электропоездах ЭР2Р питание обмоток возбуждения производится от статического преобразователя.
При помощи контактора обмотки возбуждения двигателей подсоединяются к статическому возбудителю. Трехфазный вращающийся генератор через трансформатор возбуждения подает напряжение на статический,возбудитель; включаются контакторы Т (рис. 168) и Л KT; вводится в действие система автоматического управления торможением (САУТ), которая выдает управляющие импульсы на тиристоры Tri—Ттб статического возбудителя. Схема переключается в режим реостатного торможения с независимым возбуждением двигателей. При этом ток возбуждения и ток обмоток якорей двигателей будут возрастать, и, когда напряжение на обмотках якорей четырех последовательно соединенных двигателей приблизится к напряжению контактной сети, срабо-

Рис. 168. Упрощенная схема электрического торможения моторного вагона электропоезда ЭР2Р
тает реле рекуперации и включится линейный контактор ЛК. После включения линейного контактора ЛК отключается тормозной контактор Т, разрывая цепь реостатного торможения — этим заканчивается переход на рекуперативное торможение.
Когда ток возбуждения достигает 250 А, САУТ переводит силовые цепи в обратной последовательности из режима рекуперативного торможения в режим реостатного торможения.
От того, насколько правильно отрегулированы реле и аппараты, зависит возможность рекуперативного торможения. На электропоездах необходимо производить сезонную регулировку 2 раза в год (в апреле и октябре). Четкой и правильной регулировки требуют реле регулирования баланса и реле максимального напряжения (РМН). Они должны быть отрегулированы по техническим условиям завода.
Регулировке подвергается также реле моторного тока (РМТ). Практически неизбежное различие в уставках реле максимального напряжения, находящих ся на разных вагонах, приводит к тому, что одна часть моторных вагонов поезда может работать в режиме рекуперативного торможения, а другая — в режиме реостатного торможения с независимым возбуждением.
Чтобы эффективно использовать рекуперативное торможение, необходимо улучшать наладку цепей рекуперативного торможения, обучать локомотивные и ремонтные бригады передовым методам регулировки аппаратуры и управлению электропоездом при рекуперативном торможении.
При корректировке технологической карты настройки цепей рекуперативного торможения основное внимание следует обращать на ужесточение параметров, норм и допусков при ремонте оборудования и узлов электропоезда, влияющих на устойчивость работы этих цепей. В частности, особое внимание уделяют подбору тяговых двигателей и колесно-моторных блоков по характеристикам. Стабильность характеристик колесно-моторных блоков влияет не только на расход электроэнергии, но и на коммутационную устойчивость работы тяговых двигателей, особенно в режиме рекуперативного торможения.
Нарушение стабильности характеристик возбудителей и сопротивлений цепей обмоток возбуждения приводит к значительным броскам тока, а в отдельных случаях и к отключению защиты тяговых двигателей.
|
|