Головной вагон. В связи с тем что контроллер машиниста и кнопки управления установлены на головных вагонах, управление поездом может осуществляться только из головного вагона. К аппаратам всех пяти моторных вагонов управляющие сигналы поступают по поездным проводам.
Цепи управления получают питание от генератора управления или аккумуляторной батареи головного вагона по проводам +15 и —30 (рис. 175 и 176). Управление токоприемниками осуществляют двумя импульсными кнопками Токоприемник поднят и Токоприемник опущен, присоединенными непосредственно к проводу 16 через отдельный предохранитель Пр16. При нажатии одной из этих кнопок получают питание поездные провода 25 или 26 токоприемников и соответствующие вентили клапанов КЛП токоприемника.

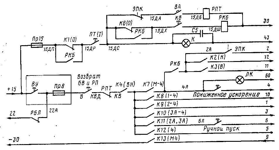
Рис. 175. Схема цепей управления электропоездами ЭР2 с № 1028
Все остальные цепи управления тяговыми аппаратами получают питание через выключатель управления ВУ, при включении которого подается «+» на поездной провод 22, и через контакт импульсной кнопки Возврат БВ и РП на провод КВ контроллера машиниста.
До поворота главной рукоятки на любую позицию необходимо предварительно нажать кнопку КБ, включив реле контроля безопасности РКБ (см. рис. 172* и 173*). Кнопка КБ находится на главной рукоятке контроллера машиниста. После нажатия кнопки КБ поворачивают реверсивную рукоятку в необходимое положение и устанавливают главную рукоятку в одно из ходовых положений. Такая последовательность операций обеспечивает сбор силовой цепи. Если этот порядок будет нарушен, то цепь питания контроллера машиниста

Рис. 176. Схема управлення токоприемниками электропоездов ЭР2 до № 1084 (а) и с № 1084 (б")
будет разомкнута и силовая цепь не соберется, а также потеряет питание срЫв-ной клапан СК, и пневматический тормоз сработает. В результате замыкания кнопки КБ срабатывает реле РКБ, катушка которого получает питание по цепи (см. рис. 175): провод + 15, предохранитель Пр15, провод 15ДП, контакт реверсора К1, провод 15ДР, контакт ИТ, провод 15ДС, контакт основного вала Кб, провод 15ДХ, кнопка КБ, провод 15ДШ, катушка РКБ, провод 30. При этом замкнутые контакты К1 и Кб контролируют нахождение главной рукоятки и реверсивной рукоятки в положении 0.
Включившись, реле РКБ замыкает свои контакты в проводах 15ДР—15ДП и 15ДС—15ДХ, шунтируя контакты К1 и Кб. Теперь размыкание контактов К1 и К12 при повороте рукояток контроллера не вызывает снятия питания с катушек клапана СК (см. рис. 172) и РКБ. Катушка клапана СК получает питание по цепи: провод +15, предохранитель Пр15, провод 15ДП, контакт К1 (или контакт РКБ), провод 15ДР, провод 15ДС, контакт К КМ, катушка СК, провод 30. При этом главную и реверсивную рукоятки можно ставить в любое положение. Если же повернуть главную рукоятку, прежде чем реверсивную, то якорь реле РКБ (см. рис. 175) отпадет и начнется торможение. То же самое произойдет, когда машинист отпустит главную рукоятку, размыкая контакт КБ. При этом контактом в проводах 4А—-2А отключаются тяговые цепи.
• Отпустить главную рукоятку можно, лишь установив ее в положение Он переведя в положение 0 реверсивную рукоятку. Это можно делать только во время стоянки поезда.
Для обязательного нахождения реверсивной рукоятки в момент выбега в одном из рабочих положений в цепь питания катушки электропневматического клапана автостопа введен контакт К5 реверсивного вала контроллера машиниста, который замыкается только в одном из рабочих положений. Если в момент выбега реверсивную рукоятку перевести в нулевое положение, то контакт К5 разомкнётся и катушка автостопа потеряет питание. Это вызовет отключение проводов управления тягой и включение электропневматического тормоза. При продолжительной стоянке поезда электропневматический клапан отключают ключом автостопа.
После установки главной рукоятки в положение М получает питание провод 2 по цепи: провод 15, ВУ,'провод В, контакт Возврат БВ и РП, провод КВД, контакт РПТ, провод КВ, контакт К4, провод 15ДЯ, контакт К7, провод 4А, контакт РКБ, провод 2А, контакт ЭПК, провод 2. На всех моторных вагонах катушки аппаратов со стороны «минуса» присоединены к поездному проводу 9. К этому проводу подводится напряжение на головном вагоне через контакт главного вала при всех положениях главной рукоятки, кроме нулевого. Таким образом обеспечен двойной разрыв питания'цепей управления электропоездом.-
В первом положении главной рукоятки дополнительно получает питание поездной провод 10 управления автоматическим пуском при последовательном соединении тяговых двигателей. Во втором положении дополнительно замыкается контакт поездного провода /, также управляющего автоматическим пуском, в третьем положении — контакт провода 3 и в четвертом — контакт провода 5. Поездные провода 3 и 5 являются плюсовыми проводами управления вращением кулачковых валов силовых контроллеров при переходе на параллельное соединение при ослаблении возбуждения.
Кроме указанных положений, главная рукоятка контроллера имеет два промежуточных положения ручного пуска: 2А и ЗА. В этих положениях при нажатий кнопки Ручной пуск подается напряжение на поездной провод б, а в положении ЗА, кроме того, — и на поездной провод 3. Таким образом, при переводе главной рукоятки в положения 2А и ЗА и включенной кнопке Ручной пуск постоянно получают «-;-» провода /, 2, 6, 10 и попеременно провод 3.
Для осуществления режима пониженного ускорения предусмотрен поездной провод 4, получающий .«+» при всех рабочих положениях главной рукоятки чербз кнопку Пониженное ускорение.
Для обеспечения на электропоездах обязательного включения автостопа перед отправлением поезда и отключения тяги с приведением в действие электропневматических тормозов в случаях экстренного торможения электро-пневматическим клапаном автостопа на головных вагонах предусмотрено реле торможения РПТ. В цепь питания катушки РПТ введены размыкающие контакты электропневматического клапана ЭПК и контакты переключателя ВА.
При срабатывании ЭПК его размыкающий контакт 15-15ДА замыкается и при замкнутых контактах ВА (15ДА-15ДБ) получает питание катушка реле РПТ через размыкающий контакт КВД-КВ, который обесточивает цепи управления, а при замыкании контактов 15ДР-49 и 15ДР-47 подается напряжение на тормозные провода для приведения в действие электропневматического тормоза. Контакты выключателя ВА служат для отключения реле РПТ при выходе из строя электропневматического клапана ЭПК.
Моторный вагон. Управление токоприемниками. Подъем и опускание токоприемников осуществляется электропневматическимй клапанами КЛП-П и КЛП-0 (см. рис. 176), на катушки которых подается напряжение из головного вагона по проводам 25 и 26, а также индивидуальными импульсными кнопками на любом моторном вагоне поезда (см. рис. 172—174).
При нажатии кнопки Токоприемник поднят на головном вагоне получает питание провод 25 и возбуждаются все катушки клапанов КЛП-П токоприемников.
Опускание токоприемников осуществляется нажатием кнопки Токоприемник опущен; при этом возбуждается катушка клапана КЛП-0 и воздух из привода токоприемника выходит в атмосферу.
Схема предусматривает автоматическое опускание токоприемников на моторных вагонах всего поезда в том случае, если лестница на крышу вагона окажется открытой хотя бы на одном из вагонов, либо дверца высоковольтного шкафа окажется открытой, или на любом вагоне будет открыта крышка подвагонного ящика. При этом замыкается блок-контакт в цепи проводов 15Г-28 и на головном вагоне включается реле безопасности РБЛ, которое своим контактом в цепи 36-36А отключает цепи отопления, а контактом в цепи 22-22А — цепи управления вспомогательными машинами, чем предотвращает опускание токоприемника под током. Контакт реле РБЛ в проводах 15Х-26 замыкает цепь питания катушки клапана КЛП-0, шунтируя кнопку Токоприемник опущен, вследствие чего токоприемники опускаются на всех моторных вагонах.
На электропоездах ЭР2, начиная с № 1084, в схему управления токоприемниками введен дополнительный размыкающий контакт промежуточного реле управления ПРУ (между проводами 25 и 25А), служащий для предотвращения пережога контактного провода.
Контакт 25-25А реле ПРУ делает невозможным поднятие токоприемника при включенном выключателе управления. Это необходимо для того, чтобы токоприемник поднимался без включенных вспомогательных машин. Как известно, при подъеме токоприемника возможен его кратковременный отход от контактного провода, если в это время включены цепи высокого напряжения, возможен пережог контактного провода.
Управление быстродействующим выключателем. При включенном выключателе управления головного вагона через предохранитель Пр13 (рис. 177) по поездному проводу 22 получает питание катушка промежуточного реле управления ПРУ. После включения реле ПРУ напряжение от батареи через основной контакт в проводах 15В и 20Ж подается на секционный провод управления 20. Таким образом, секционные провода 20 всего поезда дублируют поездной

Рис. 177. Схема управления быстродействующим выключателем
провод 22, но получают питание от батареи данной секции с минимальным падением напряжения.
Реле ПРУ при подготовке поезда можно включить и при выключенном выключателе управления головного вагона кнопкой Управление данного моторного вагона.
При включенных реле ПРУ и выключателе Б В данного моторного вагона получает питание удерживающая катушка быстродействующего выключателя БВУ. Контакт дифференциального реле ДР в проводах" 20А-20Б нормально всегда замкнут и размыкается только при небалансе токов в силовой цепи.
Возбуждения удерживающей катушки недостаточно для включения быстродействующего выключателя. Для его включения необходимо кратковременным нажатием кнопки Возврат БВ и РП в кабине головного вагона возбудить катушку электропневматического вентиля. Вентиль открывает доступ сжатому воздуху в пневматический привод БВ,
После включения Б В его блок-контакт ЗОА-30 замыкается и обеспечивает питание катушки подмагничивания дифференциального реле ДР, и оно подготавливается к работе.
При токе короткого замыкания, меньшем тока уставки БВ. реле ДР сработает и своим размыкающим контактом разорвет цепь питания удерживающей катушки БВУ, что вызовет выключение БВ. После этого обесточивается цепь катушки подмагничивания реле и не происходит нагревание ее.
Для быстрого гашения дуги на контактах дифференциального реле и ускорения процесса размагничивания магнитной системы БВ параллельно контактам ДР и катушке БВУ включены конденсаторы С2 емкостью 0,5 мкФ и СЗ емкостью 8 мкФ. Предохранитель ПрЗ в цепи конденсатора СЗ служит для защиты цепи управления от короткого замыкания при пробое конденсатора.
Одновременное отключение всех БВ поезда происходит при выключении выключателя управления. Кнопкой £ В можно отключать быстродействующий выключатель только данного вагона. Во всех перечисленных случаях отключение происходит вследствие исчезновения магнитного потока удерживающей катушки.
Автоматическое (аварийное) срабатывание БВ при токе силовой цепи 600— 550 А происходит под действием размагничивающей катушки, включенной в начале силовой цепи. Она резко уменьшает магнитный поток удерживающей катушки, а следовательно, и усилие притяжения якоря, что приводит к отключению выключателя оттяжными пружинами. С целью предотвращения замыкания контактов БВ под током при собранной силовой цепи кнопка Возврат БВ и РП сблокирована блок-контактом на проводе КВ, который отключает цепи пита-
ния контроллера машиниста при нажатии на кнопку Возврат Б В и РП. При собранной силовой цепи, т, е. включенном контроллере машиниста, нажатие на кнопку Возврат БВ и РП недопустимо, так как пневматический привод разомкнет силовые контакты БВ и в этом случае зазор между ними будет всего 5 мм, а следовательно, система не в состоянии обеспечить дугогашение.
Управление реверсором. Поворот реверсора в заданное положение осуществляют при подаче питания на один из поездных проводов // или 12. Эти провода соединяются с «минусом» батареи или генератора после установки главной рукоятки контроллера машиниста в одно из ходовых положений (см. рис. 174). До этого реверсор находится в том же положении, в котором он находился.в предыдущем положении рукоятки контроллера. При подаче напряжения в провод 11 возбуждается катушка электропневматического вентиля реверсора Вперед и вал последнего поворачивается в заданное положение. Лишь после того, как закончится поворот реверсивного вала, замыкается его контакт Вперед в проводах 11А-11Б и подается напряжение на провод управления мостовым контактором М. То же происходит и при подаче напряжения на поездной провод 12, но в этом случае реверсор поворачивается в положение Назад.
После поворота вала реверсора один из вентилей реверсора продолжает получать питание все время, пока главная рукоятка контроллера находится в ходовом положении. Благодаря этому предотвращается случайное нарушение контакта в силовой цепи реверсора вследствие тряски поезда или других причин.
Для правильного управления реверсорами важно знать, в какую сторону будет двигаться поезд и данный вагон. Например, движению головного моторного вагона вперед соответствует движение хвостового моторного вагона назад. Если же реверсоры всех моторных вагонов установлены в одинаковое положение, например Вперед, то тяговое усилие части вагонов будет действовать против направления движения. Чтобы этого избежать, перекрещивают поездные провода, управляющие реверсорами.
Управление тяговыми двигателями. Включение линейных контакторов ЛК1-2 (рис. 178) происходит при следующих условиях:
разъединитель цепей управления РУМ данного моторного вагона включен и его контакты в проводах 2-2А и 9-9А замкнуты;
контакты автоматического выключателя управления АВУ в проводах 2А-2Б замкнуты, т. е. давление воздуха в тормозной магистрали не менее 0,15 МПа (1,5 кгс/см2);
замкнуты блок-контакты БВ в проводах 2Б-2В, т. е. быстродействующий выключатель включен;
включено реле напряжения РН и замкнуты его контакты в проводах 2В-2Г, т. е. напряжение в контактной сети достаточное;
кулачковый вал силового контроллера находится на 1-й позиции;
блок-контакт Р/С/ в проводах 9Б-9А замкнут, что обеспечивает возможность включения схемы только при последовательном соединении тяговых двигателей с полностью введенными пусковыми резисторами.
В дальнейшем, когда вал силового контроллера перейдет на следующую позицию, блок-контакт РК1 разомкнётся, а питание катушки вентиля контактора Л К1-2 будет осуществляться через блок-контакты M в проводах 9Б-9А. На поездной провод 2 подано напряжение, а поездной провод 9 соединен с «минусом» цепи управления, т. е. рукоятка контроллера машиниста на головном вагоне находится в одном из ходовых положений. Мостовой контактор M включается после включения линейного контактора ЛК1-2 и замыкания его контакта в проводах 11Б-11Д. На эгам заканчивается сбор силовой цепи моторного вагона в маневровом режиме, и через обмотки тяговых двигателей начинает протекать ток. О сборе цепи и включении линейных контакторов судят по показанию сигнальной лампы.
Рис. 178. Схема управления тяговыми двигателями
В маневровом режиме вал силового контроллера находится все время на 1-й позиции. Пусковые резисторы остаются полностью введенными.
В процессе автоматического (или ручного) пуска вал силового контроллера доходит до 12-й позиции, после чего включаются его контакты РК.12-18 в проводах IIЛ-НЕ. Следовательно, при переходе на последовательно-параллельное соединение тяговых двигателей силовой контроллер находится на 12-й позиции. При этом через его блок-контакты РК12-18 в проводах НД-НЕ включаются электропневматические контакторы параллельного соединения П1-2, имеющие общий пневматический привод. После их полного включения блок-контакт П1-2 в проводах 1 \ Ж-6А размыкается и контактор М выключается. Питание катушки вентиля контактора ЛК1-2 будет осуществляться через блок-контакт П1-2 в проводах 9Б-9А.
Контакторы ослабления возбуждения Ш1-2 также имеют общий привод. Катушка вентиля Ш1-2 получает питание по проводу 5А:
при последовательном соединении тяговых двигателей от поездного провода /, во втором и последующих положениях рукоятки контроллера машиниста через контакты силового контроллера РК10-12;
при параллельном соединении тяговых двигателей от поездного провода 5 в четвертом положении рукоятки контроллера машиниста через контакты силового контроллера РК17-18.
Указанные контакты силового контроллера замкнуты только на тех позициях, на которых должно осуществляться ослабление возбуждения.
Управление реостатным контроллером. Для перевода вала контроллера с одной позиции на другую необходимо возбудить катушку одного из вентилей. Работой привода управляет кулачковый переключатель вентилей, у которого

имеются три контактора ПВ1, ПВ2, ПВЗ (рис. 179). На нечетной позиции включен контактор ПВ2, замыкающий цепь питания катушки вентиля PKI. Когда вал не дойдет до четной фиксированной позиции на несколько градусов, контактор ПВ2 размыкается, но одновременно замыкается контактор ПВЗ, подготавливая цепь питания катушки РКП■ При повороте вала на следующую нечетную позицию ПВЗ размыкается, а ПВ2 замыкается. Так, поочередно замыкаясь и размыкаясь, контакторы ПВ2 и ПВЗ подают питание на катушки PKI и РКП ■ Контакт переключателя вентилей ПВ1 разомкнут на всех фиксированных позициях, но замыкается в процессе поворота вала контроллера с одной позиции на другую. Контакт ПВ1 создает цепь питания подъемной катушки реле ускорения РУ, соединяя ее в процессе поворота вала последовательно с катушкой одного из вентилей. За несколько градусов до окончания поворота вала контроллера контакты ПВ1 и ПВ2 или ПВ1 и ПВЗ размыкаются; вал доходит до фиксированной позиции благодаря воздействию сжатого воздуха и инерционных усилий. Вал контроллера на фиксированной позиции находится до тех пор, пока ток двигателей не уменьшится до значения тока отпадания якоря реле ускорения РУ (175 А).
Реле ускорения РУ имеет две катушки: последовательную и параллельную, получающую питание по поездному проводу 22А. Магнитные потоки катушек направлены согласно. При нормальной регулировке РУ якорь его притягивается под действием одной последовательной катушки при токе около 210 А и отпадает при токе 175 А. Если же параллельная катушка также возбуждена (например, соединена последовательно с катушкой вентиля контроллера), то для притягивания якоря РУ достаточен ток в последовательной катушке око-

Рис. 179. Схема управления реверсором, индивидуальными силовыми контакторами и реостатным контроллером
ло 120 А. Реле ускорения имеет только один размыкающий контакт, включенный в цепь проводов 1Б-1В. Когда якорь реле притянут, этот контакт размыкается .
Рассмотрим работу контроллера под контролем?У при автоматическом пуске поезда. Пусть рукоятка контроллера машиниста поставлена в первоеположе-ние, т. с. поездной провод 10 автоматического пуска находится под напряжением. Одновременно под напряжением находятся поездные провода 2 и //, по которым подается питание к линейному и мостовому контакторам. После включения контактора M замыкается его контакт в цепи проводов 1Г-1Е и создается цепь автоматического пуска: провод 10, контакт контроллера РК1-8, контакт РУ (якорь которого отпал), резистор Р40-Р41, контакты M и ПВ2, размыкающий контакт реле ручного пуска БР1 и катушка вентиля РК1. Вал контроллера начинает поворачиваться с 1-й позиции на 2-ю.
В начале поворота вала включается контакт ПВ1 и создается дополнительная цепь питания катушки вентиля PKI от провода 22А последовательно с включающей катушкой РУ. Однако вскоре после этого размыкается первая цепь питания PKI, так как при возбуждении включающей катушки реле РУ якорь его притягивается, а контакт размыкается. Вал контроллера продолжает вращение благодаря питанию РК1 по второй цепи.
В конце поворота контакты ПВ2 и ПВ1 размыкаются, но вал контроллера доходит до 2-й фиксированной позиции как по инерции, так и благодаря постепенно спадающему давлению сжатого воздуха. Одновременно замыкается контакт ПВЗ, подготовляя цепь питания вентиля РКП. Вал контроллера будет находиться на 2-й позиции до тех пор, пока ток тяговых двигателей не станет меньше 175 А. После этого отпадет якорь реле ускорения, замкнется его контакт 1Б-1В и вал контроллера начнет поворачиваться на'3-ю позицию. Таким образом, вал контроллера дойдет до 8-й позиции. При повороте вала с 8-й позиции на 9-ю разомкнётся контакт PKt-8 в проводах 10А-1Б. Автоматический пуск при первом положении рукоятки контроллера (на 9-й позиции) закончится. Тяговые двигатели при этом работают на автоматической характеристике последовательного соединения при полном возбуждении.
При установке рукоятки контроллера машиниста во второе положение получает питание поездной провод /. Через контакты РК9-10, 12-15 на катушки вентилей реостатного контроллера подается напряжение и вал поворачивается до 11-й позиции, на которой контакты PK9-Î0, 12-15 снова размыкаются. На 10-й позиции по проводу 1А через контакт РК10-12 получает питание катушка контактора ослабления возбуждения Ш1-2, а на 11-й позиции возбуждение двигателей дополнительно ослабляется включением контакторов реостатного контроллера РКП-12, закорачивающих шунтирующий резистор. Таким образом, 11-я позиция соответствует второму положению рукоятки контроллера машиниста и последовательному соединению тяговых двигателей при ослаблении возбуждения 50 "о.
Для продолжения автоматического пуска рукоятка контроллера машиниста устанавливается в третье положение. При этом создается цепь питания катушки вентиля РК1 по поездному проводу 3 через блок-контакт РКП. После поворота вала контроллера на 12-ю позицию питание катушек вентилей восстанавливается по проводу / через блок-контакты РК9-10, 12-15 и вал доходит до 16-й позиции. На 12-й позиции замыкается блок-контакт РК12-18 в цепи контактора П1-2, осуществляющего переход на параллельное соединение тяговых двигателей. Блок-контакт П1-2 в проводах 11Ж-9А, размыкаясь, разрывает цепь питания катушки вентиля контактора М. При переходе контроллера с 12-й на 13-ю позицию размыкается его блок-контакт РКЮ-12 (в проводах 1А-5А) и катушка вентиля контактора Ш1-2 обесточивается. Позиция 16 вала контроллера соответствует последовательно-параллельному соединению двигателей при полном возбуждении и полностью выведенных пусковых резисторах.
В четвертом положении рукоятки контроллера машиниста напряжение подается по проводу 5 на катушки вентилей контроллера через блок-контакт РК16-17. На 17-й позиции вала контроллера включается контактор ослабления возбуждения Ш1-2 (провод 5 через блок-контакт РК17-18). Позиция 18 вала соответствует последовательно-параллельному соединению тяговых двигателей при ослаблении возбуждения 50 0и.
Машинист может производить пуск поезда до наивысшей скорости сразу, установив рукоятку контроллера машиниста в четвертое положение, при этом валы реостатных силовых контроллеров всех моторных вагонов под контролем реле ускорения доходят до 18-й позиции. Это обеспечивает уменьшение толчков тока для двигателей каждого вагона, а также сглаживание пиков общего тока, потребляемого электропоездом от контактной сети. Однако работа реостатных контроллеров моторных вагонов, как правило, осуществляется несинхронно. Это вызвано различием собственных характеристик реостатных контроллеров, характеристик реле ускорения, диаметров бандажей колесных пар и неодинаковой загруженностью вагонов.
При неточной фиксации позиций вала контроллера, когда одновременно . замкнуты или разомкнуты оба контакта переключателя вентилей ПВ2 и ПВЗ, и других неисправностях, нарушающих автоматический пуск, машинист может перейти на ручное управление. Реле ручного пуска БР1 своим контактом в проводах 1Ж-1Л разрывает цепь автоматического пуска, а другим контактом в проводах 1В-1Д подает питание в цепь ручного пуска на 16-й и 17-й позициях вала контроллера. Для осуществления ручного пуска машинист должен главную рукоятку контроллера попеременно ставить в положения 2А и ЗА, т. е. подавать напряжение на поездной проводи или снимать его и соответственно включать или выключать второе реле ручного пуска БР2. Это дает возможность поочередно подавать питание на катушки вентилей РК1 и РКП.
При плохих условиях сцепления, а также при низком напряжении в контактной сети пуск поезда можно осуществлять в режиме пониженного ускорения. С этой целью в головном вагоне предусмотрена кнопка Пониженное ускорение, при включении которой подается напряжение на поездной провод 4. При этом на всех моторных вагонах включаются промежуточные реле пониженного ускорения РРУ, у которых замыкаются блок-контакты в проводах ЗОГ-30, и подъемная катушка реле ускорения через резистор Р42-Р43 (300 Ом) получает дополнительную подпитку. Это снижает уставку реле ускорения до 120— 125 Л, т. е. вал контроллера поворачивается на следующую позицию при токе менее 125 А.
В режим пониженного ускорения при автоматическом пуске тяговых двигателей можно переходить индивидуально, т. е. отдельно на каждом моторном вагоне. Такая необходимость возникает при срабатывании реле перегрузки РП1 или РП2. Общий контакт этих реле РП1-2 заведен в цепь проводов ЗОГ-30 и играет ту же роль, что и контакт РРУ, с той лишь разницей, что в этом случае в режим пониженного ускорения переходит только моторный вагон, на котором произошла перегрузка. Контакты реле перегрузки имеют механическую защелку и поэтому не размыкаются даже при устранении перегрузки. Машинист может восстановить реле нажатием кнопки Возврат БВ и РП.
При плохом сцеплении колесные пары моторных вагонов боксу ют. В этом случае срабатывает реле боксования РБ1 или РБ2, замыкая свой контакт в цепи проводов ЗОВ-30. Происходит подпитка подъемной катушки реле ускорения через резистор Р42-Р43 (100 Ом). Это снижает ток отпадания якоря реле ускорения до 70 А. Вал контроллера вагона с боксующей колесной парой останавливается и практически не вращается, пока не прекратится боксо-вание. В случае боксования колесных пар одной параллельной группы тяговых двигателей (при последовательно-параллельном соединении) ток силовой
катушки реле ускорения становится менее 175 А, а вал контроллера поворачивается на одну-две позиции. В это время ток другой параллельной группы двигателей может стать выше уставки реле перегрузки. Это реле сработает и переведет работу моторного вагона в режим пониженного ускорения. Реле боксования не имеет защелки. Поэтому после прекращения боксования якорь сработавшего реле отпадает и вал контроллера продолжит вращение до заданной позиции.
При переводе главной рукоятки контроллера из любого рабочего положения в нулевое вал реостатного контроллера, на какой бы позиции он ни находился, должен автоматически возвратиться на 1-ю позицию, т. е. подготовить цепи для следующего пуска. Возврат вала контроллера на 1-ю позицию осуществляется при отключенных контакторах ЛК1-2 по следующей цепи: поездной провод 22, блок-контакты РУМ, РК2-18, провод 22Б, блок-контакт ЛК1-2, переключатели ПВ2 или ПВЗ, вентиль РКІ или РКП (в зависимости от позиции, на которой находится вал контроллера).
Если вал контроллера застрянет между фиксированными позициями, машинист может возвратить его на 1-ю позицию по цепи ручного пуска. Для перевода вала с 18-й позиции на 1-ю предусмотрено питание цепи ручного пуска по проводу 11Б через контакт контактора ЛК1-2 и контакт РК18. В этом случае машинист оповещается о том, что один из контроллеров поезда не возвратился на 1-ю позицию: загорается лампа ЛК и не гаснет при повторном включении контроллера машиниста, если хотя бы на одном вагоне не включился линейный контактор (блок-контакт РКІ в цепи ЛК1-2 разомкнут).
|
|