Общие положения. При обнаружении и устранении неисправностей на электропоезде локомотивные бригады должны руководствоваться Правилами техники безопасности при эксплуатации моторвагонного подвижного состава, а также инструкциями и приказами МПС и дороги, связанными с техникой безопасности и безопасностью движения поездов.
Как показывает статистика, порчи электропоездов в пути следования остаются еще на высоком уровне. Более половины всех неисправностей происходит по вине ремонтных бригад, определенный процент неисправностей возникает из-за неправильной эксплуатации электропоездов локомотивными бригадами. По видам оборудования неисправности электропоездов распределяются в следующем процентном отношении: механическое оборудование — 47, электроаппараты к электрические цепи — 26, тяговые двигатели — 17 и вспомогательные машины — 10.
Наибольшее число порч механического оборудования происходит из-за повреждения ходовых частей электропоезда: бандажей колесных пар, резино-кордовых муфт, редуктора, букс колесных пар, заземляющего устройства, автосцепного оборудования и авторегуляторов.
Отклонение технологических параметров от нормативных во время изготовления, монтажа и сборки оборудования, а также во время его ремонта приводит зачастую к неисправностям в процессе эксплуатации.
Для улучшения технического состояния электропоездов, уменьшения порч в пути следования необходимо совершенствовать организацию ремонта и техническое обслуживание электропоездов, проводить техническую учебу среди ремонтных и локомотивных бригад.
Ремонтный персонал при заводских и подъемочных ремонтах должен подбирать тяговые двигатели по характеристикам. Это способствует более равномерному распределению нагрузок между параллельными группами тяговых двигателей и тем самым создает условия безбоксовочной работы моторных вагонов, увеличивая мощность электропоезда. Характеристики тяговых двигателей оказывают особое влияние на работу электропоезда ЭР2Р при рекуперативном торможении. Процесс рекуперации проходит хорошо там, где все четыре моторных вагона в поезде работают синхронно.
На электропоездах необходимо подбирать колесно-моторные блоки не только на каждом моторном вагоне, но и между моторными вагонами всего поезда, стремясь к тому, чтобы тяговые усилия каждого моторного вагона по возможности были одинаковыми и не было перегрузки отдельных моторных вагонов поезда.
Расхождение токов тяговых двигателей зависит от сопротивления обмоток магнитопровода и совпадения магнитных характеристик, подбора шунтирующих резисторов, который должен производиться в зависимости от сопротивления индуктивных шунтов и обмоток возбуждения двигателей, от совпадения диаметров бандажей колесных пар. Расхождение в характеристиках тяговых двигателей необходимо компенсировать подбором диаметров бандажей колесных пар. К двигателям, у которых скоростные характеристики выше, надо подбирать колесные пары с меньшим диаметром и, наоборот, колесные пары с большим диаметром ставить в комплекте с двигателями менее быстроходными.
Механическое оборудование. Повреждение механического оборудования в пути следования, как правило, приводит к значительным задержкам поездов и может вызвать серьезные последствия с точки зрения безопасности движения. Очень важно своевременно обнаружить неисправность механического оборудования, и большая ответственность за это лежит на локомотивных бригадах, которые ежесуточно производят технический осмотр электропоезда. Кроме, этого, локомотивная бригада перед заступлением на смену обязана встречать электропоезд и методом просмотра и прослушивания его ходовых частей обнаруживать возможные неисправности в механическом оборудовании.
Во время движения помощник машиниста должен проходить по вагонам электропоезда и по характерным стукам также определять неисправности редуктора, тягового двигателя, резино-кордовой муфты, автосцепного устройства, рычажно-тормозной передачи и особенно колесных пар, на которых могут
образовываться ползуны. Ползуны (выбоины) на поверхности катания колесных пар или заклинивание колесных пар могут появиться из-за неправильного управления тормозами в пути следования, неисправности тормозных приборов и рычажно-тормозной передачи, разрушения опорных подшипников редуктора, подшипников малой шестерни, роликовых буксовых подшипников, якорных подшипников тяговых двигателей или других неисправностей, поломки зубьев тяговой передачи.
Если в пути следования помощник машиниста на слух определяет, что на каком-либо из вагонов есть ползун (выбоина) на колесной паре (по силе удара опытный помощник машиниста может примерно определить и размер ползуна), локомотивная бригада принимает решение: довести поезд до конечной станции или сделать остановку на станции для осмотра колесной пары. Если машинист по сигнальной лампе РБ или реакции поезда обнаружит заклинивание колесной пары, он должен немедленно остановить поезд, проинструктировать помощника машиниста об осмотре поезда и соблюдении правил техники безопасности, а затем высадить его со стороны, где нет движения. Затем машинист приводит поезд в движение со скоростью 3—5 км/ч и наблюдает в зеркало обратного вида за сигналами, подаваемыми помощником.
Обнаружив заклиненную колесную пару, помощник машиниста подает сигнал остановки. Машинист, остановив поезд, соблюдая правила техники безопасности и безопасности движения, осматривает колесную пару и определяет причину заклинивания. Если такой причиной является неисправность тормозных приборов, машинист отключает неисправные приборы, выпускает сжатый воздух из запасного резервуара данного вагона. При неисправности рычажно-тормозной передачи он распускает ее с помощью авторегулятора, вращая его против часовой стрелки, предварительно нажав на фиксатор. В случае заклинивания колесной пары моторного вагона из-за неисправности тягового двигателя (разрушение подшипников, излома вала якоря и др.) необходимо отсоединить упругую муфту. Если на поверхности катания колесных пар появился ползун (выбоина) глубиной менее 0,7 мм, машинист может продолжить движение с установленной скоростью. В зимнее время при очень низких температурах скорость движения необходимо снижать. При глубине ползуна от 0,7 до 1,5 мм разрешается движение поезда со скоростью не более 25 км/ч, при температуре ниже —30 °С — не более 15 км/ч. При глубине ползуна более 1,5 мм порядок следования поезда определяется управлением дороги.
При заклинивании колесных пар, связанном с разрушением подшипников редуктора или подшипников малой шестерни, изломом зубьев тяговой передачи или разрушением буксовых подшипников, когда вращение колесной пары невозможно, локомотивной бригаде необходимо попробовать расклинить колесную пару методом кратковременного движения поезда вперед и назад. Если это не помогает, то машинист определяет возможность движения поезда с заклиненной колесной парой. При движении такого вагона необходимо освободить его от пассажиров. На неисправном вагоне остается помощник машиниста, который через люк должен наблюдать за колесной парой. Поезд в этом случае может следовать только до ближайшей станции со скоростью не более 5 км/ч. На станции неисправный вагон необходимо отцепить.
Глубину ползуна колесной пары определяют абсолютным шаблоном путем сравнения замеров в средней части ползуна и в другом месте по этой же линии, где нет ползуна. При отсутствии абсолютного шаблона глубину ползуна допускается определять по его длине:
Длина ползуна, мм........ 50 60 75 85 100
Глубина ползуна, мм ........ 0,7 1,0 1,5 2,0 3,0
Электрическое оборудование. Неисправности в электрических цепях электропоездов чаще всего возникают при неквалифицированном уходе за электрическими машинами и аппаратами или неправильной их эксплуатации, а также в результате низкого качества ремонта и изготовления отдельных деталей и узлов. В этих случаях неисправности проявляются в начальный период эксплуатации электропоезда, после ремонта или изготовления.
Чаще всего нормальная работа электрических цепей электропоезда нарушается в результате следующих причин: короткое замыкание, вызванное пробоем или перекрытием изоляции; излом токоведущих частей или потеря контакта в соединениях; ослабление крепления проводов и, как следствие, замыкание проводов или отгорание их; обрыв проводов или потеря контакта в месте соединения; понижение напряжения источников питания (аккумуляторной батареи или генератора управления); нарушение коммутации электрических машин; постороннее питание проводов.
Многие нарушения работы цепей и неисправности аппаратов обнаруживает машинист или помощник машиниста без каких-либо специальных приборов по сигнальным лампам, поведению электропоезда (медленный разгон, большие толчки, оттяжки и др.), по наличию следов разрушений, искрению, запаху горелой изоляции и т. д.
При возникновении неисправности на линии машинист должен уметь правильно оценить обстановку и применить быстрейший способ ликвидации неисправности с минимальным временем стоянки на перегоне, не допуская сбоя графика движения.
В большинстве случаев для отыскания повреждения проверяют действие оборудования электропоезда из кабины управления с одновременным анализом условий и признаков, при которых появилась неисправность. После этого, соблюдая правила безопасности, осматривают наиболее уязвимые места электрической цепи (предохранители, места подключения проводов, блок-контакты и т. п.), а также производят пробные включения аппаратов. Если при внешнем осмотре не удается обнаружить неисправность, электрическую цепь «прозва-нивают».
Определение места к. з. Повреждение ищут (при наличии времени) в пункте оборота или в основном депо путем осмотра оборудования, «прозвонки» его цепей или измерения сопротивления изоляции мегаомметром. Если неисправный участок цепи не влияет на работу всего поезда, то его отключают.
Определение места обрыва в цепи. Сначала проверяют предохранитель, защищающий данную цепь, затем блок-контакты аппаратов. Обрыв самих проводов случается довольно редко, и в основном это происходит в местах подключения их к аппаратам и машинам. Проверку целостности проводов цепей управления осуществляют мегаомметром или омметром.
Определение неисправностей по сигнальным лампам. Во время ведения поезда машинист должен внимательно следить за показаниями сигнальных ламп на пульте управления. При хорошем знании схем и принципов взаимодействия аппаратов по сигнальным лампам можно определить большинство неисправностей.
Электропоезда работают по системе многих единиц, при этом неполадки в работе моторного вагона, как правило, не вызывают сбоя графика движения. Но при эксплуатации электропоездов могут возникнуть такие неисправности, при которых теряется управление поездом из головного вагона. Это приводит к большим задержкам, а иногда к полному сбою графика движения. Рассмотрим некоторые из таких неисправностей.
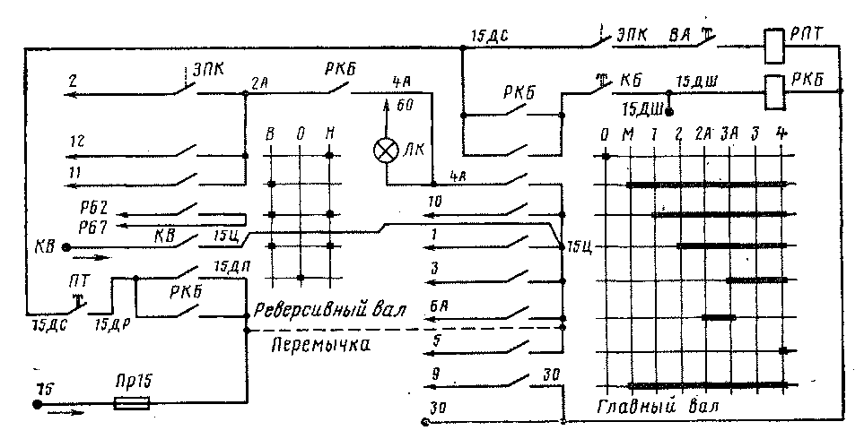
При переводе главной рукоятки контроллера машиниста в любое из поездных положений поезд в движение не приводится. Для того чтобы быстро и точно определить характер неисправности, надо воспользоваться показаниями сиг-
нальной лампы ЛК (рис. 238), которая в этом случае может не гореть, гореть, загораться и гаснуть.
Рассмотрим первый случай, когда лампа ЛК не горит. Это означает, что на провода контроллера машиниста не подается напряжение. Причинами могут быть: перегорание предохранителя Пр8 на 45 А; отсутствие контакта в кнопках Возврат БВ и РП, в блок-контакте РПТ, в блок-контакте контактора К4, который находится на реверсивном валу, контакторе контроллера машиниста (провод 4А); обрыв подводящих проводов. Работающие вспомогательные машины свидетельствуют о том, что цепь от провода 15 до предохранителя Пр8 исправна. Для определения целостности предохранителя Пр8 нужно кнопкой ВУ отключить БВ, а затем снова включить его. Если БВ повторно включается, значит, предохранитель цел.
Проверяют надежность контакта реле РПТ, контактора К4 и провода 4 контроллера машиниста. Если в этих точках неисправность не обнаружена, дальнейшее ее отыскание нецелесообразно, так как для вскрытия пульта и прозвонки проводов требуется много времени. Для выхода из создавшейся ситуации машинист может действовать двумя способами: поставить перемычку от провода 15 тормозного переключателя на шину КВ. В этом случае предохранитель Пр9 надо усилить, увеличив калиброванную вставку до 45 А, поставить перемычку с провода 15 на провод 2 на соединительной планке; собрать аварийную схему в хвостовом вагоне, блокируя контроллер машиниста,
Рис. 238. Принципиальная схема цепей контроллера машиниста и электропневматического тормоза электропоезда ЭР2 до № 1028

т. е. подать напряжение на головной контроллер. Необходимо помнить, что цепь при этом соберется только при постановке главной рукоятки контроллера в головном вагоне в первое положение (в маневровом положении цепь не соберется, так как на контроллер машиниста головного вагона напряжение поступает по проводу 10 (рис. 239 и 240), а провод 2 от контроллера хвостового вагона напряжения не получит, так как разомкнут блок-контакт КБ).
Напряжение на контроллер машиниста головного вагона при этом поступает по цепи: провод 15, ВУ, провод 22 головного вагона, провод 22 хвостового вагона, кнопка Возврат БВ и РП, блок-контакт РПТ, шина КВ хвостового вагона, блок-контакты в проводах 10, 4, блок-контакт КБ, провод 2А, блокировка ключа ЭПК, провод 2 моторного вагона и далее согласно схеме моторного вагона.
Рассмотрим второй случай, когда лампа ЛК загорается и не гаснет, т. е. силовая цепь не собирается. Причинами этого могут быть отсутствие контакта

Рис. 239. Схема блокирования контроллера машиниста (КМ) хвостового вагона ЭР2 до № 1028 при отсутствии питания на КМ головного вагона (а) и обрыве проводов и отсутствии контакта в блокировках КМ (б)

Рис. 240. Схема цепей контроллера машиниста и реверсора электропоезда ЭР2 с № 1028
в блок-контакте КБ; отсутствие контакта в ключе ЭПК или обрыв провода 2 между головным и следующим вагоном; отсутствие контакта в блок-контакте контроллера машиниста (провод 9).
Прежде всего необходимо убедиться, что тормозная магистраль заряжена до установленного давления и БВ восстановлены. Негорящая лампа БВ еще не говорит о том, что БВ включился, так как лампа может перегореть.
Проверяют состояние контактов блок-контактов КБ и в проводе 9. Если они исправны, на рейке зажимов в «радиорубке» ставят перемычку между проводами 2 и 10 или между проводами 1 и 2,
Переводом главной рукоятки контроллера машиниста в первое или второе положение проверяют наличие контакта в ЭПК. Если и в этом случае не удается привести поезд в движение, дальнейшее отыскание неисправности нецелесообразно. Необходимо собрать аварийную схему, блокируя контроллер машиниста в хвостовом вагоне, как и в предыдущем случае.
Цепь тока (при обрыве провода 2) следующая: провод 15 (см. рис. 197, 198 и 199) головного вагона, выключатель управления ВУ, предохранитель Пр8, кнопка Возврат БВ и РП, провод КВ, блок-контакт РПТ, блок-контакт в проводе 4А, блок-контакт КБ, блок-контакт реверсивного провода 11, провод 12 хвостового вагона, провод 2А, блокировка ключа ЭПК и далее провод 2 на моторные вагоны. Линейные контакторы при этом должны включиться.
При обрыве проводов 1,3 я 10 напряжение на них подается через контроллер хвостового вагона, провод 22, предохранитель Пр8, кнопку Возврат БВ и РП, контакт РТ.
Для сбора аварийной схемы методом блокирования контроллера машиниста в хвостовом вагоне поезда необходимо: перекрыть кран на трубопроводе клапана безопасности; развернуть реверсивный барабан в положение Назад; перевести главную рукоятку контроллера машиниста из нулевого положения в одно из поездных положений (лучше во второе), убедившись в том, что при освобождении рукоятки разомкнулся блок-контакт КБ: перекрыть кран на трубопроводе тормозной магистрали, ведущей к ЭГТК, и вынуть ключ ЭПК.
Для быстрейшего освобождения перегона возможен и такой вариант: поставить перемычку с /5-го провода на провод 2 сначала головного вагона, а затем моторного или провод 9 соединить с проводом 30 на головном и моторном вагонах. Если поезд придет в движение, то отсутствует контакт в проводе 2 или 9.
Рассмотрим третий случай, когда лампа ЛК загорается и гаснет, а поезд в движение не приходит. Причиной этого является отсутствие напряжения на
проводе // из-за плохого блок-контакта реверсивного барабана или обрыв провода // между головным и следующим вагонами. При таких неисправностях необходимо проверить движение поезда назад. Если оно возможно, то неисправна цепь провода //.
Другой причиной может быть подача напряжения на провод 7, по которому напряжение поступает на вентиль возврата БВ и тем самым обеспечивается непрерывное поступление сжатого воздуха в цилиндр БВ. При этом силовые контакты замкнуться не могут, хотя сигнальная лампа БВ при этом не горит, контакты БВ не замкнуты и силовая цепь отключена.
Убедиться в том, что провод 7 получил постороннее, питание, можно, нажав на кнопку Возврат БВ и РП и отключив кнопку ВУ. Если вспомогательные машины будут продолжать работать до тех пор, пока кнопка Возврат БВ и РП нажата, то провод 7 получает постороннее питание. Наличие напряжения на проводе 7 можно также проверить контрольной лампой. Если провод 7 получил постороннее питание на линии, где нет времени устранить неисправность, рекомендуется принять следующие меры.
В середине поезда выключить соответствующее маждувагонное соединение и после этого определить, где происходит подпитка — в головной или хвостовой части поезда. Проверить это можно контрольной лампой на рейках зажимов двух соседних вагонов, где разъединено междувагонное соединение.
Если постороннее питание оказалось в хвостовой части поезда, то, не включая междувагонное соединение, поезд можно довести до станции или пункта оборота при помощи моторных вагонов, оставшихся в головной части.
Если под напряжением окажется провод 7 головной части поезда, то необходимо из головки междувагонного соединения вывернуть палец провода 7 или отсоединить провод 7 на рейках зажимов данного вагона, опять включить междувагонное соединение, из задней кабины включить БВ и вести поезд при помощи моторных вагонов, оставшихся в хвостовой части поезда.
При наличии времени методом поочередного разъединения междувагонных соединений контрольной лампой можно определить точное место постороннего питания.
На электропоездах ЭР2, начиная с№ 1028, произошли некоторые изменения схем головных вагонов. Поэтому описанные выше случаи приемлемы для этих поездов с учетом соответствующих поправок: вместо контакта КБ в проводе 2А включен блок-контакт РКБ (рис. 240); если лампа ЛК горит и не гаснет, неисправность может быть в контактах РКБ и КБ (возможен также обрыв катушки РКБ); в цепях тормозного переключателя установлен предохранитель Пр15. При. обрыве провода 2 или отсутствии контакта в ключе ЭПК на головном вагоне аварийную схему на хвостовом вагоне можно собрать следующим образом: ключ ЭПК поставить в рабочее положение; повернуть реверсивный барабан в положение Назад.
При отсутствии контакта в кнопке Возврат БВ и РП, блок-контакте реверсивного вала, предохранителе Пр8, в контакте провода 9 блокирование контроллера машиниста в хвостовом вагоне обязательно. При этом аварийную схему собирают так: ключ ЭПК ставят в рабочее положение; поворачивают реверсивный барабан в положение Назад; рукоятку контроллера машиниста устанавливают в первое или второе положение.
Если нарушен контакт РКБ, то при собранной аварийной схеме в хвостовом вагоне поезд в движение не придет, так как блок-контакт РКБ в хвостовом вагоне останется разомкнутым. В этом случае надо восстановить контакт реле РКБ, а если произошел обрыв проводов этой цепи, поставить перемычку между проводами 4А и 2А на контроллере машиниста.
Рассмотрим случаи определения неисправностей по показаниям сигнальной лампы реле напряжения (РН). Лампа белого цвета загорается в случаях опускания или поломки одного из токоприемников, при снятии или резком пони-

Рис. 24 Г. Порядок действий машиниста при аварийном снятии напряжения с контактной сети
жении напряжения в контактной сети, при перегорании высоковольтного предохранителя или резисторов в цепи катушки реле напряжения.
Очень важно быстро установить, где произошло к. з. — на контактной сети, другом электропоезде (электровозе) или на одном из моторных вагонов электропоезда, который ведет машинист. С этой целью на дорогах устанавливается порядок дейст- '
вия локомотивной бригады и энергодиспетчера при .снятии напряжения. Например, на Московской дороге разработана Инструкция о порядке действий локомотивных бригад и энергодиспетчеров при аварийных снятиях напряжения в контактной сети. Согласно этой Инструкции при отсутствии напряжения в контактной сети машинист через 1 мин снимает нагрузку, по истечении 2 мин опускает токоприемники, не позднее 4 мин с момента снятия напряжения останавливает поезд с учетом профиля пути вблизи мест расположения телефонной связи.
Локомотивная бригада должна учитывать, что с момента снятия напряжения с контактной сети в течение 4 мин диспетчер должен опробовать контактную сеть. С 4 до 10 мин машинисту дается возможность поочередного поднятия токоприемников для выявления неисправности на электропоезде. Схематично действие локомотивной бригады при снятии напряжения показано на рис. 241.
Локомотивная бригада должна наблюдать за состоянием крышевого и подвагонного оборудования в период поочередного подъема и опускания токоприемников. Примерную зону повреждения можно установить по запаху горелой изоляции, по искрению, появлению дыма от изоляции, по видимому разрушению деталей. В случаях когда со снятием напряжения срабатывает защита на электропоезде, локомотивная бригада по отключению защиты ориентировочно может установить место повреждения. Однако очень часто снятие напряжения с контактной сети происходит сразу после подъема токоприемника или же в пути следования без срабатывания защиты на электропоезде, в этом случае можно предполагать, что к. з. произошло в токоведущих частях крышевого оборудования до БВ и высоковольтного предохранителя, а именно в изоляторах токоприемника, индуктивном,или емкостном фильтрах, в грозовых разрядниках, в стойке БВ или к. з. в кабелях. Возможно также разрушение высоковольтного предохранителя на 30 А и закорачивание на корпус ящика с высоковольтным предохранителем. Это, как правило, происходит при нека-либрованных вставках. В этих случаях особую опасность представляет пережог контактного провода при стоянке электропоезда.
В отдельных случаях локомотивной бригаде приходится использовать другие методы проверки участков цепей, сопоставлять признаки неисправности.
Примеры. Рассмотрим значения установившегося тока к. з. в трех точках силовой цепи тяговых двигателей, а затем сопоставим внешние признаки, указывающие примерное место к. з. 1. Пробой изолятора иидуктивиого фильтра иа крыше моторного вагона (рис. 242). Ток короткого замыкания в этом случае
/н.8=и/(/гКс + /г„.з. + /?кф + *Р + «и) = ^/(0,17 + 0^4-^0,009 + 0,046 + 0,023)==.
= 3000/0,389 = 7690 А,
где /?Кс ~ 0,170 Ом — сопротивление контактных проводов на участке от электропоезда до тяговой подстанции;
/ск.з ~ 0,14 Ом — переходное сопротивление в месте короткого замыкания (пробитого изолятора, кузова вагона, рам тележек и ходовых частей моторного вагона);
/>кф ж 0,009 Ом — сопротивление катушки индуктивного фильтра; /?р да 0,046 Ом — сопротивление рельсовой цепи;
/?п да 0,023 Ом — сопротивление преобразовательных агрегатов на тяговой подстанции.
2. Пробой стойки мостового контактора на 6-й позиции вала контроллера машиниста. Контактор 5 реостатного контроллера включен.
Принимаем сопротивления #кс, &к.а., Якф, Яр, #п такими же, как и в первом случае, сопротивление секции Яь -= 1,47 Ом, а сопротивление обмоток якоря и дополнительных полюсов / и // тяговых двигателей Я, п - 0,342 Ом. Тогда ток короткого замыкания
/кз 3000'(0.17 4- 0,14 + 0,009 + 0,046 -4- 0,023 4- 1,47 \- 0,342) -= 3000 2,2 да да 1363 А.
Необходимо учесть, что э. д. с. в обмотках якорей двигателей / и // отсутствуют, так как исчез магнитный поток в главных полюсах.
3. Пробой изоляции кронштейна плюсового щеткодержателя двигателя IV при введенных секциях резисторов, маневровом положении рукоятки контроллера машиниста и последовательном соединении тяговых двигателей.
Сопротивление резисторов составляет #общ = 17,66 Ом. Сопротивление обмоток якоря и дополнительных полюсов /, //, /// тяговых двигателей Я[И1П = 0,513 Ом. Тогда ток короткого замыкания
/ка = 3000/(0,17 + 0,14 + 0,009 + 0,046 + 0,023 -[- 0,513 4- 17,66) = 3000/18,56 да да 160 А.
Сопротивления в местах короткого замыкания рельсовой цени и на подстанции во всех трех случаях взяты одинаковыми для удобства подсчета. Сопротивление проводов и аппаратов моторного вагона не учитываем, так как оно сравнительно мало.
Во всех трех случаях короткого замыкания будут разные признаки. В первом случае к. з. обязательно будет сопровождаться исчезновением напряжения в контактной сети, искрением на крыше, прекращением работы всех вспомогательных машин. Загорится сигнальная лампа РН на пульте управления, стрелка вольтметра покажет нуль. Однако сигнальные лампы защитных аппаратов электропоезда будут указывать на исправное состояние цепей и машин.
Во втором случае отключаются БВ и реле перегрузки РП1, напряжение с контактной сети при этом может и не сниматься, вспомогательные машины будут работать. Иногда возможно и исчезновение напряжения в контактной сети.
В третьем случае при маневровом или других положениях рукоятки контроллера машиниста возможно срабатывание БВ на моторном вагоне через дифференциальное реле. Напряжение с контактной сети сниматься не будет.
Итак, внешними признаками короткого замыкания на электропоезде может служить срабатывание защиты, изменение показаний сигнальных ламп и приборов, а также отключение вспомогательных машин. Если, например, снятие напряжения происходит после включения выключателя управления, то наи-

Рис. 242. Схема прохождения токов при возникновении короткого замыкания в трех точках силовой цепи моторного вагона
более вероятно короткое замыкание в междувагонном соединении, цепях отопления, высоковольтных контакторах вспомогательных машин. Снятие напряжения после восстановления БВ указывает на короткое замыкание в силовой цепи за быстродействующим выключателем.
Локомотивной бригаде необходимо помнить, что загорание сигнальной лампы РН еще не говорит о снятии напряжения с контактной сети, необходимо обращать внимание на вольтметр пульта управления или попробовать включить контроллер машиниста, чтобы убедиться, что напряжение в контактной сети отсутствует.
По сигнальной лампе РБ можно определить; боксование колесных пар на любом из моторных вагонов; разрушение тягового привода между колесной парой и тяговым двигателем; заклинивание одной из колесных пар; сгорание одного из резисторов реле боксования; неправильное соединение выводов одного из тяговых двигателей; возникновение генераторного режима.
Загорание лампы РБ сразу после включения контроллера и погасание после установки контроллера в нулевое положение может свидетельствовать о перегорании резисторов в цепи катушки РБ. Вагон, на котором сгорел резистор реле РБ или неправильно соединены выводы тягового двигателя, отыскивают поочередным отключением РУМ на моторных вагонах.
Генераторный режим тяговых двигателей. В результате пробоя изоляции один или несколько тяговых двигателей начинают работать генераторами, подавая напряжение на остальные соединенные с ними двигатели. Генераторный режим опасен для тяговых двигателей чрезмерно большим током, который разрушает ламели коллекторных пластин. При генераторном режиме машинист может ощущать незначительное подтормаживание поезда с легким подергиванием состава, под колесами видно искрение, а на загрязненных мазутом рельсах — дым. При осмотре колесных пар по кругу катания наблюдаются небольшие ползуны глубиной 0,2—0,4 мм. Генераторный режим возникает чаще всего при пробое изоляции /// тягового двигателя, но он возможен также при заедании электропневматического контактора П1-2 во включенном состоянии, замыкании силовых проводов тяговых двигателей ///, IV или замыкании пусковых резисторов.
Во всех перечисленных случаях генераторного режима не будет, если реверсоры на моторных вагонах будут развернуты в направлении движения поезда. Поэтому необходимо следить за разворотом реверсоров при смене кабины машиниста. Необходимо учитывать, что выключением разъединителей цепей управления неисправного моторного вагона разрывается цепь проводов 11 и 12, с помощью которых подается питание для разворота вала реверсора. Поэтому при неисправности моторного вагона лучше выключить пакетный выключатель БВ вместо РУМ. Для исключения горения ламп БВ и ЛК необходимо подложить изоляцию под блок-контакты 60-60А я 61-61А в РУМ моторного вагона.
Возникновение генераторного режима вследствие повреждения /// тягового двигателя поясняется рис. 243 и 244. В нормальном режиме при движении поезда Вперед (см. рис. 243) ток проходит по цепи: обмотка якоря /// двигателя в направлении ЯЗ к ЯЯЗ и IV тягового двигателя от Я4 к ЯЯ4, контактор реверсора В5, обмотки возбуждения /// и IV тяговых двигателей соответственно от КЗ к К КЗ и от К4 к КК4, контактор реверсора В7 и далее «земля».
При генераторном режиме (см. рис. 244) реверсивный барабан развернут в противоположную сторону, т. е. в направлении Назад и замкнуты силовые контакторы В6, В8, ток при этом пойдет от /// тягового двигателя через силовой контактор реверсора В8, обмотки возбуждения /// и IV тяговых двигателей от КЗ к ККЗ и от К4 к КК4, через контактор реверсора В6, обмотки якоря IV н III тяговых двигателей в обратном направлении от ЯЯ4 к Я4 и к ЯЯЗ, т. е. направление тока в обмотках возбуждения осталось-прежним, а в обмотке

Рис. 243. Прохождение тока нормального режима при движении поезда вперед

якоря изменилось на противоположное. Противоположное направление токов в обмотке якоря IV тягового двигателя соответствует движению вагона Назад, следовательно, IV тяговый двигатель будет стремиться вращаться в сторону, противоположную движению поезда. Неисправность одного из тяговых двигателей приведет к повреждению другого, спаренного с ним, и появлению ползунов на поверхности катания бандажей колесных пар.
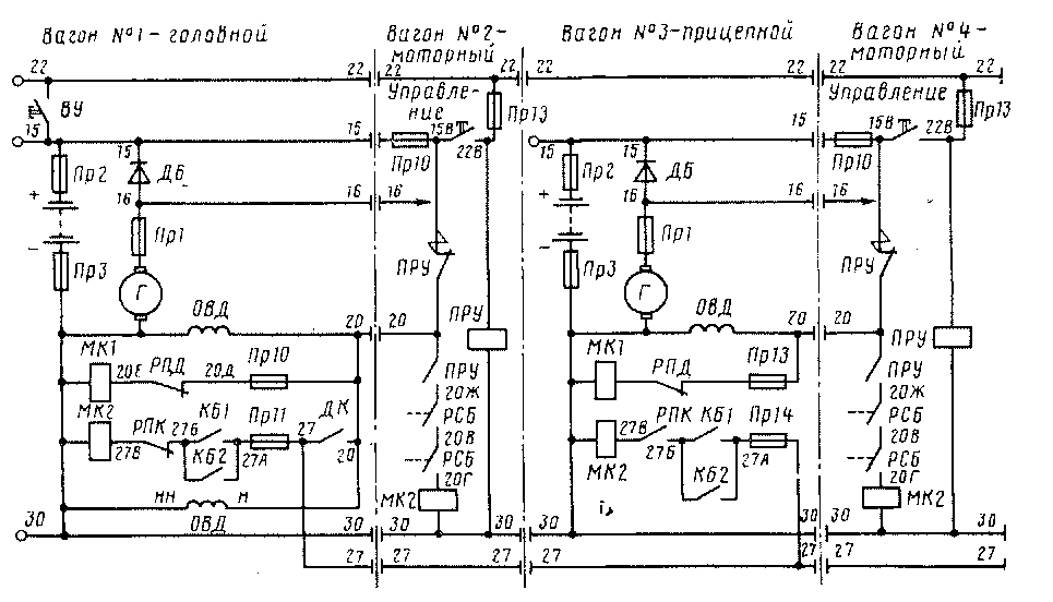
Некоторые неиспразности на вагонах электропоезда ЭР2. При неисправностях на головном вагоне в электрических цепях регулятора напряжения, аккумуляторной батареи, генератора управления или преобразователя, при неисправности междувагонного соединения или контактора МК2 (рис. 245) на моторном вагоне и в других случаях потери питания электрических цепей из головного вагона машинист переводит эти цепи на питание от промежуточной секции или хвостового вагона.
Если на моторном вагоне перегорел предохранитель Пр 10, напряжение на провод 20 можно подать по проводу 22 через предохранитель Нр13, провод 22В, контакт выключателя управления моторного вагона, провод 15В, контактор ПРУ. Если перегорел предохранитель Пр13, питание катушки ПРУ данного вагона осуществляется по цепи: провод 15, предохранитель ПрЮ, провод 15В, контакт выключателя управления, провод 22В, катушка ПРУ, провод 30. _
Если на поезде вышел из строя генератор управления головного вагона, то собирают временную схему питания цепей управления от батареи и генера-
Рис. 244. Прохождение генераторного тока при повреждении III тягового двигателя (движение вагона вперед, реверсор развернут на вагоне назад)

Рис. 245-. Объединенная схема цепей управления вспомогательными машинами электропоезда ЭР2
тора ближайшего моторного вагона. С этой целью на моторном вагоне Л1 4 включают пакетный выключатель Управление, при этом замыкается цепь питания поездного провода 22 от секционного провода 15.
Предохранители ПрЮ и Пр13, рассчитанные на ток 15 А, заменяют предохранители на 35 А. При неисправности генератора управления на промежуточном вагоне происходит глубокий разряд аккумуляторной батареи. Для предотвращения этого на моторном вагоне, относящемся к данной секции, включают пакетный выключатель Управление. В результате аккумуляторная батарея будет подзаряжаться по поездному проводу 22 от генератора управления головного вагона. Если повреждена аккумуляторная батарея промежуточного вагона, то для возбуждения вспомогательных машин данной секции необходимо включить пакетный выключатель Управление на моторном вагоне. Но для того чтобы управление вспомогательными машинами осуществлялось из кабины машиниста, необходимо вынуть предохранитель ПрЮ. При повреждении батареи или ее глубоком разряде на одной из секций для облегчения возбуждения вспомогательных машин на поврежденной секции выключают рубильник аккумуляторной батареи.
При нарушении контактов РСБ в междувагонных соединениях включение силового контактора МК2 моторного вагона можно обеспечить с помощью перемычки на соединительной рейке реостатного контроллера между проводами 20Ж и 20Г.
Другие возможные неисправности, их признаки, возможные причины и способы устранения приведены ниже.
1. На всем поезде не восстанавливаются БВ.
Сигнальная лампа БВ на пульте управления не гаснет. Перегорел предохранитель Пр8, нарушен контакт в кнопке Возврат БВ и РП (см. рис. 239). Устранить неисправности. В крайнем случае восстановить БВ из хвостового вагона или кратковременно подать напряжение с. провода 15 на провод 7.
2. На одном из моторных вагонов не восстанавливается БВ.
При восстановлении БВ сигнальная лампа БВ на пульте управления гаснет и снова загорается. Не получает питание провод 15 неисправной секции, не включен рубильник аккумуляторной батареи либо перегорел ее предохранитель Пр1 или Пр2 (см. рис. 245), перегорели предохранители моторного вагона ПрЮ и Пр13, нарушен блок-контакт ДР в цепи проводов 20А и 20Б из-за подгорания контактов вследствие неисправности конденсаторов С2 и СЗ. При пробое этих конденсаторов перегорает предохранитель ПрЗ. Возможно ослабление пружины ДР, которая удерживает якорь в среднем положении. Перекос или загрязнение механизма возврата БВ (на якоре скопилось много пыли).
Отыскать и устранить неисправности.. Временный выход из положения: попробовать включить пакетный выключатель Управление на неисправном вагоне и восстановить БВ.
3. На одном из вагонов не включаются контакторы JIK1 и JIK2.
В рабочем положении контроллера машиниста горит лампа JIK. Проверить и зачистить блок-контакты БВ, РН, АВУ, РК1. Проверить давление в тормозной магистрали. Если неисправность возникла во время движения поезда, необходимо включить кнопку Ручной пуск и перевести вал РК на 1-ю позицию. В пункте оборота проверить контакты на РУМ, в цепи провода 2 — блок-контакт 2-2А, в цепи провода 9 — блок-контакт 9-9А и блок-контакт 22-22А. При неисправности блок-контакта в АВУ временно его зашунтировать. Проверить работу КСП и надежность блок-контактов РК-2-18 и РК1 в цепи 9Б-9А. Попробовать вручную замкнуть мостовой контактор, если после этого замкнется Л К, то неисправность в блок-контакте РК1. Попробовать включить контактор ЛК, нажимая на грибо.к вентиля. Этим проверить наличие сжатого воздуха и отсутствие механических заеданий в приводе.
4. На одном из моторных вагонов срабатывают БВ и РП, буксуют колесные пары (на чистых рельсах).
По амперметру наблюдается бросок тока до 260—300 А. Неисправно реле ускорения (якорь РУ заскочил за регулирующий болт и др.). Устранить неисправность.
5. На одном из моторных вагонов при автоматическом пуске срабатывают БВ и РП.
Реле ускорения не контролирует нормальный ток уставки, так как работает без подъемной катушки. Необходимо проверить надежность контактов на РУМ провода 22, целостность подъемной катушки РУ, надежность контакта ПВ1. Временно можно следовать, применив ручной пуск.
Замедленное выключение мостового контактора или неправильное положение блокировочных контакторов П1-2, вследствие чего переходные контакторы и мостовой остаются замкнуты одновременно. При таком положении реостатный контроллер доходит до 16-й позиции, на которой в силовой цепи создается контур короткого замыкания (см. рис. 171). В этом случае ток короткого замыкания пройдет по цепи: токоприемник, индуктивно-емкостный фильтр, главный разъединитель Б В, ЛК1-2, РП, переходный контактор Я/, контакторы реостатного контроллера 8 и 10, мостовой контактор, контакторы реостатного контроллера 9 и 7, переходный контактор П-2 и далее через счетчик на «землю». В пути следования можно пользоваться ручным пуском или отключить неисправный моторный вагон. В пун к 1 с оборота устранить неисправность, отрегулировать блок-контакт 11Ж-9 и добиться четкой работы мостового контактора.
6. При поднятых токоприемниках электропоезда не работают вспомогательные машины.
Горит лампа БВ. На всех моторных вагонах перегорели предохранители ПрЮ и Пр13. Отсутствует напряжение на проводе 22 в выключателе управления ВУ, отсутствует контакт в низковольтном междувагонном соединении между головным и моторным вагонами. Признаки обрыва провода 22 следующие: при нажатии кнопки Возврат БВ и РП сигнальная лампа гаснет и загорается вновь; при проверке наличия напряжения на проводе 22 в кабине машиниста контрольная лампа будет гореть, в моторном вагоне лампа не горит, отсутствует напряжение на проводе 22. Для устранения неисправности заменить перегоревшие плавкие вставки; включить ручку управления в моторном вагоне, усилив предохранители ПрЮ и Пр13 до 45 А; место обрыва провода 22 обойти, используя свободный провод, сделать это можно в пункте оборота. Временно включить выключатель управления в хвостовой кабине поезда.
7. При постановке реверсивной рукоятки в положение Вперед, а главной рукоятки контроллера машиниста в положение М электропоезд движется назад, при этом наблюдается «звонковая» работа контакторов батареи.
Постороннее питание провода 12 в головной части поезда или провода И в хвостовой части поезда.
При наличии времени, разъединив междувагонные соединения или отсоединив провода от реек с зажимами, отыскать вагон, на котором осуществляется постороннее питание, при этом на прицепных вагонах осмотреть реле ПРА. При отсутствии времени опустить все токоприемники электропоезда, затем поочередно поднять на двух или трех моторных вагонах токоприемники, подложить изоляцию на РУМ под блок-контакт 12-12А провода 12. В пути следования эту операцию можно продолжить на других вагонах. При этом необходимо обращать внимание, как расположены моторные вагоны. Если токоприемники в передней части вагона, изоляцию подкладывают под провод 12, если в задней части вагона, то изоляцию подкладывают на РУМ под блок-контакт в проводах 11-11А.
8. При постановке реверсивной рукоятки в положение Вперед, а главной рукоятки контроллера в положение М:
1) поезд медленно набирает скорость, везет один или несколько вагонов;
2) движение поезда вперед не происходит, один или несколько вагонов двигаются назад. Происходит «звонковая» работа контакторов батареи.
Сигнализация Л К работает нормально, т. е. лампа Л К загорается и гаснет.
Одновременно подается напряжение на провода 11 и 12 вследствие их замыкания или постороннего питания. При включенном контроллере убедиться в наличии напряжения на указанных проводах.
Отыскать неисправный вагон методом, указанным выше, и устранить неисправность.
При отсутствии времени подложить изоляцию на РУМ под провод 12 на моторных вагонах, стоящих токоприемником вперед по направлению движения, и под провод //на моторных вагонах, стоящих в поезде токоприемниками назад.
9. При постановке главной рукоятки КМ в первое положение электропоезд продолжает движение в маневровом режиме. Скорость поезда не развивается более 40 км/ч. Причинами неисправности могут быть: отсутствие блок-контакта КЗ в контроллере машиниста (Кб на электропоездах до № 1028); обрыв провода 10 между головным и моторным вагонами, потеря контакта в междувагонных соединениях провода 10. Необходимо поставить перемычку с провода 2 на провод 10 на головном или моторном вагоне. В хвосте поезда поставить перемычку с провода 2 на провод 10 или заблокировать контроллер в хвостовом вагоне.
!0. При включении ВУ или главной рукоятки контроллера машиниста в одно из рабочих положений перегорает низковольтный предохранитель П8 (В У) в головном вагоне.
Поезд теряет управление. Наличие короткого замыкания в одном из поездных проводов 1-5, 10-12 и наличие «земли» в проводе 9 или 30. При отыскании неисправности необходимо определить, в каком положении рукоятки контроллера происходит перегорание предохранителя ВУ. Рассмотрим три варианта:
1) предохранитель перегорает после включения ВУ, рукоятка контроллера машиниста находится в нулевом положении. Это означает, что короткое замыкание произошло в проводе К4. При наличии времени отыскать к. з. и устранить неисправность. При отсутствии времени подложить изоляцию под контакт К4 в головном вагоне и соединить временной перемычкой на рейке с зажимами провода 2 и 22;
2) предохранитель перегорает после постановки реверсивной рукоятки в положение Вперед или Назад. Главная рукоятка находится в нулевом положении. Это означает, что к. з. в плюсовой шине главного вала контроллера машиниста в кулачковых контактах К4, 5-9. Отыскать место к. з. и устранить неисправность. При отсутствии времени сделать то же, что и в варианте 1;
3) предохранитель перегорает после постановки рукоятки главного вала контроллера в одно их рабочих положений.
Осмотреть контроллер машиниста. К. з. вероятно из-за непосредственного касания контактов КМ (выпадания валика или ослабления). При обнаружении неисправности устранить. Если в контроллере к. з. не обнаружено, необходимо определить, при каком положении рукоятки контроллера перегорает предохранитель Пр8. Если это происходит при втором, третьем или четвертом положении, следовать до конечного пункта, поставив рукоятку контроллера в первое положение.
При к. з. в проводах 2 или 11 необходимо их разъединить в коробке зажимов радиорубки головного вагона и подать напряжение в радиорубке хвостовой кабины с проводов 15, 16 на провод 2 или 12. Необходимо учитывать, что в случае к. з. в хвостовых вагонах предохранитель ПрЗ может и не перегорать, но при включении контроллера будет гореть лампа Л К. Это говорит о том, что в электропоезде некоторые вагоны не везут. В этом случае можно разъединить

междувагонное соединение в середине поезда и осуществлять движение на исправной головной части поезда. В пункте оборота отыскать неисправный вагон, отсоединить провод с двух сторон и использовать вместо него один из свободных проводов.
11. При включении контроллера машиниста один из моторных вагонов не везет.
Сигнализация работает нормально. Сигнальная лампа ЛК загорелась и погасла. В поезде ощущаются толчки или оттяжки. После разгона поезда на автоматическом режиме включить кнопку Ручной пуск и поставить главную рукоятку контроллера в положение 2 А, а затем ЗЛ. При этом на пульте управления загорится сигнальная лампа ЛК, это говорит о том, что на одном из моторных вагонов не включился мостовой контактор. На стоянке необходимо зачистить блок-контакты 11Б-11Д, ЛК1-2, 11Ж-9А, П1-2, проверить крепление проводов к зажимам.
12. При отправлении с конечного пункта после смены кабины один из моторных вагонов не везет.
Горит сигнальная лампа ЛК. В поезде ощущаются толчки или оттяжки. Один из реверсоров нечетко зафиксировался в положении Вперед или Назад и соответствующий блок-контакт 11А-11Б или 12А-12Б не включился. На остановочном пункте затормозить электропоезд, реверсивную рукоятку перевести в положение Назад, главную рукоятку кратковременно поставить в положение М, после чего вновь развернуть реверсоры в положение Вперед.
13. При постановке главной рукоятки КМ в положение М срабатывают Б В и РП на одном из моторных вагонов.
Сигнальные лампы БВ и РП на пульте управления загораются при включении КМ. После восстановления БВ и РП при включении КМ вновь срабатывает защита. Причины: короткое замыкание в цепи пусковых резисторов; в одном из тяговых двигателей (замыкание проводов на корпус, пробой кронштейна или изоляторов, междувитковое замыкание обмоток дополнительных полюсов или якоря, пробой или замыкание проводов в соединительной коробке); пробой стоек линейных или мостовых контакторов, одного из индуктивных шунтов на корпус, чаще всего первого, так как он находится под напряжением 3 кВ. Неисправный вагон необходимо отключить (см. с. 156), по прибытии в пункт оборота осмотреть указанное оборудование, определить причину и по возможности устранить неисправность. Например, при пробое индуктивного шунта необходимо отсоединить один из концов провода 213 (215) со стороны реверсора или реостатного контроллера и снять провод 30 с контактора III1-2, как показано на рис. 246. После этого указанный вагон можно эксплуатировать без ослабления возбуждения.
14. При постановке главной рукоятки КМ в третье положение срабатывает БВ и РП на одном из моторных вагонов.
На пульте управления загораются сигнальные лампы Б В и РП. Причины: короткое замыкание в III или IV тяговом двигателе, междувитковое замыкание индуктивного шунта; межэлементное замыкание пусковых резисторов, медленное отключение мостового контактора.
Временно подложить изоляцию под контакт провода 3 в РУМ на неисправном вагоне.
По прибытии в пункт оборота осмотреть указанное оборудование неисправного вагона, определить причину и по возможности устранить неисправность.
15. При большой скорости движения срабатывает- БВ и РП.
Иногда возможно кратковременное загорание лампы РБ. Причины: неудовлетворительное состояние двигателей (неисправные подшипники, сильное биение, выработка коллектора, плохой токосъем на коллекторе или межламельное замыкание), большая разница в скоростных характеристиках тяговых двигателей, по прибытии в депо сделать запись в книгу ремонта, так как на линии устранить невозможно.
16. Самопроизвольное вращение валов РК на всех моторных вагонах поезда.
Сигнальная лампа ЛК периодически загорается и гаснет. Аварийное замыкание одного из контактов РК. Вести поезд можно, применяя ручной пуск. Устранить замыкание контактов.
17. Самопроизвольное вращение вала РК на одном из моторных вагонов при первом и третьем положениях рукоятки КМ.
Сигнальная лампа Л К периодически загорается и гаснет. Нарушение блок-контакта контакторов М и П1-2 в цепи проводов 9Б-9А. Устранить неисправности блок-контактов М и П1-2.
18. Самопроизвольное опускание токоприемников на всех вагонах.
На одном из моторных вагонов открыта лестница или высоковольтный шкаф, произошло замыкание блокировки лестницы или высоковольтного шкафа и подается питание на провод опускания токоприемника.
19. На всем электропоезде не работают вспомогательные машины.
При загорании сигнальной лампы РН на пульте управления и нулевом положении стрелки вольтметра возможно снятие напряжения с контактной сети. Локомотивная бригада действует согласно Инструкции о снятии напряжения.
20. Не работают вспомогательные машины на одной секции.
Горит сигнальная лампа РН на пульте управления. Сгорел высоковольтный предохранитель вспомогательных машин. (При включенном контроллере горит лампа ЛК. При перегорании предохранителя на головном вагоне стрелка вольтметра будет находиться на нуле.) Заменить предохранитель ВП. Временно для обеспечения работы тяговых двигателей на неисправной секции включить выключатель Проверка схемы в цепи проводов 2В-2Г и тем самым деблокировать контакт РН.
21. После кратковременного снятия напряжения с контактной сети и повторной его подачи отключается РПД.
Одновременное включение делителя напряжения и двигателя компрессора из-за того, что контакт КБ1 или КБ2 в проводах 27А-27Б не успел отключиться. Восстановить реле перегрузки РПД.
22. Поезд в движение не приводится.
Заменить перегоревшие плавкие вставки предохранителей Пр13.
23. При включении рубильника аккумуляторной батареи перегорают предохранители Пр2 и ПрЗ.
Неисправен полупроводниковый вентиль ДБ (происходит запуск генератора в режиме двигателя). Вынуть предохранитель генератора управления Пр1 и после замены перегоревших предохранителей вновь включить рубильник батареи. Если предохранители не перегорели, то неисправен вентиль ДБ. Если предохранители Пр2 и ПрЗ снова перегорают, то произошло короткое замыкание в проводе 15 данной секции. Подложить изоляцию под контактор Г или отключить полупроводниковый вентиль ДБ от проводов 15, на моторном вагоне головной секции вынуть предохранитель ПрЮ и усилить предохранитель Пр13, включить ВУ указанного вагона. В кабине хвостового вагона включить также выключатель управления (питание контроллера будет осуществляться по проводу 22 через контакт РБЛ и предохранитель Пр8).
На электропоездах ЭР2 до № 1028 для управления автоматическими дверями и прожектором необходимо поставить перемычку с провода 16Б на провода за предохранителями Пр19 и Пр20, предварительно вынув эти предохранители. На электропоездах с. № 1028 перемычку необходимо ставить с. провода 22 ВУ на провод 15ДП, предварительно вынув предохранитель Пр15. Для управления токоприемниками в пути следования, если возникнет необходимость в их опускании, можно поставить также перемычку на провод 15Х. Выключатель управления в головной кабине при такой неисправности не включают,
24. При работающем делителе напряжения отсутствует напряжение на зажимах провода 16.
Перегорел предохранитель Пр1. Возможно размагничивание обмотки возбуждения генератора управления. Заменить предохранитель Пр1. Подачей напряжения на правую или среднюю щетку регулятора напряжения восстановить нормальную работу обмотки возбуждения генератора.
25. Генератор управления дает завышенное напряжение.
Уменьшился зазор между подвижным и неподвижным контактами регулятора напряжения. Сгорел один из двух резисторов, соединенных параллельно в проводах Р93-Р96 (или оба). Сгорел резистор в проводах Р97-Р92.
26. Напряжение генератора становится пульсирующим и немного завышенным.
Сгорел резистор в проводах Р94-Р95. Заменить резисторы.
27. На электропоезде при поднятых токоприемниках не работают вспомогательные машины.
Сигнальные лампы на пульте управления не горят. Возможно перегорание низковольтных предохранителей Пр2 и ПрЗ (на 60 А) аккумуляторной батареи головного вагона, нарушилась целостность цепи аккумуляторной батареи головного вагона или отсутствует контакт в зажимах батарейного рубильника.
Целостность цепи аккумуляторной батареи можно проверить включением выключателя освещения служебного помещения в радиорубке. Если лампа в служебном помещении будет гореть, то цепь аккумуляторной батареи исправна.
Предохранители Пр2 и ПрЗ могут перегореть из-за нарушения электрической цепи головного вагона. Для определения провода, где происходит короткое замыкание, необходимо проверить, в какой период перегорают предохранители.
Если при включении прожектора или автоматических дверей предохранители не перегорают, то провод 15 исправен. Если предохранители Пр2 и ПрЗ перегорают после включения ВУ, то короткое замыкание в проводе 22. Если при включении выключателя служебного помещения лампа не горит и отсутствует напряжение на контактах выключателя, необходимо проверить целостность цепи аккумуляторной батареи на нижних контактах контакторов батареи КБ1 и КБ2 методом попеременного включения их вручную так, чтобы замыкались верхние контакты КБ. Появление напряжения говорит о том, что нарушена цепь одной из последовательно-параллельных групп. Если данная проверка не дает результата, необходимо открыть ящик аккумуляторной батареи и проверить целостность и крепление перемычки средней (последовательной) группы.
Неисправности в электрических цепях электропневматического тормоза.
Эти неисправности можно обнаружить контрольными лампами, а также в процессе торможения, при опробовании тормозов в пункте отправления или в пути следования, при проверке их на эффективность действия. Часто неисправности
возникают из-за неудовлетворительного состояния контактной поверхности сегментов, крепления и нажатия блок-контактов.
Неисправности сегментного контроллера крана машиниста чаще всего заключаются в отсутствии контакта между пальцами и сегментами из-за недостаточного нажатия блок-контактов или подгара сегментов. Неисправность устанавливают по отсутствию напряжения на отпускном или тормозном проводе. Такие же неисправности могут быть и в тормозном переключателе. Возможно также перегорание предохранителя Пр9, рассчитанного на ток 6 А. Для тормозного переключателя характерными неисправностями являются обрыв катушки или подводящих проводов, нарушение контакта в тормозном переключателе хвостового вагона.
При постановке тормозного переключателя в головном вагоне в положение 1 может прийти в действие электропневматический тормоз. Причинами такой неисправности могут быть замыкание сегментов в контроллере крана машиниста головной кабины управления, замыкание подводящих проводов, пробой конденсаторного блока СЗ-С4.
Если при переводе ручки крана машиниста в положение II (электрическая перекрыша) перегорает предохранитель Пр9, то произошло замыкание поездного провода 49 с минусовым проводом 43 или 30. Для определения провода, с которым имеется замыкание, тормозной переключатель хвостового вагона устанавливают в нейтральное положение П. Если после этого предохранитель Пр9 не перегорает, то поездной провод 49 замкнут с минусовым проводом 43.
Отыскать замкнувшиеся друг с другом провода можно несколькими способами. Отыскание замыкания между проводами 49 и 43 можно осуществлять прозвоночной лампой с контроллера крана машиниста. Для этого тормозной переключатель устанавливают в положение I, а контроллер крана машиниста переводят в положение П. При разъединенных междувагонных соединениях прежде всего определяют, в какой части поезда произошло замыкание. Лампу для прозвонки соединяют с зажимами проводов 49 и 30, затем соединяют и разъединяют междувагонные соединения. Если лампа не горит после их соединения, то перегорел предохранитель Пр9.
При отыскании аварийного соединения проводов 43 и 49 можно применить способ обнаружения перегоревшего предохранителя Пр9 по сигнальным лампам К и О пульта управления. Для этого необходимо в радиорубке на рейках зажимов соединить перемычкой провода 30 и 43. После присоединения неисправного вагона предохранитель Пр9 перегорит, а лампы К и О погаснут.
Если после постановки ручки крана машиниста головного вагона в положение II или III происходит полное служебное торможение, то причиной этого может быть замыкание друг с другом отпускного и тормозного сегментов в контроллере крана машиниста (см. рис. 224).
При обрыве тормозного провода 47 место обрыва тормозного провода можно обойти, но для этого необходимо предварительно принудительно замкнуть якорь блок-реле БР или на блок-контакт поставить перемычку.
Электротормоз будет работать нормально, но без контроля обрыва других проводов. В случае обрыва провода 45 можно обойти место обрыва так же, как и при обрыве провода 47. Замкнуть блок-контакты реле БР в радиорубках головного и хвостового вагонов.
Питание провода 45 будет осуществляться от провода 47 через замкнутый блок-контакт 45-47 блок-реле БР.
Некоторые неисправности электропневматического тормоза электропоезда ЭР2, начиная с № 1028, приведены в табл. 9.
ТаблицаЭ
Продолжение габл. 9
|
Характер неисправности |
Признак неисправности. ее возможные причины и способы устранения |
|
па Т не горит, реле РКО в хвостовом вагоне не срабатывает При торможении происходит резкая оттяжка хвостовой части поезда с последующим уравновешиванием тормозных сил, причем при всех положениях ручки крана машиниста ни одна сигнальная лампа контроля тормозных проводов не горит |
за местом обрыва провода 49, отпускают тормоза. В поезде возникают значительные реакции, тормозной эффект резко уменьшается. При продолжительной выдержке ручки крана машиниста в тормозном положении у вагонов, находящихся за местом обрыва, срабатывает пневматический тормоз. Место обрыва отыскивается так же, как и при обрыве провода 47 Произошел обрыв провода 43 (см. рис. 224). До места обрыва будет действовать пневматический тормоз, за местом обрыва — электропневматический тормоз. Из-за того что в хвостовой части поезда тормоза будут приходить в действие быстрее, чем в головной, появятся резкие оттяжки. Для отыскания места обрыва провода 43 используют тот же метод, что и при обрыве провода 47 |
|
|