Для радиотелефонной связи машиниста с диспетчером и машинистами других поездов установлена радиостанция 42РТМ-А2-ЧМ (вариант КВ с двойным управлением).
' Радиостанция размещена в каждом головном вагоне поезда с установкой коротковолновой антенны на крыше вагона. Радиостанция настроена на частоты 2130 кГц (1-й канал) и 2150 кГц (2-й канал).
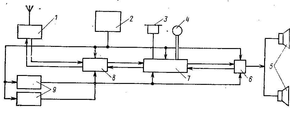
В комплект радиостанции (рис. 106) входят:
приемопередатчик;
блок низкочастотных и вызывных устройств; блок питания; два пульта управления; антенно-согласующее устройство; два громкоговорителя; тройник и микротелефонная трубка МТ-50.
В кабине машиниста установлены пульты управления — для машиниста (с микротелефоном) и для помощника. Громкоговорители размещены на задней стенке кабины. Все остальные блоки находятся в служебном тамбуре в шкафу № 3, антенно-согласующее устройство — над шкафом № 2.
Радиостанция обеспечивает:
работу с одного или двух пультов управления;
переключение в режимы: дежурный прием, прием, передача^;
посылку вызова с самоконтролем и прием вызовов со световой "индикацией и с последующей передачей контроля;
переключение каналов;
ступенчатое изменение громкости;
световую индикацию включения питания;
возможность подключения аппаратуры ТУ-ТС.
При монтаже, обслуживании и эксплуатации радиостанции следует соблюдать правила техники безопасности.
Внимание! Для предупреждения выхода из строя приемопередатчика радиостанцию без антенны не включать. Подключение радиостанции производить-отдельными проводами сечением не ме нее 1,5 мм2 непосредственно к аккумуляторной батарее.
Надежность соединения снижения антенны КВ с кузовом ва гона должна быть проверена электрическим методом. Рамы амор тизационные и блоки радиостанции должны быть надежно соеди нены с кузовом вагона.
Запрещается вести какие-либо работы с антенной при нахождении электропоезда под контактной подвеской, вскрывать крышки блоков при включенной радиостанции.
При подготовке проверьте правильность и надежность подключения антенного фидера и межблочных кабелей."
Проверьте соответствие лредохранителей номинальным значениям в блоке питания (блок 4М) и соответствие шильдика на блоке напряжению питающей сети.
Установите микротелефон в держатель на пульте управления так, чтобы телефон плотно прилегал к подвижной части держателя, а микрофон удерживался неподвижной частью держателя. Вставьте колодку микротелефона в разъем на пульте так, чтобы кабель, выходящий из колодки, был направлен вниз. Если колодка не вхо-

Рис. 106. Структурная схема радиостанции 42РТМ-А2-ЧМ / — антенно-согласующее устройство (блок «); 2 — блок питания (блок 4М); 3, 4 — мнкро-телефонная трубка; 5 — громкоговорители (блоки 7); 6 — тройннк (блок 14); 7 — блок низкочастотных и вызывных устройств (блок ЗС); « — приемопередатчик КВ (блок 2); 9 — пульты
управлення (блоки 5)
дит в разъем, не прилагайте больших усилий: можете сломать колодку; проверьте, правильно ли ее вставляете.
Поставьте переключатель МТ-ТУ-ТС на пульте управления в положение МТ.
Произведите проверку общей работоспособности радиостанции.
Технические данные, порядок работы и рекомендации по техническому обслуживанию радиостанции изложены в «Техническом описании и инструкции по эксплуатации», прилагаемой к каждому комплекту радиостанции.
|
|