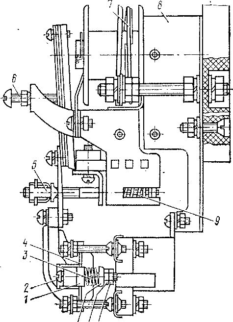
Назначение и технические данные. Электромагнитное токбвое реле (по схеме ТРФ) предназначено для защиты асинхронного расщепителя фаз от аварийных режимов. Реле имеет магнитопровод 8 (рис. 85), токовую катушку 7,' основную регулировочную пружину 9, один размыкающий и один замыкающий контакт 4 мостикового типа. Замыкающий контакт в схеме не используется, он служит для увеличения коэффициента возврата реле. Узел замыкающего контакта с целью обеспечения возможности получения высокого коэффициента возврата и его регулировки содержит регулировочную пружину 3, винт 2, скобу /, направляющую шайбу 12, 'регулировочную гайку 11 и контргайку 10.
Регулировка уставки реле по току на включение осуществляется изменением натяжения основной пружины, а уставки на отключение — изменением натяжения пружины замыкающего контакта.
Технические данные реле:
Уставка по току на включение..... 170±5 А
Уставка по току на отключение не менее . 150 А Средний зазор якоря в отключенном состоянии .............. 2,4±0,3 мм
Катушка:
ток номинальный .......< 150 А
частота...........,- . 50 Гц
число витков.......... 2
площадь сечения провода, не менее . * 28 мм2
Технические данные контактов:
Контакт...........Размыка- Замыкающий ющий
«Ток номинальный, А...... 0,3 1,0
Раствор, мм, не менее...... 0,5 1,0
Провал, мм ■...........1,6±0,4 0,6±0,2
Нажатие начальное, кгс, не менее . 0,07 0,6
Уход в эксплуатации. При техническом обслуживании ТО-3 проведите внешний осмотр реле, убедитесь в отсутствии механических повреждений, проверьте наличие провалов и растворов контактов. Убедитесь, что не нарушено пломбирование.
При текущем ремонте ТР-1 выполните проверку реле на соответствие техническим данным и при необходимости регулировку и чистку контактов.
Регулировку реле проводите в следующем порядке:
установите калиброванные прокладки 0,5 ± 0,05 мм между якорем и ярмом и 1,0 ± 0,1 мм между якорем и упорным винтом 6 (см. рис. 85). Перемещая упорный винт, прижмите прокладки таким образом, чтобы якорь зафиксировался в промежуточном положении, после чего зафиксируйте винт;
отрегулируйте контакты: неподвижные контакты с помощью гаек установите таким образом, чтобы подвижный замыкающий контакт касался обоих неподвижных контактов без провала,

а размыкающий имел зазор
0,1...0,3 мм; зафиксируйте не- . . Рис. 85. Токовое реле подвижные контакты;
снимите прокладку между упорным винтом и якорем и убедитесь, что при нажатии якоря происходит одновременное касание обеих сторон подвижного замыкающего контакта без провала,, после чего снимите вторую прокладку;
проверьте провал размыкающего контакта;
с помощью гайки 5 отрегулируйте натяжение пружины 9, добиваясь требуемого тока срабатывания; зашплинтуйте гайку;
гайкой 11 отрегулируйте натяжение пружины замыкающего контакта, добиваясь требуемого тока отпадания; гайку 11 зафиксируйте контргайкой 10;
после затягивания всех фиксирующих элементов проведите трехкратную проверку уставок, после чего опломбируйте реле.
Проверьте уставки при питании от регулируемого источника синусоидального тока, обеспечивающего плавное увеличение и уменьшение тока. Измерьте ток амперметром электромагнитной системы, класс точности не ниже 0,5, предел измерения не более 300 А.
Проводить какие-либо регулировки реле без проверки уставок запрещается.
|
|