Реле (по схеме ПТВ1—ПТВ4, РН1, РН2, РМН, последнее на моторном вагоне) предназначено для коммутации электрических цепей при напряжении до 220 В постоянного и переменного тока частотой 50 Гц. Длительный ток контактов реле равен 5 А, время срабатывания
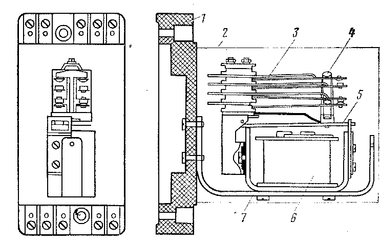
не более 0,06 с. Потребляемая мощность в цепи постоянного тока не более 3 Вт, в цепи переменного тока — не более 7 Вт. Масса реле 0,6 кг. При напряжении до 220 В и индуктивной нагрузке до 2 мГ разрывная мощность контактов*в цепи постоянного тока не более 50 Вт, в цепи переменного тока — не более 500 Вт. Реле имеет два размыкающих и два замыкающих контакта (рис. 90).

Рис. 90. Реле МКУ-48С:
/ — основание; 2— кожух; 3— блок-контакты; 4 — стойка; 5 — якорь; 6 — катушка; 7 — магнитопровод
Основные технические данные втягивающей катушки реле:
Обозначение реле по схеме .........PH2 ПТВ1— ПТВ4, РН1
РМН
Род тока...... Достоянный Переменный
Номинальное напряжение, В 24 48 220 Напряжение срабатывания, В....... 20 40 187
Сопротивление при 20° С,
Ом........ 510 1 900 2 700
Число витков .... 5500 10000 12000
|
|