Выключатели КУ-5-162 и КУ-9-164 предназначены для коммутации низковольтных цепей поезда (Отопление кабины, Освещение пульта, Отопление и вентиляция, Вспомогательный компрессор и т.д.).
Технические данные выключателей:
Тип выключателя....... . КУ-5 КУ-9
Номинальное напряжение, В . . . ПО
Длительный ток контактов, А . . . 15
Усилие включения рукоятки, кгс . . 1,2...1,7
Разрыв контактов, мм...... 9
Давление контактов, Н (кгс/см2) . 3,5...5,5 (0,35...0,55)
Число рукояток включения .... 5 9
Масса, кг........... 5 6,5
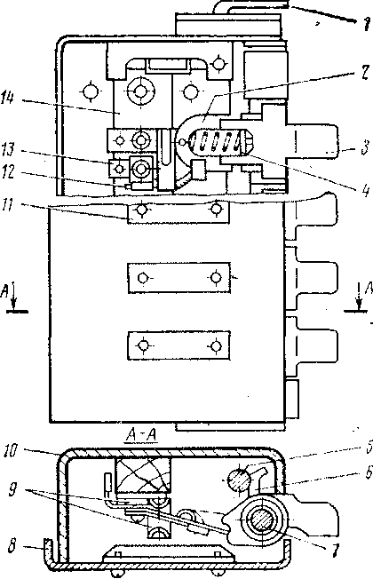
Выключатели (рис. 94) состоят •из набора рукояток включений. Рукоятки 3 расположены на общем валике 7 и включаются независимо друг отдруга. Подвижные контакты 2 перекидного типа соединяются с выводными клеммами 13 гибкими- проводниками 12. Неподвижные контакты 9 и выводные клеммы укреплены на изоляционной планке 14.
Контактное давление создается пружиной 4. Все рукоятки находятся в корпусе 10, закрытом сверху крышкой 8. На корпусе около каждой рукоятки укреплена табличка // с наименованием цепи, включаемой данной рукояткой. Выключатели имеют также съемную блокирующую рукоятку 2, при повороте которой валик 5 своими пальцами 6 блокирует необходимые рукоятки.
Во время технического обслуживания подгоревшие или закопченные контакты зачистите личным напильником. Особое внимание обратите на четкость работы подвижного контакта при включениях и отключениях. В случае потери^ пружиной упругих свойств замените ее новой. Следите за состоянием шунтов, а также всех крепежных деталей. Шунты, имеющие обрыв или обгар жил свыше 20%, замените Новыми. Выключатели содержите постоянно в чистоте.

Рис. 94. Выключатель КУ:
/ — съемная блокирующая рукоятка; 2 — подвижные контакты; 3 — рукоятки; 4 — пружина; 5 — валик; б — пальцы валика; 7 — валнк рукояток; 8 — крышка; 9 — неподвижные контакты; 10 — корпус; // — табличка; 12 — гибкие проводники; 13 — выводные клеммы; 14 — изоляционная планка
|
|