Электропневматический контактор 18УА05. Однополюсный электропневматический контактор 15УА05 (рис. 49), установленный в блоке силовых аппаратов (см. рис. 41), предназначен для переключения пусковых резисторов. Отличительной особенностью контактора является наличие двух пар параллельно соединенных силовых контактов: мостиковых и дугогасительных.
Основные технические данные контактора следующие:
Номинальное напряжение......... 800/3000 В
Номинальный ток............. 500 А
Число полюсов.............. 1
Контакты мостика:
раствор................ 16±0,5 мм
нажатие................ 6±0,2 кгс
провал................. 3± 1 мм
максимальный износ.......... 2x1»
Дугогасительные контакты:
нажатие................ 2,8 4-3,2 кгс
раствор...........• . . . . 20± 1 мм
провал................. 5±1 »
максимальный нзнос.......... 2x3 »
Вспомогательные контакты:
номинальный ток............ 6 А
число замыкающих........... 4
» размыкающих.......... 4
Испытательное напряжение:
относительно каркаса.......... 9500 В, 50 Гц, 1 мин
между контактами........... 7500 В, 50 Гц, 1 мин
Масса.................. 32,9 кг
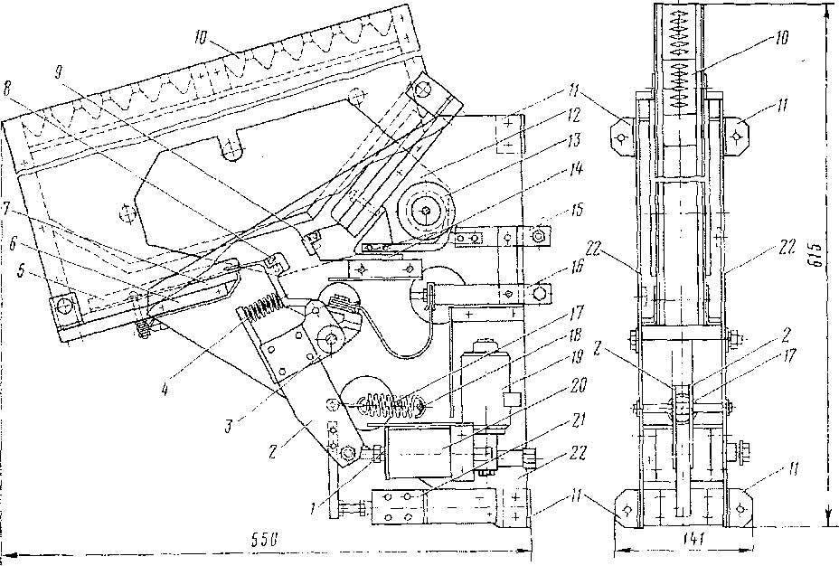
Монтаж всех деталей контактора выполнен на двух изоляционных боковинах 12 из стекловолокна. В верхней части между боковинами 12 укреплен привод 14 с электропневматическим вентилем 15, поршень которого жестко связан с изоляционной тягой 11 из эподура—материала, получаемого горячей штамповой смеси измельченного стекловолокна с эпоксидной смолой. В средней части тяги 11 имеется окно, в котором на подставке из тефлон-
графита помещен мостик 10, изготовленный из толстой медной шины с напаянными по концам ее серебряными контактными пластинами толщиной 2 мм. Между мостиком и верхней упорной пластиной находятся две пружины 30, предназначенные для удержания мостика на подставке в выключенном положении и для создания необходимого нажатия контактов мостика во включенном положении контактора. Токоподводящие шины 8 крепятся на внешних сторонах боковин 12 тремя болтами 9 каждая. Контакты 7 токоподводящих шин изготовлены из серебра и припаяны к шинам серебряным припоем. В нижней части изоляционная тяга оканчивается двумя проушинами, имеющими отверстия для валика, на котором шарнирно укреплен держатель 4 подвижного контакта 21 с дугогашением и один конец рычага 5 с опорами. Другой конец рычага 5 вращается на валике 3, пропущенном через отверстия в кронштейне 2, закрепленном между боковинами 12.
Между верхней опорой держателя 4 и верхним выступом рычага 5 установлена в сжатом состоянии пружина 6, предназначенная для создания необходимого нажатия контактов 21, 22 с дугогашением во включенном положении контактора. На нижнем вы-

Рис. 49. Электропневматический контактор 15\Ш)5
ступе рычага закреплен регулировочный винт, ограничивающий поворот держателя 4 контакта 21. С помощью регулировочного винта устанавливается требуемый зазор между контактами 21 и 22 в выключенном положении контактора. Ток к контакту 21 подводится от шины 8 через сдвоенный медный шунт 31 и держатель 4.
Неподвижный контакт 22 закреплен на опоре 23, соединенной через дугогасительную катушку 24 и медную шину 27 с токопод-водящей шиной 28. Дугогасительная катушка 24 намотана медной лентой сечением 18X1,6 мМ. Намотка выполнена от середины в два ряда по четыре витка. Отдельные витки изолированы стек-лолентой. Дугогасительная катушка надета на сердечник, изготовленный из электротехнической стали. К сердечнику винтами прикреплены полюсные наконечники 19 из листовой электротехнической стали толщиной 4 мм. Между полюсными наконечниками скрепленный с ними винтами помещен держатель 26 нижнего дугоприемного рога 25, который в свою очередь с помощью шпилек укреплен между боковинами 12. Верхний дугоприемный рог 25 также крепится на держателе, установленном между боковинами. Дугоприемные рога изготовлены из трех латунных проволок каждый, спаянных в нижней части. Тугоплавкие элементы 17 из сплава вольфрама с медью припаяны к концам рогов для предотвращения их обгорания при размыкании контактов 21 и 22. Подвижной контакт 22 имеет промежуточный дугоприемный рог 20 из латуни, с помощью которого верхний конец электрической дуги, возникающей при размыкании контактов 21 и 22, переносится на верхний рог 25.
Контактор крепится на несущих рейках блока, в котором расположены включающие приборы (см. рис. 41), с помощью двух угольников 13 и планки 1. На пневматическом приводе 14 закреплены две соосно расположенные блокировки 1 УКАШ, включаемые рычагом 29 из стекловолокна.
Дугогасительная камера 18 установлена между полюсными наконечниками и закреплена в нижней части шарнирно на цапфах боковин. В верхней части дугогасительная камера 18 крепится к держателю двумя зацепами 16, фиксируемыми фигурными гайками.
Боковые стенки 4 дугогасительной камеры (рис. 50) выполнены из асбоцемента. Пространство между ними разделено двумя перегородками 2, изготовленными из того же материала. Между стенками и перегородками установлены цилиндрические дистанционные вставки 5 из асбоцемента, сквозь которые пропущены латунные шпильки 7, стягивающие стенки и перегородки. В верхней и нижней частях дугогасительной камеры между стенками вставлены бруски / из асбоцемента, ограничивающие выброс дуги из камеры. В местах наибольшей температуры горения дуги на внутренних сторонах стенок установлены вставки 3 из микалекса — материала, обладающего высокой термостойкостью, в состав которого входит измельченная слюда и жидкое стекло.

С целью повышения электроизоляционной стойкости на внешних сторонах стенок камеры установлены стеклотекстолитовые прокладки 6.
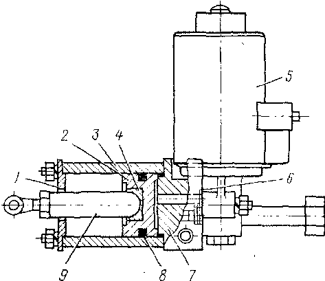
Включение контактора 1SVAD5 производится пневматическим приводом (рис. 51). Привод размещен в чугунном цилиндре 7, закрытом сверху крышкой 5 с отверстием для подвода и отвода сжатого воздуха. Крышка имеет канавку, в которую заложено уплотняющее кольцо 3 размером 80X70 мм.
На крышке установлен воздухораспределитель 6 с электромагнитным вентилем 4 типа VTM5. Снизу цилиндр закрыт крышкой 10, имеющей отверстие для прохода изоляционной тяги 12. Внутри цилиндра помещен дюралевый поршень 9 с -выточкой, в которую заложено уплотнительное кольцо 2 размером 80X70 мм из .полиуретана — материала, не теряющего упругости при температуре до —40°С. Между поршнем и нижней крышкой установлена в сжатом состоянии пружина /, удерживающая поршень при отсутствии давления воздуха в цилиндре в верхнем положении. По центру поршня просверлено сквозное отверстие под болт 5 для крепления к поршню изоляционной тяги. Крышки 5, 10 скреплены с цилиндром стяжными шпильками с гайками И.
Включение контактора начинается в момент подачи напряжения на катушку электромагнитного вентиля 4 привода. При этом воздух через золотниковый клапан вентиля и воздухораспределитель 6 поступает в цилиндр 7. Поршень 9, преодолевая сопротивление возвращающей пружины 1, начинает перемещаться вниз. Движение поршня передается на изоляционную тягу // (см. рис. 49), которая, опускаясь, поворачивает вокруг валика 3 рычаг 5 вместе с держателем 4 подвижного контакта 21 с дугогашением. Одновременно контакты мостика 10, установленного в окне изоляционной тяги //, начинают приближаться к контактам 7 токо-подводящих шин 8 и 28. В момент, когда расстояние между ними
сократится до 6 мм, подвижной контакт 21 соприкоснется с неподвижным 22. При дальнейшем движении вниз изоляционной тяги держатель 4 начнет поворачиваться вокруг валика, сжимая пружину 6, при этом контакт 21 катится по неподвижному контакту 22. Тем самым обеспечивается притирка этих контактов. После полного замыкания контактов с дугогашением мостиковые кок-такты коснутся контактов 7 токоподводящих шин и при перемещении вниз изоляционной тяги еще на 3 мм мостик 10 под действием сжимающих пружин 30 плотно встанет своими контактами на контакты 7 токоподводящих шин. На этом включение силовой цепи заканчивается и поршень 9 (см. рис. 51), дойдя своим приливом до упора на нижней крышке 10, останавливается.
Во включенном положении ток, проходящий через контакты 21 и 22, составляет только 5% тока в силовой цепи. Остальной ток проходит через мостиковые контакты, имеющие малое переходное сопротивление.
При снятии напряжения с катушки электромагнитного вентиля 4 типа УТМ5 полость цилиндра 7 сообщается с атмосферой и поршень 9 вместе с изоляционной тягой 12 под действием возвращающей пружины / начинает перемещаться вверх. Первыми размыкаются контакты мостика 10 (см. рис. 49), ток начинает проходить через контакты 21, 22 и соединенную с ними последовательно дугогасительную катушку 24. Этим обеспечивается создание эффективного магнитного дутья при размыкании контактов. Электрическая дуга, возникающая между контактами 21 и 22 в момент их размыкания, вытесняется магнитным полем дугога-сительной катушки 24 в дугогасительную камеру 18, где на промежуточных стенках растягивается, охлаждается и гаснет.
Электропневматический контактор 18УАП5 работает надежно при условии тщательного ухода за ним в эксплуатации. На всех видах деповского ремонта следят за надежностью крепления всех деталей контакторов и токонесущих частей. Особое внимание следует обращать на медный шунт 31 (см. рис. 49) между токопод-водящей шиной 8 и держателем 4 подвижного контакта 22. Обрыв его или ослабление в месте крепления приводит к сгоранию не только этого контактора, но и двух соседних, так как ток разрывается мостиковыми контактами и контактами 7 токоподводящих шин 8, 28, не имеющими дугогашения.
На каждом ТР-2 проверяют плотность прилегания мостиковых контактов к контактам 7 токоподводящих шин. Нарушение контакта приводит к перераспределению токов, проходящих через мостик 10 и контакты 21, 22, из-за увеличения переходного сопротивления контактов мостика 10. Это может привести к перегоранию дугогасительной катушки 24, не рассчитанной на длительное прохождение тока свыше 200 А.
Дугогасительная камера не должна иметь трещин и прогаров, жаростойкие вставки 3 (см. рис. 50) регулярно зачищают мелкой наждачной бумагой. При установке камеры на место нельзя допускать неплотности. Недопустимо касание подвижным кон-
онденсаторы 193, 197 (194, 198) совместно с дросселем 191 (192) и резистором 195(196) составляют помехоподавляющее устройство.
После включения быстродействующего выключателя напряжение через катушку А1-А2 дифференциального реле 015 подводится к общему проводу 008, соединяющему контакты контакторов 31, 32 и 37 группового переключателя 045. Указанные контакторы на нулевой позиции контроллера разомкнуты.
На 1-й позиции контроллера групповой переключатель устанавливается в положение Р, соответствующее последовательному соединению всех шести тяговых двигателей. Это положение переключателя остается неизменным на всех реостатных позициях (отсюда обозначение Р) последовательного соединения с 1-й по 19-ю включительно. В положении Р группового переключателя замкнуты его контакторы 21, 22, 29—31, 37—42, 45—48 (см. рис. 3, б). На 1-й позиции контроллера, на которой разомкнуты все индивидуальные контакторы 01—09 и 11—19, т. е. полностью введены пусковые резисторы, создается следующая цепь тока от провода 008: контактор 37, параллельно соединенные через контактор 41 секции AB и BD резистора 050*, секция DI, провод 013, контактор 29, катушка реле перегрузки 034, контакты А1-С1 реверсора 071 (при движении вперед первой тележкой этот реверсор устанавливается в положение «Назад»), якоря тяговых двигателей 5, 6, контакты BI-D1 реверсора 071, катушка реле перегрузки 036, необходимость в котором наряду с реле перегрузки 034 обусловлена тормозным режимом.
Далее ток проходит через контактор 45, обмотки возбуждения 066, 065 двигателей 5, 6, контакты реверсора El-Fl, контактор 40, разъединитель 63 аварийного отключения двигателей, секцию MS пусковых резисторов 051, катушку реле перегрузки 032, контакты D2-B2 реверсора 071, якорь двигателя 4, контакты реверсора С2-А2, контактор 47, обмотку возбуждения 064 двигателя 4, контакты E2-F2 реверсора 071. После этого ток идет через контакторы 22 и 21, секцию MS пусковых резисторов 050, катушку реле перегрузки 033, контакты D2-C2 реверсора 070, якорь тягового двигателя 3, контакты В2-А2 реверсора 070, контактор 48, обмотку возбуждения 063 тягового двигателя 3, контакты Е2-F2 реверсора 070, разъединитель 62, контактор 39, катушку реле перегрузки 031, контакты D1-C1 реверсора 070, якоря тяговых двигателей 1 и 2, контакты В1-А1 реверсора 070, катушку реле перегрузки 035, контактор 46, обмотки возбуждения 061 и 062 двигателей 1 и 2, контакты E1-F1 реверсора 070, контактор 30. Далее по проводу 108 ток проходит через контактор 38, секцию BI пусковых резисторов 051 (аналогично описанному выше параллельно секции BD включена секция AB), шунт 122 амлермет-
* Такое соединение обусловлено особенностью работы подключенного к. указанным секциям электродвигателя 225 вентилятора охлаждения резисторов (см. § 5).

Рис. 4. Таблица замыкания индивидуальных контакторов
ра, провод 197, катушку В1-В2 дифференциального реле 015, провод 198, токовую катушку счетчика электроэнергии 870, провод 199. Этим проводом, представляющим собой группу кабелей, осуществляется подключение силовой цепи через устройства для отвода тока 130 к колесным парам и далее к рельсам.
На 1-й позиции в цепь тяговых двигателей введены пусковые резисторы сопротивлением 13,8 Ом, т. е. при напряжении в контактной сети 3000 В амперметры 865, 866 показывают ток около 200 А. На последующих позициях до 19-й включительно осуществляется уменьшение сопротивления путем замыкания и размыкания индивидуальных контакторов 01—09 и //—19 в соответствии с таблицей, представленной на рис. 4. На всех реостатных позициях последовательного соединения тяговых двигателей измерение тока производится амперметрами 865 в первой и 866 во второй кабинах машиниста.
При переходе на 2 0-ю позицию — безреостатную ступень последовательного соединения тяговых двигателей — групповой переключатель 045 перемешается в положение С, при котором включаются его контакторы 25, 26 и размыкаются контакты контакторов 29, 30. Так как во всех положениях тягового режима замкнут контактор 31, то при включении контактора 25 цепь тока через контактор 37, оставшуюся на 19-й позиции часть пусковых резисторов секции AI и связанную с ней группу индивидуальных контакторов 01—05 шунтируется и обеспечивается прямое подключение тяговых двигателей к напряжению контактной сети.
Аналогично при включении контактора 26 шунтируется цепь тока через контакторы 30, 38 и группу индивидуальных контакторов //—15, в результате чего обеспечивается соединение тяговых двигателей с землей. Выключение контакторов 29 и 30, происходящее сразу же после включения контакторов 25 и 26, позволяет, не влияя на цепь последовательно соединенных дви-
тактом 21 стенок камеры /6" (см. рис. 49).
Электропневматич е с к и й контактор 18УАО|Л Однополюсный электропневматический контактор 1БУА04 предназначен для включения цепи отопления вагонов состава. Конструктивно он не отличается от контактора 15\/А05,, за исключением двух узлов: магнитной цепи и дугогаси-тельной камеры (остальные детали контакторов взаимозаменяемы). Особенности обусловлены наличием на дуго-гасительных контактах контактора 18УА04 напряжения 3000 В, приводящего в момент разрыва контактов к образованию мощной дуги, для гашения которой требуются более эффективные устройства, чем у контактора 18УА05. В магнитной цепи контактора 15"УАЮ4 применены шихтованные полюсные наконечники, набранные из шести тонких листов электротехнической стали, изолированных один от другого электроизоляционным лаком. При такой конструкции полюсных наконечников уменьшаются потери в магнитной цепи и повышается эффективность магнитного дутья.
Дугогасительная камера (рис. 52) имеет две боковины 7, изготовленные из листового асбоцемента, между которыми вставлены три промежуточные перегородки 6 из того же материала. Между перегородками и боковинами имеются асбоцементные цилиндрические вставки 9, сквозь которые пропущены латунные стяжные шпильки 8, соединяющие перегородки и боковины. Вставки предназначены для поперечного разрыва дуги при входе ее в дугогасительную камеру. Продольный разрыв дуги происходит между перегородками 6. Внутренняя полость дугогаснтельной камеры ограничена сверху и снизу глухими дистанционными вставками /, а спереди щелевыми дистанционными вставками 2, предназначенными для предотвращения выброса дуги из дугогаснтельной камеры. Для повышения изоляционной стойкости камеры с внешней стороны боковин установлены стеклотекстолитовые пластины 10. В верхней части камеры имеются захваты 4 для крепления дугогаснтельной камеры на контакторе. После установки камеры захваты фиксируются фигурными гайками 3. Основные технические данные контактора следующие:
Номинальное напряжение......... 3000 В
Номинальный ток............. 500 А
Испытательное напряжение:
относительно каркаса.......... 9500 В, 50 Гц, 1 мин
между контактами........... 7500 В, 50 Гц, 1 мии

Рис. 52. Дугогасительная камера контактора 18УА04
Число полюсов..........• . . . 1
Мостиковые контакты:
раствор................ 16±1 мм
провал................. 3±1 мм
максимальный износ........... 2x1 »
Дугогасительные контакты:
раствор......•......... 20 ±1 »
нажатие................ 2,8—3,2 кгс
максимальный износ......• . . . 2x3 мм
Количество блок-контактов ........ 4/4
Пневматический привод:
количество положений ......... 2
внутренний диаметр цилиндра ...... 80 мм
Ход поршня............... 19»
Номинальное давление воздуха...... 3,5 кгс/см2
Рабочее давление............. 3,5-^-6,3 кгс/см2
Масса.................• 36 кг
Все требования, предъявляемые к уходу за контакторами ІБУАОб, действительны для контактора ІБУАХМ. Особое внимание в эксплуатации уделяют состоянию жаростойких вставок 5 дугогаснтельной камеры (см. рис. 52), не допуская их обгорання; своевременно зачищают эти вставки мелкой наждачной бумагой; следят за тем, чтобы при включении и выключении контактора подвижной контакт не касался жаростойкой вставки: минимальный зазор между ними должен быть 0,8 мм.
Электропневматический контактор БУБб. Однополюсный контактор БУОб (рис. 53) используется для переключений в силовых цепях реостатного тормоза. Контактор имеет пневматический привод 20, управляемый электромагнитным вентилем 19 типа УТМ2. Все детали контактора смонтированы на двух боковинах 22 из стеклотекстолита.
Неподвижный контакт 9 контактора закреплен на держателе
14, соединенном через дугогасительную катушку 13 с зажимом
15, к которому болтом крепится кабель. Дугогасительная катушка имеет девять витков и изготовлена из медной ленты, намотанной на ребро. Между отдельными витками вставлены изоляционные стеклотекстолитовые диски. Катушка надета на сердечник из электротехнической стали, к которому прикреплены полюсные наконечники 12. Вся магнитная система крепится между боковинами болтом, пропущенным через сердечник. Держатель крепится на плите, соединенной с боковинами двумя болтами. Подвижной контакт .8 закреплен на верхнем плече рычага, соединенного гибким шунтом с зажимом 16, к которому болтом крепится подводящий кабель. Рычаг шарнирно закреплен на опоре 3 и нижним плечом опирается на ее выступ под действием пружины 4, вставленной между верхним плечом рычага и хвостовиком опоры. Опора 3 может поворачиваться на оси, пропущенной через отверстия в боковинах; на ней закреплены две изоляционные планки 2 из стеклотекстолита. В нижней части планки имеют отверстия под валик, на котором шарнирно укреплен толкатель / пневматического привода. В средней части на валике, пропущенном через отверстия в

Рис. 53. Электропневматический контактор БУПб
планках, закреплена тяга, удерживающая один конец выключающей пружины 17, другой конец которой закреплен на валике 18, пропущенном в отверстиях боковин.
В верхней части контактора между боковинами помещены две опорные стальные плиты 6, предназначенные для закрепления на них изоляционных подкладок 7 из микалекса с дугоприемными латунными рогами 5 и установки дугогасительной камеры 10. В нижней части между боковинами укреплены на стальной опоре мостиковые блокировочные низковольтные контакты 21. Крепление контактора осуществляется с помощью четырех угольников 11.
Дугогасительная камера имеет две боковины из листового асбоцемента, между которыми вставлены две промежуточные перегородки из того же материала. Между перегородками и боковинами установлены асбоцементные цилиндрические вставки, сквозь которые пропущены латунные шпильки. Внутренняя полость дугогасительной камеры ограничена с боков дистанционными вставками из'микалекса. В передней части камеры установлены щелевые дистанционные вставки из асбоцемента, предназначенные для предотвращения выброса дуги из камеры. С внешней стороны на боковинах имеются пластины из стеклотекстолита для повышения изоляционной стойкости камеры. Крепление дугогасительной камеры на контакторе осуществляется четырьмя гайками. Корпус пневматического привода (рис. 54) контактора представляет собой чугунный цилиндр 3, в котором помещен алюми-

Рис. 54. Пневматический привод контактора БУЭб
ниевый поршень 2 с уплотни-тельиым кольцом 8 размером 40X32 мм из полиуретановой резины. С одной стороны цилиндр закрыт крышкой 7 с отверстием для подвода и отвода воздуха. На входе отверстия установлен дроссель 6 для смягчения воздушного удара при включении электромагнитного вентиля 5 типа УТМ2, управляющего работой пневматического привода. С другой стороны цилиндр закрыт крышкой 1 с отверстием для толкателя 9, который своим закругленным торцом входит в выемку опоры 4.
Включение контактора начинается с момента подачи напряжения на катушку электромагнитного вентиля 19 (см. рис. 53). При этом воздух поступает в полость цилиндра пневматического привода 20, поршень которого начнет перемещаться. Движение поршня передается толкателем / через валик на планки 2 и жестко связанную с ними опору 3 рычага. Опора вместе с рычагом поворачивается по часовой стрелке на оси и подвижной контакт 8 соприкасается с неподвижным 9. При дальнейшем движении поршня с толкателем и повороте опоры подвижной контакт катится по неподвижному с одновременным проскальзыванием контактов. При этом контактные поверхности очищаются от слоя окислов и пыли. Пружина 4 при повороте опоры после соприкосновения подвижного контакта с неподвижным сжимается, обеспечивая необходимое нажатие контактов во включенном положении контактора. После замыкания контактов ток от зажима 15 через ду-гогасительную катушку 13, держатель 14, неподвижный и подвижной контакты, рычаг и шунт подводится к зажиму 16.
При снятии напряжения с катушки электромагнитного венти-ля^ полость цилиндра привода сообщается с атмосферой, и под действием выключающей пружины 17 опора поворачивается на ■оси против часовой стрелки, контакты 8, 9 размыкаются; образующаяся при этом дуга под действием магнитного поля, созданного дугогасительной катушкой 13, между полюсными наконечниками 12 перекидывается на дугоприемные рога, удлиняется и выдувается в щели камеры 10, где разрывается, охлаждается и гаснет.
Основные технические данные контактора 5\Ш6 следующие:
Номинальное напряжение..... 1000/3000 В
Номинальный ток....... 200 А
Силовые контакты:
Раств0Р.......20+0,5 мм
пР°вал........5 мм
нажатие......................2,5—3,5 кгс
износ.......................2x2,5 мм
Вспомогательные контакты:
раствор...................... 2 мм
провал....................... 1,55 »
Масса контактора.................. 20,35 кг
Электропневматический контактор 8УОЗ. Эти контакторы
предназначены для включения и отключения резисторов ослабления возбуждения тяговых двигателей. Всего на электровозе установлено 16 контакторов данного типа. Контактор БУБЗ имеет такие же технические данные, что и контактор БУГЗб и аналогичную конструкцию. Отличие состоит лишь в том, что дугогаситель-ная камера контактора БХШЗ имеет меньшие размеры и между боковинами у нее отсутствуют внутренние перегородки, а имеются только вставки из асбоцемента. Такое упрощение конструкции объясняется тем, что эти контакторы установлены в цепях, включенных параллельно обмоткам возбуждения тяговых двигателей, где напряжение значительно меньше.
|
|