На электровозе установлены два контроллера машиниста 1KRD3 — по одному в каждой кабине. Контроллер предназначен для дистанционного управления промежуточным контроллером, реверсорами, контакторами ослабления возбуждения.
Основные технические данные контроллера машиниста следующие:
Номинальное напряжение кулачкового элемента . . 48 В
Номинальный ток................6 А
Провал контактов................не менее 3 мм
Номинальная потребляемая мощность электромагнитной защелки...............20 Вт
Масса.....................42 кг
Габарит.................... 390x390x295 мм
Контроллер машиниста 1KRD3 (рис. 67) — кулачкового типа. Он имеет три кулачковых барабана: реверсивный, командный и ослабления возбуждения. Управление ими осуществляется с помощью реверсивной рукоятки 2 и штурвала /.
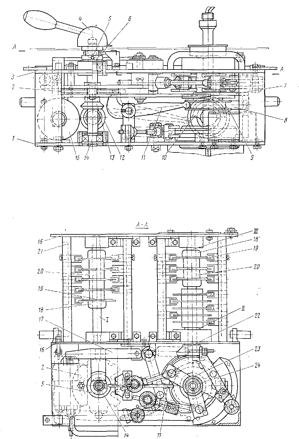
Все детали контроллера закреплены на каркасе, состоящем из двух торцовых стенок 16 (рис. 68), соединенных продольными балками 21, и двух горизонтальных плит /, 3, приваренных к передней торцовой стенке 16. На торцовых стенках приварены цилиндрические опоры для установки в них подшипников валов барабанов — реверсивного /, командного // и ослабления возбуждения ///.

Рис. 67. Общий вид контроллера машиниста 1КШЭЗ
Реверсивный кулачковый барабан / имеет пять кулачковых шайб 19, каждая из которых состоит из металлических дисков с закрепленными на них сегментами. Шайбы вместе со стальными втулками 20 установлены на валу, вращающемся в двух шариковых подшипниках. Крепление шайб 19 выполнено на общей шпонке. От осевого перемещения шайбы удерживаются двумя распорными кольцами 18. На свободном конце вала закреплена коническая шестерня 12, находящаяся в зацеплении- с конической шестерней 13 вала 14 реверсивной рукоятки 4. Этот вал вращается в двух шариковых подшипниках, закрепленных в верхней 3 и нижней / плитах. В средней части вала 14 установлен блокировочный диск 2. Верхняя часть вала заканчивается цапфой 6 со штифтом 5 для соединения со съемной реверсивной рукояткой 4, которая может занимать три фиксированных положения: ХВп, О и ХНз. Снять реверсивную рукоятку можно только в положении 0, когда на катушку 15 электромагнитной защелки, которая рычагом 17 осуществляет блокировку реверсивной рукоятки, подано напряжение.
Командный барабан // имеет три кулачковые шайбы 19, насаженные на вал, а барабан ослабления возбуждения III содержит пять кулачковых шайб, укрепленных на полом валу, имеющем общую ось вращения с валом командного барабана П. Внутренний вал установлен на одном шариковом подшипнике и двух бронзовых втулках, запрессованных в полом внешнем валу, который вращается в шариковом подшипнике, закрепленном на передней торцовой стенке 16 каркаса. На свободный конец внутреннего вала командного барабана II надет конический зубчатый сегмент 10, сцепленный с коническим сегментом на полом валу штурвала. На вал барабана /// посажена коническая шестерня 22, находящаяся в зацеплении с коническим зубчатым сегментом 7.
Поворот барабанов II и III осуществляется штурвалом / (см. рис. 67), имеющим два рабочих положения — верхнее к

Рис. 68. Контроллер машиниста
нижнее. В верхнем положении штурвал вращает кулачковый командный барабан // и имеет пять положений: «+» — автоматический набор; +/ — набор по одной позиции; 0 — нулевая позиция; •—/ — сброс по одной позиции; «—» — автоматический сброс. Положение 0 и «—» являются фиксированными, а на остальных трех происходит самовозврат в положении 0. Передача вращающего усилия от штурвала на барабан // осуществляется (см. рис. 68) через ведущий диск 9 с поводком 8 и подшипником. Диск жестко закреплен на валу 24 штурвала и имеет паз для блокировочного рычага 11. Вал 24 может вращаться, а также перемещаться в направлении продольной оси внутри полого вала 23, свободно вращающегося на подшипнике, установленном в верхней плите 3 каркаса. На конце полого вала закреплен конический зубчатый сегмент 7 с вилкой, сцепленный с зубчатым сегментом 10 внутреннего вала барабана //. В верхнем положении вал штурвала удерживается пружиной, работающей на сжатие. При этом поводок 8 ведущего диска входит в вилку. Таким образом, в верхнем положении валы штурвала 24 и командного барабана // механически соединены.
При нажатии штурвала вниз до упора поводок 8 ведущего диска входит в вилку конического зубчатого сегмента, вращающегося на подшипнике и сцепленного с конической шестерней 22. В этом положении, поворачивая штурвал по часовой стрелке, осуществляют набор позиций ослабления возбуждения тяговых двигателей. Всего имеется шесть положений штурвала: 0 — полное возбуждение; /—V — пять ступеней ослабления. Штурвал фиксируется на всех пяти позициях ослабления возбуждения.
Чтобы исключить возможность нарушения нормальной работы цепей управления электровозом и предупредить повреждения в силовых цепях при ошибочных действиях машиниста, реверсивная рукоятка и штурвал взаимно блокированы рычагами и дисками; при этом соблюдаются следующие зависимости:
реверсивную рукоятку можно вставить или снять только при наличии напряжения на катушке электромагнитной защелки и нахождении штурвала в положении 0;
повернуть реверсивную рукоятку можно тогда, когда штурвал находится в положении 0, а катушка электромагнитной защелки под напряжением;
вращение штурвала возможно только при постановке реверсивной рукоятки в положение ХВп или ХНэ;
штурвал можно нажать вниз только тогда, когда он находится в положении 0, а реверсивная рукоятка в одном из рабочих по-, ложений.
|
|