Электропневматические вентили двух типов VTM2 и VTM5 используются для управления пневматическими приводами различных аппаратов. Вентили VTM2 установлены на быстродействующем выключателе, реверсорах, разъединителях и заземлителе,. они управляют приводами жалюзи и индивидуальных электропневматических контакторов SVD3 и SVD6, песочницами и сигналами, установлены в трубопроводах спуска конденсата из воздушной магистрали. Совместно со специальным воздухораспределителем VTS2 вентили VTM2 обеспечивают работу пневматических двигателей группового переключателя и промежуточного-контроллера. Для выпуска воздуха из тормозных цилиндров при переходе из режима тяги в режим реостатного торможения используются вентили VTM8.
Основные технические данные электропневматических вентилей:
Тип вентиля......................VTM2 VTM5 VTMS
Номинальное напряжение катушки, В......... 48 48 48
Потребляемая мощность, Вт.............. 12 20 20
Сопротивление катушки при 20°С, Ом......... 180 107 107
Сечение выхлопного отверстия / (рис. 84) мм2 .... 15 55 03
Сечение входного отверстия ///, мм2 ......... 10 30 30
Сечение выходного отверстия II, мм2 ......... 10 30 30
Масса, кг...................... 1,47 2,64 2,70
Давление воздуха, кгс/см2.............. 1—6,3 1—6,3 1—6,3
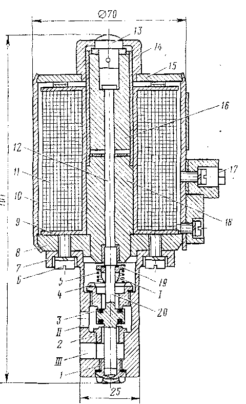
Электропневматический вентиль (рис. 84) состоит из двух час-"тей: клапанной головки и управляющего ее работой электромагнита. Корпус 24 клапанной головки отлит из алюминиевого сплава и крепится к основанию 19 электромагнита двумя болтами. Внутри головки запрессовано латунное седло 22 с посадочными поверхностями для двух клапанов 20 и 26, выполненных в виде латунных тарелок с привулканизированными к ним уплотнениями из масло- и морозостойкой резины. Клапаны связаны дистанционным штифтом, длина которого определяет зазор между од-

Рис. 84. Электропневматический вентиль VTM2 с воздухораспределителем VTS2
ним из клапанов и седлом 22. На нижний клапан 26 постоянно действует усилие пружины 25, опирающейся на латунную пробку, ввернутую в корпус головки.
Клапанная головка имеет три отверстия: выпускное отверстие / предназначено для выпуска воздуха в атмосферу, отверстие // соединяет вентиль с воздухораспределителем, отверстие III с источником сжатого воздуха.
Электромагнитная часть вентиля состоит из сердечника 14,. основания 19, кожуха 15 и торцовой крышки 12. На сердечник посажена катушка 13, состоящая из бакелитового каркаса и обмотки. Концы обмотки через изоляционную, вставку 18 выведены на панель к зажимам 17. Над сердечником в направляющей латунной втулке // помещен якорь 10, связанный толкателем 16 с системой клапанов головки. Длина толкателя выбрана с таким расчетом, чтобы воздушный зазор между якорем и сердечником несколько превышал зазор между одним из клапанов и седлом 23.
Воздухораспределитель УТ82 состоит из корпуса 2,-верхней 8 и нижней / крышек с воздушными каналами, штока 5 и управляющих поршней 3 и 7. Шток уплотнен четырьмя резиновыми кольцами диаметром 10X6 мм и перемещается в латунных втулках 6 с отверстиями для воздуха, запрессованных в корпус. Управляющие поршни снабжены манжетами 4 из полиуретановой резины диаметром у верхнего поршня 20x12 мм и у нижнего — 28X20 мм. Электромагнитный клапан соединен с воздухораспределителем двумя шпильками 21 и гайками. Воздушные каналы между ними уплотнены резиновыми кольцами диаметром 12X8 мм.
Воздух из магистрали подводится через отверстие А, по каналам Б я В поступает в камеру над поршнем. Одновременно по каналам Г и Д воздух подходит к впускному клапану 26 вентиля. При обесточенной катушке 13 вентиля впускной клапан усилием пружины 25 прижат к седлу 22, а выпускной 20 приподнят над ним, благодаря чему закрыт доступ воздуха к нижнему поршню 3 воздухораспределителя и вся его подвижная система (оба поршня и шток) занимает нижнее положение. При этом сжатый воздух через отверстие А, каналы Ж и К поступает в один из цилиндров пневматического привода, другой цилиндр привода каналами Л, М и Н связан с атмосферой. При подаче питания на катушку 13 вентиля якорь 10 притянется к сердечнику 14 и, воздействуя на связанную с ним кнопку 9 и толкатель 16, переместит систему клапанов вниз. Выпускной клапан 20 опустится на седло 22 и закроет выпускное отверстие /. Впускной клапан 26 также опустится, канал Д сообщится с каналом Е, и сжатый воздух из магистрали по каналам А, Г, Д и Е поступит под нижний поршень 3. Так как диаметр этого поршня превышает диаметр' верхнего 7, то вся подвижная система воздухораспределителя поднимется вверх. При этом соединенный ранее с источником сжатого воздуха цилиндр пневматического двигателя каналами
К, И, О сообщается с атмосферой и, наоборот, цилиндр, который был сообщен с атмосферой каналами А, Ж, М и Л, подсоединяется к источнику сжатого воздуха.
Электропневматические вентили УТМ5 установлены на индивидуальных контакторах 15УА04 и 15УА05. Конструктивно эти вентили отличаются от вентиля УТМ2 только большими раэмер-ами катушки, магнитной системы и большим сечением воздушных отверстий клапанной головки.
Электропневматический вентиль УТМ8 (рис. 85) гак же состоит из двух частей: клапанной головки и электромагнита. Корпус 7 клапанной головки отлит из «алюминиевого сплава и крепится к основанию 8 электромагнита двумя болтами 6. Внутри корпуса имеются два латунных седла 2 и 4. Нижнее седло 2 запрессовано в корпус, верхнее 4 имеет резьбу и
ввернуто в него. Между седлами помещены клапаны, изготовленные совместно со штоком 19 и уплотненные масло- и морозостойкой резиной 3. На шток постоянно действует усилие пружины 5, помещенной между верхним седлом и упорной шайбой, которая закреплена на штоке 19. Клапанная головка имеет три отверстия: выпускное / предназначено для выпуска воздуха в атмосферу, отверстия // и III соединяют вентиль с тормозной магистралью. Снизу головка закрыта латунной пробкой /■ Магнитная цепь состоит из сердечника 18, основания 8, кожуха 10 и торцовой крышки 15. На сердечник посажена катушка И, состоящая из бакелитового каркаса 9 и обмотки. Концы обмотки через изоляционную вставку выведены на панель к зажимам 17.
Над сердечником в направляющей латунной втулке 14 помещен якорь 16, связанный через кнопку 13 и толкатель 12 со штоком 20.
При обесточенной катушке вентиля выпускной клапан усилием пружины 5 прижат к верхнему седлу 4, а впускной приподнят над нижним седлом 2, т. е. тормозная система разобщена с атмосферой. При подаче питания на катушку И вентиля якорь при-

Рис. 85. Электропневматический вентиль УТМ8
тянется к сердечнику и переместит шток 20 с клапанами вниз. Впускной клапан сядет на нижнее седло 2 и перекроет подвод воздуха к тормозным цилиндрам. Выпускной клапан опустится и сообщит воздушную систему тормозных цилиндров с атмосферой.
|
|