Колесная пара (рис. 103) электровоза состоит из оси 6, двух колесных центров 1 я 7, зубчатого колеса 4, лабиринтного кольца 5 и двух бандажей 2 с укрепляющими их бандажными кольцами 3. Вместе с бандажом колесный центр составляет колесо, которое напрессовывается на ось. Через колесные пары нагрузка от веса тележек с тяговыми двигателями и кузова со всем оборудованием передается на рельсы.
Оси колесных пар. Ось по длине имеет разную толщину. Часть ее диаметром 228 мм, на которую напрессовывается колесный центр, называется подступичной,. а часть диаметром 180 мм, на которую посажен роликовый подшипник, — шейкой. Для напрес-совки колесного центра / с удлиненной ступицей по оси имеется дополнительная подступичная часть диаметром 230 мм. На концах шейки оси предусмотрена резьба М165 для постановки гайки, фиксирующей положение подшипника. Галтели, т- е. переходы от одного диаметра оси к другому, имеют радиусы 20, 30 и 40 мм. Галтели, как известнб, служат для уменьшения напряжений в этих местах.
Оси изготовлены из стали марки ОС-Л в соответствии с ГОСТ 3281—59. Шейки и подступичные части оси после обточки шлифуются. Переходные галтели тщательно обрабатываются и накатываются роликом- На торцах осей высверлены центровочные

Рис 103. Колесная пара электровоз;

Рис. 104. Крепление лабиринтного Рис. 105. Каналы для подачи мас-кольда ла под ступнцу
отверстия, а также отверстия под болты МЛ 6, крепящие стопорную планку гайки буксового подшипника.
Колесные центры. Они состоят из ступиц, 12 спиц и обода. Эти детали отлиты из стали марки, соответствующей ГОСТ 4491—48- Наружная поверхность обода обрабатывается под насадку бандажа, внутренняя поверхность ступицы растачивается для посадки на ось. Один из колесных центров каждой колесной пары имеет конический прилив, на нем крепят зубчатое колесо-На этом приливе сделаны уступы, которые вместе с соответствующими уступами кожуха зубчатой передачи образуют лабиринтное уплотнение, предотвращающее вытекание смазки из кожуха.
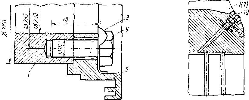
Наружная поверхность цилиндрической части удлиненной ступицы колесного центра / обрабатывается для постановки на нее двух роликовых подшипников. Корпус ступицы одновременно служит частью резервуара для смазки зубчатой передачи. К торцу ступицы крепят лабиринтное кольцо 5 (рис. 104), имеющее кольцевые выступы. Для предотвращения вывертывания болтов 8 служит шайба-прокладка 9, углы которой после затяжки болта отгибают. На электровозах, у которых роликовые подшипники смазываются густой смазкой, а редуктор — жидкой, конструкция лабиринтного кольца несколько изменена.
В ступицах колесных центров просверлены наклонные отверстия, через которые в случае распрессовки центра под большим давлением подается масло на посадочную поверхность оси (рис. 105). Введение масла значительно уменьшает усилие распрессовки и исключает задиры внутренней поверхности ступицы и оси.
Для улучшения проникновения масла между осью и ступицей по внутреннему ее диаметру 228 мм сделаны четыре концентрические канавки глубиной 0,8 мм и одна продольная канавка, соединяющая наклонное отверстие с концентрическими канавками. Наклонное отверстие в ступице закрыто болтом 10, исключающим попадание грязи в канал для масла. Аналогичные канавки предусмотрены и на наружной поверхности удлиненной ступицы для

Рисі 106. Крепление зубчатого колеса к колесному центру

Рис. 107. Профиль нормального бандажа и крепление бандажа кольцом
облегчения снятия внутренних колец подшипников корпуса. В эти канавки масло поступает через отверстие, просверленное в торце ступицы.
Зубчатое колесо 4 (рис- 106) плотно насаживают на конический прилив колесного центра / >и дополнительно крепят 12 призовны-ми болтами Л диаметром 28 мм с корончатыми гайками 12 и шплинтами 13.
Бандажи. Их изготовляют из заготовок основной или кислой мартеновской стали марки 60 (ГОСТ 398—71) путем ковки с последующей прокаткой; толщина новых бандажей 90 мм.
Посадочную поверхность бандажа протачивают с таким расчетом, чтобы внутренний его диаметр был меньше диаметра обода колесного центра на 1,3—1,6 мм. Нагретый до температуры 250—320°С бандаж надевают на обод колесного центра. в После остывания бандаж плотно обхватывает колесный центр.
Чтобы предохранить бандаж от оползания с колесного центра, которое возможно при недостаточно тугой посадке или продолжительном тор-можении и нагреве колодками, дополнительно крепят бандаж 2 (рис. 107) на ободе колесного центра 1. С внешней стороны колесной лары бандаж имеет бурт, предохраняющий его от сдвига внутрь колесной пары, с внутренней — выточку или канавку. В канавку (выточку) - закладывают кольца 3, после чего бурт бандажа обжимают. Поверхность бандажа по кругу катания обтачивают по установленному профилю.
Для новой колесной пары разница в диаметре по кругу катания бандажей допускается не более 0,375 мм (0,03%), а для бандажей разных колесных пар одного электровоза — не более 0,625 мм (0,05%). Бандажи средних колесных пар каждой
тележки для облегчения вписывания электровоза в кривые малого радиуса имеют более тонкие гребни; толщина нового гребня 23 мм.
Колесный центр с заранее насаженным бандажом напрессовывают на ось колесной пары под давлением 100—125 тс. При отсутствии бандажа давление снижают до 90—135 тс- На боковых наружных поверхностях бандажа вытачивается кольцеваяжанавка шириной 6 мм, показывающая минимально допустимую толщину бандажа в эксплуатации. Для обнаружения ослабления (провертывания) бандажа на него и на обод колесного центра наносят красной краской общую риску.
Перед формированием каждый колесный центр подвергают балансировке. Небаланс допустим в пределах не более 0,25 кгс на расстоянии 490 мм от центра (не более 0,125 кгс-м). Место центра тяжести неуравновешенной части колесного центра отмечают краской. При напрессовке колесных центров на ось обычно добиваются совпадения центров тяжести неуравновешенных частей в одной плоскости.
|
|