Тяговые двигатели электровоза установлены на раме тележки н весь их вес передается на оси колесных пар через первичную систему рессорного подвешивания.
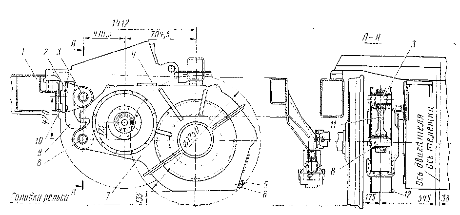
Для крепления к раме 5 тележки (рис. 122) у остова двигателя 1 имеются специальные приливы, через отверстия в которых пропущены болты.
Двигатель со стороны, противоположной оси колесной пары, опирается двумя приливами на поперечную балку рамы тележки и прикреплен к ней двумя болтами 6; со стороны оси колесной пары он четырьмя болтами 3 крепится к балке 4, которая опирается на продольные балки рамы тележки и скреплена с ними болтами 2.
Балка выполнена из сваренных стальных листов толщиной 8 мм, отштампованных в виде буквы П. В местах болтовых креплений к балке приварены стальные прокладки. Для точной установки тягового двигателя по отношению к раме тележки и соблюдения параллельности осей якоря и колесной пары служат дистанционные прокладки, которые ставят в местах расположения болтов 6 и 2.


Вращающий момент от якоря тягового двигателя передается к колесной паре карданным приводом и зубчатой передачей. Карданный привод, размещенный внутри якоря, позволяет колесной паре перемещаться относительно рамы тележки и установленного на ней двигателя при работе рессорного подвешивания. Зубчатая передача дает возможность получать необходимые тяговые характеристики электровоза при изменении частоты вращения колесной пары по отношению к частоте вращения якоря и в какой-то степени позволяет взаимно смещаться оси колесной пары и якорю двигателя.
На электровозах ЧС2Т применена односторонняя прямозубая передача с передаточным числом 44:77=1:1,75. Шестерня 7 и зубчатое колесо 12 (рис. 123) помещены в корпус, состоящий из верхней и нижней частей, скрепленных болтами. Плоскость разъема корпуса проходит через геометрическую ось колесной пары.
Верхняя и нижняя части корпуса состоят из боковин 2 и 13, выполненных из листовой стали толщиной 12 мм. К боковинам верхней части прикреплены держатели подшипников 3 и 11, а в них помещены наружные кольца роликовых подшипников 5 и 10.
Держатель И со стороны колеса имеет больший диаметр, чем держатель 3. Внутренние кольца подшипников 5 и 10 посажены на ступицы шестерни и удерживаются гайками 6 и 9. Подшипник 10 закрыт крышкой 8, прикрепленной к держателю 11. На держателе 3 укреплена крышка 4 с выточками, образующими лабиринтное уплотнение.
Со стороны оси колесной пары к боковинам верхней и нижней частей корпуса приварены крышка / и кольцо 15, имеющие лабиринтные уплотнения. К крышке 1 болтами 24 прикреплена фасонная втулка 23, в которой размещены роликовые подшипники 20 и 17. Внутренние кольца этих подшипников посажены на обработанную поверхность ступицы 16 колесного центра и между ними установлена дистанционная втулка 18. Наружное кольцо подшипника 20 зажато крышкой / и распорным кольцом 19. Внутреннее кольцо удерживается кольцом 22, прикрепленным болтами 21 к торцу ступицы колесного центра и имеющим кольцевые выступы, входящие в пазы крышки /.
Зубчатое колесо 12 прикреплено к ступице 16 колесного центра двенадцатью призонными болтами 14.
Благодаря подшипникам 20 и 17 корпус передачи, а также шестерня могут совершать только вращательное движение относительно оси колесной пары. Оси шестерни и колесной пары располагаются параллельно, расстояние между ними не меняется.
Сферические подшипники 5 и 10 марки 22228М/С4 имеют по 36 роликов — по 18 в каждом ряду. Подшипники 20 и 17 марки 23956М/СЗ также двухрядные и сферические. В подшипники закладывают густую смазку, для чего предусмотрены дополнительные лабиринтные уплотнения.


Рис. 124. Корпус зубчатой передачи и его подвеска
Корпус зубчатой передачи (рис. 124) с одной стороны опирается на ось колесной пары, а с другой — подвешивается к раме 1 тележки. Нижний палец 8 подвески // пропущен через отверстия в боковинах 7 корпуса, верхний палец 5—через отверстия в кронштейнах 2, прикрепленных к раме 1. Такое подвешивание позволяет корпусу зубчатой передачи покачиваться при перемещении колесной пары относительно рамы тележки. Кронштейн 2 крепится к раме / четырьмя болтами. Направляющая в кронштейне, входящая во впадину несущей плиты 10, позволяет точно установить кронштейн и предотвратить работу болтов на срез.
Между пальцами 3 я 8 и подвеской // помещены сайлент-блоки, состоящие из двух стальных втулок, между которыми находится слой резины, привулканизированной к поверхностям втулок. Сайлентблоки смягчают удары, передающиеся от корпуса передачи к раме тележки при прохождении колесной парой неровностей пути.
При обрыве подвески 11 корпус передачи опирается на предохранительный выступ 9. В верхней части корпуса имеется люк, закрытый крышкой 4, к которой приварена трубка, сообщающая внутреннюю полость корпуса с атмосферой. Через люк можно осматривать зубчатую передачу. В нижнюю часть корпуса через отверстие, закрытое пробкой 5, заливается масло- Эта пробка имеет щуп для проверки уровня смазки. Рядом с пробкой 5 размещены две магнитные пробки 6, к которым притягиваются стальные частички, образующиеся в результате износа поверхностей зубьев. Отверстие, закрытое пробкой 12, служит для спуска масла из корпуса.
Шестерня зубчатой передачи изготовлена из стали марки 16220.4.
Заготовку шестерни до нарезки зубьев подвергают ковке, мягкому отжигу, черновой обработке и закалке с отпуском до получения следующих механических свойств: предел прочности 80 кгс/мм2, предел текучести 60 кгс/мм2, ударная вязкость
6 кгс/см2, относительное удлинение 10% при испытании стержня, длина которого равна его пяти диаметрам, твердость 239— 285 единиц по Бринеллю. После нарезки зубьев производят их индукционную закалку и шлифовку. Глубина закаленной поверхности зубьев составляет 1,5—2,5 мм, твердость слоя 54—60 единиц по Роквеллу. Масса новой шестерни составляет 143,2 кг, радиус, выкружки зубьев у основания — не менее 5 мм.
Торец шестерни со стороны тягового двигателя имеет точно обработанные шлицы для соединения с карданным приводом.
Зубчатое колесо передачи изготовляют из стали марки 15241.6. Заготовку колеса до нарезки зубьев подвергают ковке или прокатке, мягкому отжигу, черновой обработке и закалке с отпуском до получения следующих механических свойств: предел прочности 75 кгс/мм2, предел текучести 55 кгс/мм2, ударная вязкость 5 кгс/см2, относительное удлинение 10%, твердость 223—270. единиц по Бринеллю.
После нарезки зубьев производят их индукционную закалку с тем, чтобы глубина закаленного слоя после шлифовки составляла 1,5—2,5 мм, а твердость слоя 52—56 единиц по Роквеллу-Венец зубчатого колеса весит 195 кг.
При сборке передачи шестерню подбирают таким образом, чтобы твердость ее зубьев была не менее чем на 2 едийицы по Роквеллу больше, чем у зубьев колеса.
Элементы зубчатой передачи выполняют с большой точностью. Так, отклонение действительного основного шага зубьев от расчетного для зубчатого колеса допускается ±0,015 мм и для шестерни ±0,014 мм. Отклонение смежного шага (разница двух смежных шагов на делительной окружности) для зубчатого колеса должна составлять не более 0,040 мм и для шестерни — не более 0,035 мм. Радиальное 'биение зубьев (разница максимального и минимального расстояний до соответствующих точек профиля зубчатого зацепления от оси вращения колеса) допускается не более 0,1 мм для зубчатого колеса и не более 0,085 мм для шестерни.
С высокой точностью обрабатывают также резьбу и посадочные поверхности для подшипников, насаживаемых на ступицы шестерни.
Модуль зубчатого колеса и шестерни равен 12, угол зацепления 20°, ширина зуба 150 мм, диаметр делительных окружностей соответственно 924 и 528 мм, а расстояние между центром зубчатого колеса и шестерни, т. е. централь, — 726 мм.
ГЛАВА VII
ТОРМОЗА И ПНЕВМАТИЧЕСКАЯ СИСТЕМА
|
|