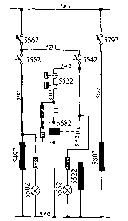
3.39 Цепь питания обогревателя воды 5522
В цепь питания обогревателя воды 5522 входят контакты реле 5552, получающего питание по цепи (рис.107):
- АЗВ 5562, провод 5370, выключатель 5542, провод 5402, контакты термостата 5522, провод 5412, обратные блок-контакты реле 5552, катушка реле 5552, провод 9992.

Рис.107 Схема цепей включения электроплитки 5492, обогревателя воды 5522 и туалетного бачка
После включения реле 5582 замыкаются его прямые блок-контакты, и питание от провода 5402 подводится к обогревателю 5522. От провода 5402 питание подаётся и к сигнальной лампе 5532.
3.40 Цепь питания нагревательных элементов туалетного бачка
|
|