УСТРОЙСТВО И РЕМОНТ ЗАЩИТНЫХ РЕЛЕ
1 КРАТКАЯ ХАРАКТЕРИСТИКА ЗАЩИТНЫХ РЕЛЕ
К защитным реле относятся следующие аппараты: дифференциальное реле (реле дифференциальной защиты), реле перегрузки, реле повышенного и низкого напряжения, реле боксования.
Дифференциальное реле Д - 4В служит для защиты силовых цепей тяговых двигателей от токов короткого замыкания.
Принцип работы реле Д - 4В основан на сравнении тока в начале и в конце цепи тяговых двигателей.
Реле перегрузки предназначены для защиты электрических цепей электровоза от ненормальных режимов работы.
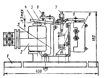
Реле перегрузки РТ-050 (РТ-500) служат для отключения быстродействующего выключателя БВП-5, вентиляторов и преобразователя в случае перегрузки в цепи преобразователя. Катушка реле включена в цепь последовательно с якорем двигателя преобразователя.
Рисунок 1 – Реле перегрузки РТ-500
Реле состоит из изоляционной панели, к ней укреплен магнитопровод с якорем. На сердечнике магнитопровода с зазором установлена катушка из трех витков медной шины. К якорю, отжимаемому от сердечника регулируемой пружиной, прикреплена изоляционная планка, которая связана с блокировочным устройством. Зазор между якорем и сердечником регулируют болтом стойки.
При перегрузке цепи якорь реле притягивается и разрывает блокировочные контакты. На электровозах ВЛ-10 до №1587 постройки НЭВЗ устанавливались реле перегрузки РТ-050, а начиная с № 1587 вместо него устанавливают реле РТ-500.
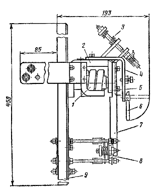
Реле перегрузки РТ-406В или РТ-502 предназначено для световой сигнализации о перегрузки тяговых двигателей. На электровозах ВЛ-10 до № 1597 устанавливали реле перегрузки РТ-406В, а начиная с № 1587 вместо него устанавливают реле перегрузки РТ-502.
Рисунок 2 – Реле перегрузки РТ-406В
Технические данные реле перегрузки
Характеристики |
РТ-050 |
РТ-500 |
Номинальное напряжение силовой цепи, В |
3000 |
3000 |
Номинальное напряжение контактов, В |
50 |
50 |
Номинальный ток контактов, А |
5 |
5 |
Ток включения (уставка), А |
50+2,5 |
80-+ 4 |
Разрыв контактов, мм |
2,5-3,0 |
3,0-5,0 |
Провал контактов, мм |
1,5-2,0 |
1,5-3,0 |
Масса, кг |
3,5 |
3,6 |
Характеристики |
РТ-406 В |
РТ-502 |
Номинальное напряжение силовой цепи, В |
3000 |
3000 |
Номинальное ток катушки, А |
450 |
600 |
Ток уставки, А |
759+-30 |
750+-30 |
Коэффициент возврата, не ниже |
0,6 |
0,6 |
Номинальное напряжение контактов, В |
50 |
50 |
Номинальный ток контактов, А |
5 |
5 |
Число контактов, замыкающих |
1 |
2 |
Нажатие контактов, кгс |
0,07 |
- |
Провал контактов, мм |
1,5-2 |
1,2-1,8 |
Разрыв контактов, мм |
2,5-3 |
1,7-2,3 |
Масса, кг |
5,5 |
4,1 |
РЕЛЕ НАПРЯЖЕНИЯ. Уровень напряжения в контактной сети, а следовательно, и на токоприемнике электровоза не остается номинальным, а изменяется в широких пределах. Поэтому электрическое оборудование электровоза рассчитывают на работу при максимальном напряжении до 4000 В. В режиме рекуперативного торможения напряжение на токоприемнике может превысить эту величину и создать опасность пробоя изоляции или возникновения кругового огня по коллекторам тяговых двигателей или вспомогательных машин. Для устранения таких режимов на электровозах устанавливают реле повышенного напряжения. Реле срабатывает и подает световой сигнал машинисту о повышенном напряжении.
Если электровоз работал в режиме тяги, то реле отключает ослабление возбуждения и переводит тяговые двигатели на полное возбуждение. В режиме рекуперации реле уменьшает ток независимого возбуждения генератора преобразователя для снижения э. д. с. тяговых двигателей, а если это не помогает, то отключает быстродействующий выключатель БВП-5 с выдержкой времени.
Кратковременное понижение напряжения на токоприемнике не опасно для оборудования электровоза. Однако за ним может последовать резкое увеличение напряжения, которое представляет опасность. Большое понижение напряжения связано, например, с отключением ближайшей от электровоза тяговой подстанции, когда энергию приходится получать от далеко расположенных соседних подстанций с большим падением напряжения в проводах контактной сети. Бросок напряжения в момент включения отключенной подстанции может вызвать опасный для оборудования электровоза бросок тока. Для предупреждения машиниста о понижении напряжения на электровозах устанавливают реле низкого напряжения, которые подают световой сигнал машинисту с тем, чтобы он принял необходимые меры (отключил тяговые двигатели или ввел в их цепь пусковой резистор).
Реле повышенного напряжения предназначено для подачи светового сигнала при повышении напряжения свыше 4000 В. При параллельном соединении тяговых двигателей в режиме тяги оно служит для отключения всех ступеней ослабления возбуждения, а в рекуперативном режиме — для уменьшения независимого возбуждения генератора преобразователя и отключения БВП-5 с выдержкой времени.
На электровозах ВЛ10 до № 1587 постройки ТЭВЗ устанавливали реле повышенного напряжения РПН-018, а начиная с № 1587 взамен него устанавливают реле новой конструкции РПН-496, максимально унифицированное с конструкциями реле: низкого напряжения РНН-497, рекуперации РР-498, реле перегрузки РТ-500 иРТ-502 и реле времени РЭВ-294.
Реле низкого напряжения служит для сигнализации о снижении напряжения в контактной сети. На электровозах ВЛ10 до № 1587 постройки ТЭВЗ устанавливали реле низкого напряжения РНН-048, а начиная с № 1587 вместо него устанавливают реле РНН-497.
Фрагмент работы с оформлением в формате PDF можно посмотреть ЗДЕСЬ
В комплект входит чертеж реле пергрузки на формате А1 в программе "Компас" (формат CDW)








