При влажных, покрытых грязью или смазкой рельсах, движении электровоза во время дождя, тумана или снегопада с составом на подъеме, а также при входе на кривую возможно боксова-ние колес. При сырой погоде боксование может быть довольно длительным. При сильном торможении электровоза в этих условиях
возможен юз, т. е. зажатие колес тормозными колодками и скольжение их по рельсам.
При боксовании частота вращения колес иногда достигает величины, при которой возможны обрыв проволочных бандажей якорей двигателей и другие повреждения машин. При юзе на колесах получаются местные выбоины — «лыски», требующие обточки бандажей.
Для предупреждения этих нежелательных явлений рельсы посыпают песком, что увеличивает сцепление колес с рельсами и позволяет реализовать более высокие силы тяги.
На электровозе запас песка находится в песочницах (бункерах), помещенных в кузове около боковых стенок. Засыпку песка в песочницы производят через люки, расположенные на крыше локомотива.
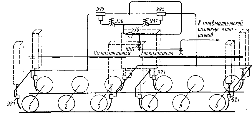
На электровозах, начиная с № 003, в кузове имеется десять песочниц общим объемом 1250 л. На электровозах, выпускаемых с 1963 г., отсутствуют песочницы второй и пятой осей, а общий объем их составляет 1200 л (рис. 277).
На электровозах выпуска 1962 г. подсыпка песка происходит одновременно под колесные пары 1, 2 я 4 при движении вперед первой кабиной управления и под колесные пары 6, 5 я 3 при движении вперед второй кабиной (на электровозах выпуска 1963 г. соответственно под колесные пары 1, 4 я 6, 3).
Сжатый воздух к форсункам песочниц 921 подается из питательной магистрали через разобщительный кран 989, разобщительный кран 1001 и клапан песочницы 995. Открытием и закрытием этого клапана управляет электромагнитный вентиль 936 или 937, который также получает сжатый воздух от питательной магистрали через разобщительный кран 1001 и редукционный клапан 979 (рис.278), отрегулированный на давление 7 кгс/см2. К корпусу 4 клапана с помощью гаек 3 и патрубков 2, имеющих внутреннюю резьбу, подводятся трубопроводы от питательной магистрали, и клапанов песочниц. К седлу 7, ввернутому в корпус 4, пружиной 6 прижимается

Рис. 277. Пневматическая схема пескоподачи
клапан 8. Верхний конец пружины упирается в пробку-гайку 5. К нижней части корпуса 4 болтами прикреплен стакан 12.
Между корпусом 4 и стаканом 12 зажата диафрагма 16, средняя часть которой находится между верхней / и нижней 9 тарелками. Верхняя тарелка упирается в хвостовик клапана 8, на нижнюю тарелку давит пружина 11, помещенная между направляющими шайбами 10 и 14. Нижняя шайба 14 удерживается регулировочной гайкой 15, застопоренной винтом 13.
Когда давление в полости Б равно или выше 7 кгс/см2, давление воздуха над верхней тарелкой 1 преодолевает силу пружины 11, и обе тарелки вместе с диафрагмой 16 опускаются вниз, так что хвостовик клапана 8 в закрытом состоянии не касается верхней тарелки /. В этом положении клапан 8, прижатый к седлу 7 пружиной 6 и давлением воздуха в полости А, не дает возможности сжатому воздуху перетекать из полости А в полость Б.
Если давление в полости Б упадет ниже 7 кгс/см2, то пружина 11 преодолеет силу давления воздуха, находящегося над диафрагмой 16, и обе тарелки вместе с диафрагмой переместятся вверх и отожмут от седла клапан 8. При этом сжатый воздух из полости А начнет перетекать в полость Б до тех пор, пока давление в последней повысится до 7 кгс/см2 и клапан 8 снова закроется. Редукционный клапан регулируют гайкой 15 с предварительным отвертыванием винта 13. При сжатии пружины 11 давление, поддерживаемое в полости Б, увеличивается, при ослаблении пружины — уменьшается.
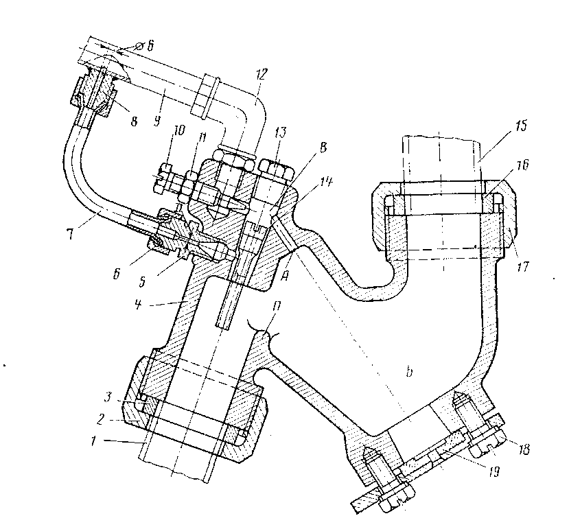
Песок из бункеров через трубу попадает в форсунку, откуда сжатым воздухом по гибкому резиновому шлангу, трубе и наконечнику направляется под колеса электровоза. Форсунка (рис. 279) представляет собой чугунный корпус 4, к верхнему колену которого при помощи накидной гайки 17 присоединен трубопровод 15, подводящий песок из бункера. К нижнему колену накидной гайкой 2
присоединен трубопровод /, подающий песок к наконечнику. Вследствие наклонного положения форсунки и наличия порога Я песок не может идти самотеком через форсунку в трубопровод.
Подача песка производится сжатым воздухом, поступающим через штуцер 12, ввернутый в верхний угол корпуса форсунки. Штуцер 12 трубкой 9 соединен с клапаном > песочницы 995 (см. рис. 277).


Рис. 279. Форсунка песочницы
Из штуцера через боковой канал, просверленный в корпусе форсунки, воздух поступает в небольшую камеру В (см. рис. 279). Канал, ведущий в камеру, может перекрываться винтом 10, чем регулируется количество поступающего воздуха, а следовательно, уменьшается или увеличивается подача песка. Положение винта фиксируют гайкой //.
Из камеры внутрь форсунки воздух поступает по двум каналам: одна его часть проходит в узкий канал.Л и поступает в ту часть корпуса, где находится песок (в полость Б). Песок разрыхляется воздухом, выходящим из этого канала, и начинает течь в трубопровод 1. Другая часть воздуха из камеры проходит в форсунку через сопло 14, ввернутое в дно камеры и направленное в сторону трубопровода. Поступивший в этот трубопровод песок подхватывается воздухом, выходящим из сопла, и гонится под колесо электровоза. Для прочистки сопла 14 и канала А вверху камеры имеется пробка 13. Корпус форсунки прочищается через отверстие, закрываемое крышкой 19, притянутой к корпусу 4 болтами 18.
Часть воздуха из трубы 9 по трубе 7 поступает в сопло 5 и далее, потеряв скорость, вдоль наружной части сопла 14 в корпус песочницы. Труба 7 прикреплена к штуцеру 8, приваренному к трубе 9 и к соплу 5 накидными гайками 6".
Уплотнениями между трубопроводами 1 и 15 и корпусом 4 служат прокладки 3 и 16, выполненные в виде колец из резины.
Форсунки песочниц колесных пар 1, 3, 4 и 6 расположены под нижними продольными балками рамы кузова, а колесных пар 2 и 5 — внутри кузова электровоза — под бункерами для песка.
Клапан песочницы (рис. 280) обеспечивает свободный проход воздуха от питательной магистрали к форсункам песочниц по трубопроводу диаметром '/г". Управляет его работой электромагнитный вентиль, имеющий небольшой проход для сжатого воздуха (трубопровод диаметром
Между чугунным корпусом 5 и крышкой 7, стянутыми шпильками с гайками 10, зажата выполненная из сплава алюминия диафрагма 9. Над диафрагмой помещен плунжер 6, над которым находится латунный клапан 4, прижатый к латунному седлу / пружиной 3. Клапан имеет резиновое уплотнение. Сжатая пружина удерживается в этом состоянии пробкой 2. В крышку 7 ввернут штуцер 8, к которому присоединяют трубопровод, идущий к электромагнитному вентилю. При возбуждении катушки вентиля 936 или 937 (см. рис. 277) сжатый воздух подводится под диафрагму 9 (см. рис. 280), последняя вместе с плунжером 6 перемещается вверх, давит на хвостовик клапана 4 и сжимает пружину 3. Клапан открывается и сжатый воздух из питательной магистрали свободно проходит к форсункам песочниц.
Так как воздух к форсункам перетекает с большой скоростью, то давление над диафрагмой 9 оказывается ниже давления под диафрагмой и последняя не опускается. После прекращения возбуждения катушки вентиля давление воздуха под диафрагмой падает, плунжер 6* перемещается вниз, а клапан 4 перекрывает доступ сжатого воздуха к форсункам песочниц. Воздух из-под -диафрагмы выходит в атмосферу через небольшое отверстие А, сечение которого значительно меньше сечения, подводящего сжатый воздух под диафрагму трубопровода. Поэтому при возбуждении катушки клапана выход воздуха через отверстие А лишь незначительно снижает давление под диафрагмой.
|
|