
Для подачи звуковых сигналов на электровозе установлены тифоны и свистки (рис. 274): с каждого конца по тифо-ну 932 (рис. 275) и свистку 933. Свистки служат для подачи сигналов в пределах
населенных пунктов и при маневровой работе. Тифоны и свистки установлены в лобовых частях кузова над потолком кабины машиниста. Тифон находится с правой стороны от прожектора, свисток — с левой.
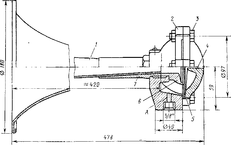
Звук у тифона получается вследствие колебания мембраны 5 при прохождении воздуха. Сжатый воздух по каналу А в корпусе 2 поступает к мембране, несколько выгибает ее в сторону крышки 4 и открывает выход в атмосферу. В результате этого давление в канале, а также у мембраны снижается, и она под действием силы упругости возвращается в прежнее положение. Давление воздуха снова повышается и отклоняет мембрану, которая приходит в колебательное движение и начинает издавать звук, усиливаемый трубкой 1.
Мембрана 5 тифона состоит из трех круглых латунных пластин толщиной 0,8 мм, зажатых между корпусом 2 и крышкой 4 болтами 3. Конец трубки / плотно вставлен в наконечник 7, ввернутый

Рис. 275. Тифон

Рис. 276. Двойной клапан тифонов
в корпус 2. Продолжением наконечника служит сопло 6. В это сопло упирается мембрана 5. При двух тифонах один ставят высокого тона, другой — низкого.
Трубки 1 тифонов направлены вперед по ходу движения электровоза. Снаружи тифоны закрыты решетками из пластмассы.
Управление тифонами производится ножной кнопкой 983 или двойными клапанами 934, смонтированными в каждой кабине как со стороны машиниста, так и со стороны его помощника (см. рис. 274).
Все детали двойного клапана (рис. 276) собраны в корпусе 6. Сжатый воздух подводится по трубопроводу, подключенному к патрубку с отверстием '/У'- От клапана воздух отводится по трубопроводам, подсоединенным к патрубкам с отверстиями 3/8". Один из клапанов служит для управления тифоном низкого тона, второй — для управления тифоном высокого тона или свистка.
Клапан 4, имеющий уплотняющее кольцо 5, прижимается пружиной 9 к обработанной поверхности внутренней перегородки корпуса 6. Эта поверхность заменяет собой седло. Пружина 9 удерживается заглушкой 10. Втулка 8 служит направляющей для клапана 4. Во внутренней проточке заглушки 10 помещена манжета (уплотнение) 7. В хвостовик клапана 4 упирается шток 2, на который навинчена кнопка /. На штоке 2 имеются три кольцевые проточки, служащие для уплотнения. Штифт 3 препятствует выпаданию штока из корпуса.
При нажатии на кнопку / шток отжимает клапан 4 от «седла» и сжатый воздух из полости А начинает перетекать в полость Б, т. е. начинает звучать тифон. Так как кнопки двойного клапана расположены близко друг от друга, то одной рукой машинист или его помощник может нажать одновременно на два клапана и открыты питание тифонам низкого и высокого тона или свистка.
На электровозах выпуска 1963 г. и последующих наряду с ручными установлены также ножные кнопки тифонов.
|
|