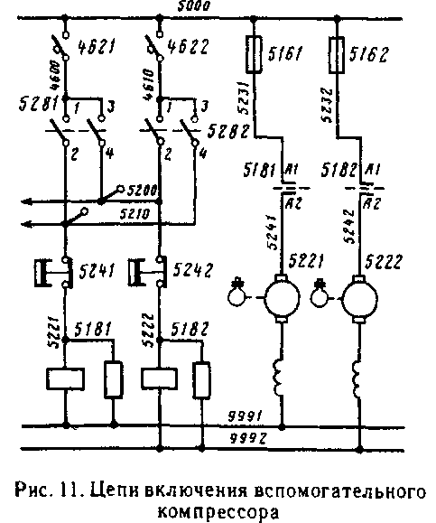
Выключатель вспомогательного компрессора 528 имеет следующие положения: 1 — "Включена автоматическая подача песка"; 2 — "Включен вспомогательный компрессор передней секции"; 3 — "Включен вспомогательный компрессор задней секции"; 4— "Включены оба вспомогательных компрессора"; 5 — "Отключена автоматическая подача песка".
Во 2-м положении выключателя катушка контактора 5181 включения двигателя вспомогательного компрессора получает питание по следующей цепи (рис. 11): провод 5000, АЗВ 4621, провод 4600, контакты / — 2 выключателя 5281, замкнутые во 2-м и 4-м положениях, провод 5210, контакты реле давления 5241, провод 522/, катушка контактора 5181, провод 9991.
При постановке выключателя в 3-е положение образуется цепь: контакты 3 — 4 выключателя 5281, замкнутые в 3-м и 4-м положениях, провод 5200, контакты реле давления 5242, провод 5222, катушка контактора 5182, провод 9992.
В 4-м положении выключателя 5281 замыкаются контакты 1 — 2 и J — 4, в результате чего одновременно получают питание катушки контакторов 5181 и 5182. При замкнутых контактах / — 2,3—4 выключателя 528 от провода 5210 или 5200 получают питание сигнальные лампы а8 на панелях сигнализации 827,828.

Реле 524 обеспечивают автоматическое отключение контакторов 518 при достижении давления в резервуаре вспомогательного компрессора 400 кПа и их включение при снижении давления до 370 — 380 кПа.
После включения контактора 518 образуется цепь: провод 5000, предохранитель 516, провод 523, контакты AI — А2 контактора 518, провод 524, якорь двигателя вспомогательного компрессора 522, провод 999.
|
|