В качестве приводов вентиляторов систем вентиляции пассажирских салонов и кабины машиниста на электропоездах переменного тока используются асинхронные трехфазные двигатели АОМ или 4Х с короткозамкнутым ротором. Это двигатели закрытого исполнения, в которые полностью исключено попадание воды. Для ввода питающего кабеля в коробках выводов предусмотрено сальниковое водонепроницаемое уплотнение.
На электродвигателях осуществлена аксиальная система вентиляции. Для перемешивания воздуха внутри электродвигателя применены крылья на роторе. Так как эти'двигатели отличаются только размерами, то для примера рассмотрим конструкцию только двигателя АОМ-32-4 для привода вентилятора системы вентиляции вагона.
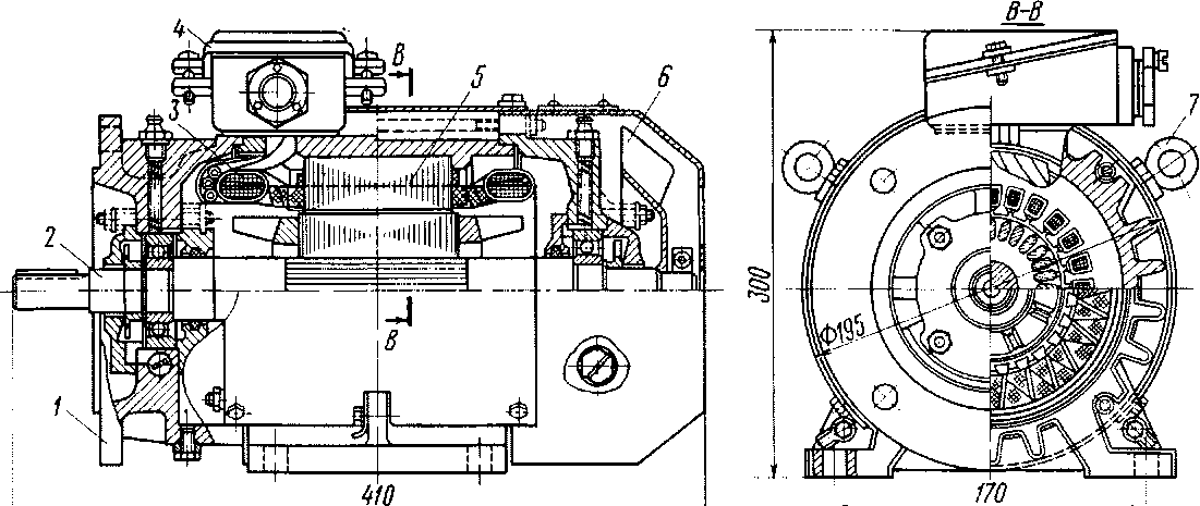
Электродвигатель АОМ-32-4 состоит из статора 5 (рис. 84), ротора 2, коробки зажимов 4, подшипниковых щитов /. Вентилятор внешнего обдува 6 расположен со стороны, противоположной свободному концу вала. Корпус статора 5 и подшипниковые щиты выполнены из алюминиевого сплава АЛ-9.

Рис. 84. Электродвигатель АОМ-32-4
Обмотка 3 статора трехфазная, однослойная, состоит из мелких секций, изготовленных из круглого обмоточного провода ПСДКТ. Коробка зажимов 4 съемная, ее можно устанавливать как для правого расположения подводящего кабеля, так и для левого относительно основного свободного конца вала. Для перемещения двигателя имеются рым-болты 7.
Ротор двигателя вращается в подшипниках № 306. Посадка подшипников на вал плотная. Один из подшипников (со стороны вентилятора) ограничивает перемещение ротора в осевом направлении, так его внутренняя обойма фиксируется на валу пружинным кольцом, а наружная — подшипниковыми крышками. Подшипник со стороны свободного конца вала выполнен плавающим в ступице щита. Этим достигается компенсация линейного расширения вала при нагреве электродвигателя.
В подшипниковых щитах имеются отверстия для спуска конденсата и установлены масленки и плунжеры для наполнения и полной замены смазки без разборки электродвигателя.

Рис. 85. Вентиляционный агрегат типа ВНИИСТО:
/ — ротор вентилятора; 2 — рама; .т — электродвигатель типа АОМ-32-4; 4 — кожух вентилятора
Конструктивно устройство для пополнения смазки выполнено следующим образом. В верхней части подшипникового щита установлена масленка. Каналы, просверленные в щите, образуют маслопровод, имеющий выход во внутреннюю крышку подшипниковой камеры. Оттуда смазка проходит между шариками подшипника и попадает в наружную крышку подшипниковой камеры, которая имеет в нижней расширяющейся части канал, соединяющийся со специальным отверстием в щите, заглушённым металлическим плунжером.
С помощью этого плунжера удаляют излишнюю смазку из подшипникового узла при ее замене. В электродвигателях АОМ нормальные осевые усилия допускают применение шариковых подшипников средней серии.
При сборке вентиляционного агрегата, насаживая на свободный конец вала муфту или вентиляторное колесо, для недопущения возможного повреждения подшипника противоположный конец вала необходимо снабдить упором. Все насаженные на вал детали должны быть тщательно динамически отбалансированы.
Пуск в ход и остановка электродвигателя вхолостую или с нагрузкой производятся непосредственным подключением статорной обмотки к питающей сети или соответственно отключением статорной обмотки от питающей сети контактором или магнитным пускателем.
Схемой защиты предусмотрены тепловые реле, автоматически отключающие электродвигатели при перегрузках, которые вызывают перегрев обмотки двигателя, или автоматические выключатели, отключающие двигатели как при перегрузках двигателя, так и при пробое изоляции статорной обмотки. Аналогичную конструкцию имеют все остальные асинхронные двигатели.
В процессе эксплуатации необходимо содержать в полной исправности электродвигатели, а также их питающую сеть, аппаратуру управления и защиту, соблюдать чистоту, не допускать попадания на вентилятор обтирочных материалов, мелких предметов и т. п., следить за исправностью защитного заземления корпуса и величиной сопротивления изоляции обмоток статора.
Сопротивление обмоток статора относительно корпуса должно быть не менее 0,5 МОм. Оно проверяется при каждом ТР-1.
Осматривают соединения двигателя с приводным механизмом, вентиляторы и крепление кожухов. Проверяют нагрев подшипниковых щитов, при необходимости добавляют смазку.
При ТР-3 производят ревизию электродвигателей с разборкой. При этом проверяют состояние подшипников и при необходимости заменяют. Производят пропитку обмоток статора и сушку его. После сборки производят испытания на испытательных стендах согласно Правилам ремонта тяговых и вспомогательных электрических машин электроподвижного состава.
Для принудительной подачи в пассажирские салоны теплого воздуха (от калориферов) зимой и наружного воздуха летом на электропоездах установлены вентиляционные агрегаты 013/000 и 014/000. Конструктивных различий они не имеют. Каждый вентиляционный агрегат состоит из электродвигателя АОМ-32-4 и вентилятора ВНИИСТО (рис. 85). Производительность агрегата 4000 м3/ч при давлении воздуха 35 кгс/м2 и частоте вращения 1390 об/мин.
|
|