К цепям управления вспомогательными машинами относятся низковольтные цепи, предназначенные для включения (пуска) и выключения электродвигателей компрессоров, вентиляторов, насосов, контактора отопления поезда от электровоза, а на электровозах ЧС41' также цепи управления жалюзи в системе реостатного тормоза. Принципы построения цепей управления вспомогательными машинами на электро-
возах ЧС4 и ЧС! одинаковы, поэтому, как и в предыдущих разделах, будем рассматривать работу этих цепей по схеме электровоза ЧС4 с указанием отличий, имеющихся в схеме электровоза ЧС4Т.
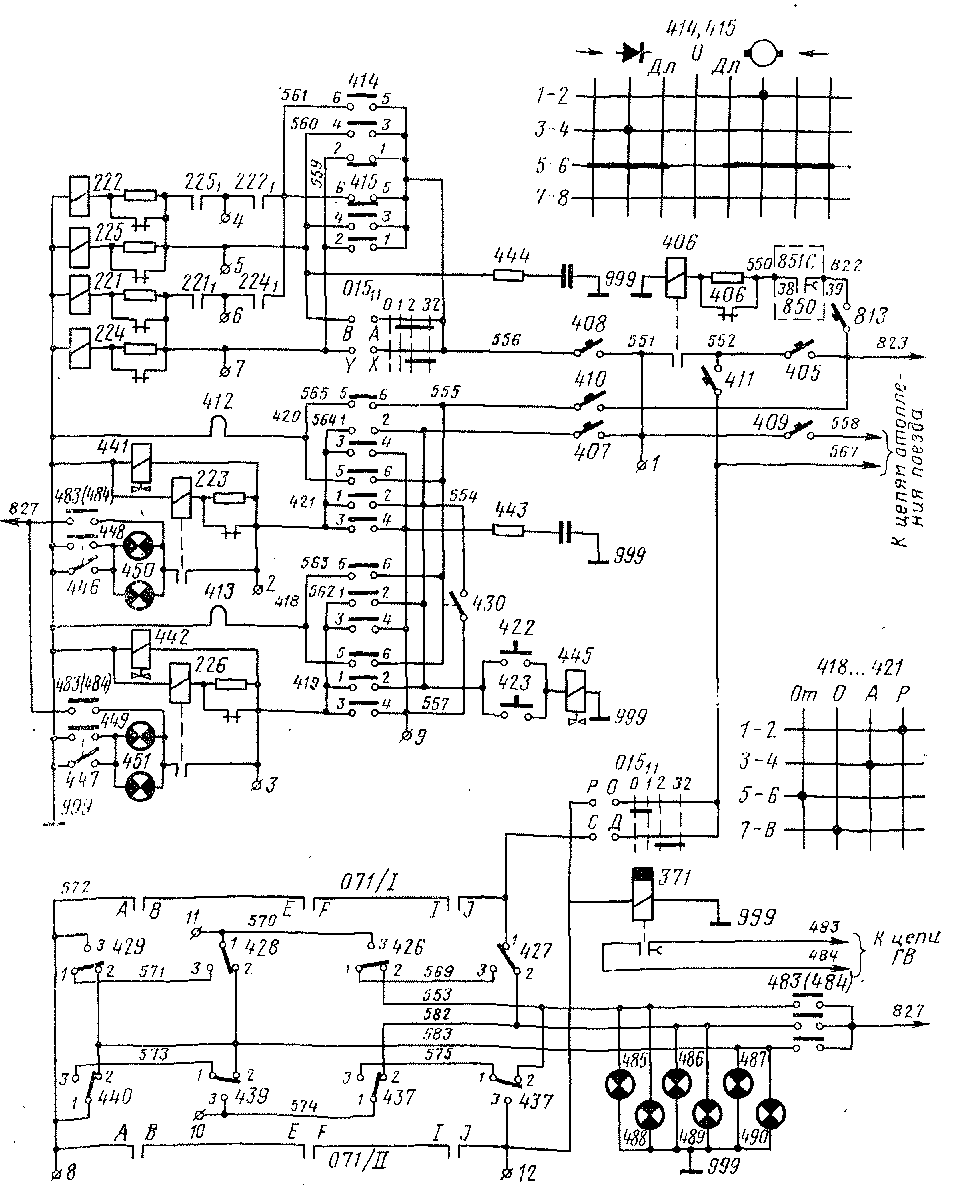
Работа вспомогательных машин возможна только в случае, если напряжение в контактной сети не ниже минимальной величины. Для выполнения этого условия служит контактор 406 (рис. 76), замыкающие контакты которого находятся в цепи питания пусковой аппаратуры вспомогательного привода, а катушка включена через замыкающие контакты реле минимального напряжения 851С в блоке защит 850.
Защиту от токовых перегрузок цепей управления вспомогательными машинами осуществляют АЗВ 405, 407—411 (АЗВ 408 на электровозах ЧС4Т не используется). Пуск электродвигателей компрессоров и вентиляторов на электровозах ЧС4 одноступенчатый, на ЧС4Т — плавный. Включение электродвигателей компрессоров раздельное и осуществляется переключателями 418 — 421, расположенными на пультах управления электровозом, причем питание на катушки контакторов 223, 226 (или пусковые панели 2203, 220в на электровозах ЧС4Т) может быть подано, как через реле давления 430 (контакты 3-4 переключателей), так и в обход его (контакты 1-2). Теми же переключателями 418 — 421 (контакты 5-6) включают нагревательные элементь 412, 413 в картерах компрессоров. Отметим, что питание на нагревательные элементы приходит от аккумуляторной батареи через АЗЕ 410 в обход контактов реле 406, и, следовательно, масло компрессоров можно разогреть еще до подъема токоприемников.
Для облегчения режима пуска мотор-компрессоров (уменьшения противомомента на валу компрессоров) на электровозах ЧС4 используются электропневматические разгрузочные вентили 441, 442, катушки которых включены параллельно катушкам контакторов 223, 226. На электровозах ЧС4Т благодаря наличию системы плавного пуска мотор-компрессоров необходимость в использовании разгрузочных вентилей отпала, и они не применяются.
На электровозах начиная с ЧС4-162 установлены компрессорь: K2-lok-2, у которых контролируется давление смазки. При повреждении в системе смазки специальные реле давления 446, 447 своимг контактами включают сигнальные лампы 448 — 451 на пультах управления электровозом. На электровозах ЧС4Т включение указанных сиг нальных ламп осуществляют вспомогательные реле 441, 442, напря жение на катушки которых подают контакты реле давления 446, 447 Электродвигатели вентиляторов включаются автоматически npi пуске электровоза. Контакторы 222, 225, осуществляющие пуск элек тродвигателей вентиляторов выпрямительных установок и электродви гателей вентиляторов сглаживающих реакторов, резисторов ослабле ния поля и маслоохладителей тягового трансформатора, включаютс: после набора 1-й позиции контроллера машиниста, так как при это! замыкаются блок-контакты А-В переключателя ступеней 015п в цеп: катушек указанных контакторов. Аналогично включаются и контав торы 221, 224 электродвигателей вентиляторов тяговых двигателей но только после набора 2-й позиции контроллера (блок-контакп X—Y переключателя ступеней). После возвращения контроллер
на нулевую позицию вентиляторы не прекращают работу, так как перечисленные контакторы после включения создают цепи самоподпитки собственных катушек через свои блок-контакты и контакты 5-6 переключателей 414, 415. Этими же переключателями можно включать и выключать (в обход блок-контактов ПС) электродвигатели вентиляторов: при замкнутых контактах 1-2 напряжение подается на катушки кон-

Рис. 76. Схема цепей управления вспомогательными машинами электровоза ЧС4, питающихся выпрямленным током
такторов 222, 225, при замкнутых контактах 3-4 включаются контакторы 221, 224.
Включение электродвигателей вентиляторов на электровозах ЧС4Т осуществляется также переключателями 414, 415, которые подают напряжение на электронные блоки пусковой аппаратуры в управляемых выпрямительных установках-2201( 2202, 220^ и 220ъ. При этом происходит плавный пуск электродвигателей 239, 240, 244, 245 путем регулирования угла открытия тиристоров в соответствующих выпрямительных мостах. В связи с тем что на электровозах ЧС4Т охлаждение тяговых двигателей и выпрямительных установок осуществляется общими вентиляторами, автоматическое включение -всех электродвигателей вентиляторов происходит на 1-й позиции контроллера машиниста через блок-контакты А-В переключателя ступеней 015и.
Еще одно отличие в схеме управления мотор-вентиляторами электровоза ЧС4Т заключается в том, что цепь самоподпитки пусковой аппаратуры создается вспомогательным реле 452. Напряжение на катушку этого реле приходит или через контакты /—2 'переключателей 414, 415 или через блок-контакты А-В переключателя ступеней 015и в тяговом режиме, а в режиме электрического торможения — через контакты реле 357. Реле 452 становится на самоподпитку через контакты 3-4 переключателей 414, 415, замкнутых на фиксированных позициях этих переключателей. Для выключения электродвигателей вентиляторов необходимо разорвать указанную цепь самоподпитки, что достигается постановкой переключателей 414, 415 в положение с самовозвратом.
Вторая пара контактов реле 452 включена в цепь питания катушки электропневматического вентиля 453, который в возбужденном состоянии открывает всасывающие жалюзи в воздушных трактах системы охлаждения тормозных резисторов. Открыть всасывающие жалюзи можно также постановкой переключателей 426 (427) в положение «Всас». При этом замыкаются контакты 1-2 переключателей, включенные в цепь питания катушки вентиля 453 параллельно контактам реле 452.
Жалюзи, расположенные со стороны выброса теплого воздуха из блока тормозных резисторов, открываются с помощью электропневматического вентиля 454. Напряжение на его катушку подается при электрическом торможении автоматически через контакты реле 327 или вручную — постановкой переключателей 426 (427) в положение «Всас + Вых», при котором замыкаются их контакты 3—4.
Для исключения возможности работы принудительно охлаждаемого тягового оборудования при отсутствии вентиляции (такой режим может возникнуть, например, в случае выхода из строя вентилятора или приводного электродвигателя) имеется цепь контроля работы мотор-вентиляторов. На электровозах ЧС4 наличие воздуха в аэродинамических трактах контролируют воздухоструйные реле, которые своими переключающими контактами воздействуют на отключение ГВ и включают световую сигнализацию на пультах управления электровозом, если количество охлаждающего воздуха недостаточно.
Если контроллер находится на нулевой позиции и вентиляторы еще не работают, реле времени 371, замыкающие контакты которого
находятся в цепи удерживающей катушки ГВ, получает питание от провода 823 через АЗВ 405 и 411 и блок-контакт О— Р. переключателя ступеней 015и.
После набора 2-й позиции, т. е. когда необходимые для езды электровоза вентиляторы ВУ и тяговых двигателей работают, питание катушки реле времени 371 от провода 823 прервется блок-контактами 01511г замкнутыми только на нулевой и 1-й позициях контроллера машиниста. Но реле 371 имеет выдержку на отключение около 5 с. Поэтому при нормальном пуске вентиляторов контакты реле 371 не отключаются, так как его катушка до истечения 5 с получит питание в обход блок-контактов 015 п, через контакты - 1-3 воздухоструйных реле 426 — 429. Дело в том, что как только напор воздуха вентиляторов достигнет установленной величины, воздухоструйные реле переключат свои контакты в положение 1-3. Если же по какой-либо причине напор воздуха окажется ниже установленного, то соответстующее воздухо-струйное реле переключит свои контакты в положение 1-2. В этом случае цепь питания катушки реле 371 не восстановится и оно своими замыкающими контактами отключит ГВ. Одновременно через контакты 1-2 получат питание сигнальные лампы: 485 (488) — при остановке вентиляторов тяговых двигателей, 486 (489) — вентиляторов сглаживающих реакторов, резисторов ослабления поля и маслоохладителей тягового трансформатора, 487 (490) — вентиляторов выпрямительных установок. На электровозах до ЧС4-062 сигнализация работы вентиляторов выполнена менее подробной: во всех случаях остановки вентиляторов загораются общие сигнальные лампы (на этих электровозах они обозначены номерами 422 в первой кабине машиниста и 423 — во второй).
Если в связи с повреждением вентиляторов отключена одна из групп тяговых двигателей, то блок-контакты отключателей 071 (А-В, E-F, I-J) закорачивают соответствующие контакты воздухоструйных реле, и сигналы на пульты управления электровозом не приходят.
Аналогично описанному построены цепи контроля работы системы охлаждения тягового оборудования на электровозах ЧС4Т. В качестве контрольной аппаратуры использованы реле мощности, встроенные в выпрямительные установки 020, 022. В случае остановки или незапуска мотор-вентиляторов световая сигнализация на пультах управления осуществляется лампами 437 (438) — вентиляторы тягового оборудования первой тележки электровоза и 439 (440) — вентиляторы тягового оборудования второй тележки. При отключении вручную одного или нескольких тяговых двигателей закорачивание соответствующих контактов реле "мощности осуществляется, как н на электровозах ЧС4, блок-контактами отключателей 071.
В режиме электрического торможения контроллер машиниста возвращается на нулевую позицию, на которой блок-контакты 0-Р переключателя ступеней восстанавливают цепь питания катушки реле 371 в обход контактов реле мощности. Следовательно, при остановке мотор-вентиляторов выключение замыкающих контактов реле мощности не приведет к обесточиванию реле 371 и последующему отключению ГВ. Чтобы этого не произошло для обеспечения контроля за работой мотор-
вентиляторов при торможении дополнительно использованы блок-контакты контактора 037, который включается" при реостатном торможении. В тормозном режиме размыкающие блок-контакты gl — g8 контактора 037 разрывают цепь питания катушки реле 371 через блок-контакты 0—Р переключателя сту-пеней*0/5п, а замыкающие контакты g'3-g 4 контактора 037 восстанавливают контрольные цепи через контакты реле мощности, в том числе и цепи сигнальных ламп.
Последнее отличие цепей управления мотор-вентиляторами электровозов ЧС4Т от соответствующих цепей электровозов ЧС4 заключается в том, что пуск электродвигателей вентиляторов 223, 224 маслоохладителей тягового трансформатора (см. рис. 66) осуществляется автоматически контакторами 0'52:, 0152s в зависимости от температуры трансформаторного масла, которая контролируется термостатами 0 1 525 (уставка включения — 50° С) и 0152в (уставка включения —70° С).
К цепям управления вспомогательными машинами относится также применяемый на электровозах начиная с ЧС4-162 электропневматический вентиль 445, служащий для отвода влаги из главных резервуаров. Напряжение на катушку этого вентиля можно подать кнопками 422, 423, расположенными на пультах управления электровозом — по одной в каждой кабине машиниста.
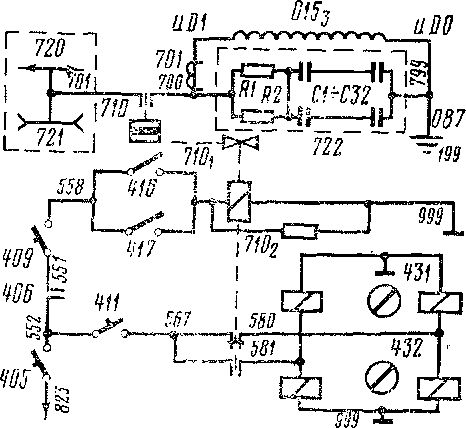
Отопительную" магистраль вагонов поезда подключают к электровозу с помощью штепсельных соединений 720 (штепсель) и 721 (гнездо), (рис. 77). Питание в магистраль поступает от обмотки отопления 0153 тягового трансформатора, к которой штепсельные соединения подключаются силовыми контактами электропневматического контактора 710. Цепи управления этим контактором, как и цепи управления вспомогательными машинами, получают питание от общего плюсового провода 823 через АЗВ 405 и контакты контактора вспомогательных машин 406, контролирующего напряжение в контактной сети. Включение контактора 710 происходит при замыкании специальным ключом выключателей 416 или 417, расположенных на задних стенах кабин машиниста на электровозах ЧС4 и на пульте управления электровозом— на электровозах ЧС4Т. О положении контактора отопления поезда сигнализируют указатели положения 431 (432), катушки которых питаются через блок-контакты контактора 710 от проводов 580 и 581. Цепи указателей положения защищены автоматическим защитным выключателем 411.

Рис. 77. Схема цепей отопления поезда от электровоза ЧС4
|
|