В отличие от отечественного электроподвижного состава на электровозах ЧС4 и ЧС4Т использован блочный способ расположения оборудования, причем ряд высоковольтных аппаратов и установок находится вне высоковольтной камеры. В частности, выпрямительные установки, контакторы, реверсоры, отключатели тяговых двигателей размещены в отдельных шкафах со съемными щитами, оборудованными

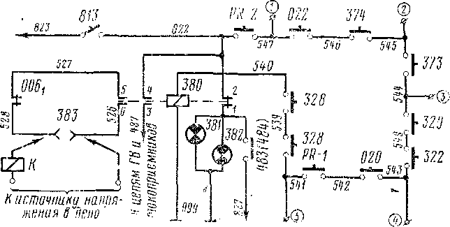
Рис. 75. Схема цепей блокировок безопасности электровоза ЧС4
блокировками безопасности, а на электровозах ЧС4Т также блокировочными защелками для обеспечения защиты обслуживающего персонала от попадания под высокое напряжение. Если какое-либо высоковольтное оборудование не заблокировано, невозможно поднять токоприемники и включить ГВ, так как цепь их питания разрывается в этом случае замыкающими контактами 3—4 реле безопасности 380 (рис. 75). Напряжение на катушку реле безопасности 380 подается через следующие последовательно включенные блокировки безопасности:
020, 022 [020'и \ — восемь блокировок съемных щитов выпря-022{] ) мительных установок;
РЯ-1, РЯ-2 ) —-две блокировки съемных шкафов с ре-[038/1,038/11] } версорами и отключателями тяговых двигателей;
373, 374 — две блокировки высоковольтной камеры;
322, 329 ,, — две блокировки сеток, закрывающих доступ к разъединителям токоприемников (только на электровозах ЧС4, причем до ЧС4-062 эти блокировки обозначены по схеме одним номером 322); 328 — две блокировки съемных щитов шкафа с контакторами и реле (только на электровозах ЧС4);
[021\] — одна блокировка управляемой выпрямительной установки для возбуждения тяговых двигателей при реостатном торможении (только на электровозах ЧС4Т).
Выключенное состояние реле безопасности сигнализируют на пультах управления лампы 381, 382, получающие питание через размыкающие контакты 1-2 реле 380. Третья пара контактов этого реле (5-6) включена в цепь розетки 383 (на электровозах до ЧС4-062 имеется две такие розетки—383 и 384). Через розетку напряжение подается на катушку к контактору питания вспомогательных машин электровоза от деповской сети. Таким образом, и от постороннего источника высокое напряжение может быть подано на электровоз только при заблокированном высоковольтном оборудовании. Реле безопасности 380 установлено в машинном помещении и запломбировано.
|
|