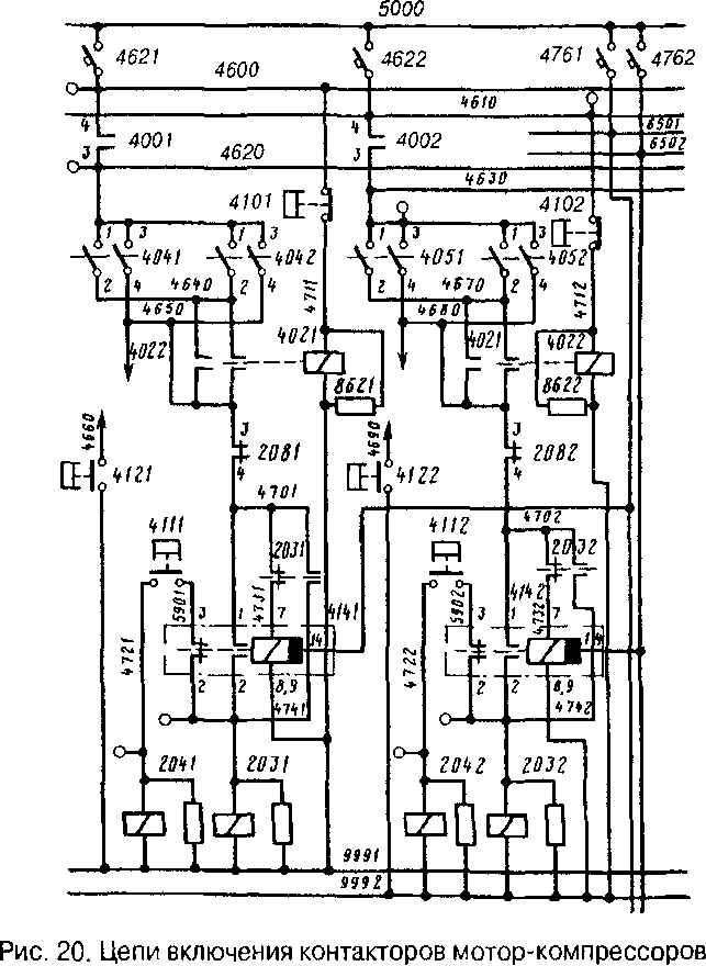
Управление контакторами мотор-компрессоров 1-й секции производится выключателем 404, 2-й секции — выключателем 405.
Выключатели 404 и 405 имеют следующие положения: 1 — "Выключено"; 2— "Автоматический пуск"; 3 — "Ручной пуск"; 4 — "Обогрев картера мотор-компрессора".
Автоматическое управление контакторами мотор-компрессоров осуществляется за счет включения и отключения реле управления 402, которое имеет свои прямые блок-контакты в цепи включения контакторов 203, 204.
Питание на катушку реле 402 поступает через контакты реле давления 410, замкнутые при давлении в ГР менее 750 кПа, по цепи (рис. 20): провод 5000, АЗВ 462, провод 4600 (4610), контакты реле

давления 410. провод 471, катушка реле 402, провод 999. Включившись, реле 402 замыкает свои прямые блок-контакты в цепи контакторов мотор-компрессоров обеих секций. При давлении в ГР более 900 кПа размыкаются контакты реле давления 410, и реле 402 отключается.
Во 2-м положении выключателя 404 образуется цепь: провод 5000, АЗВ 4621, прямые блок-контакты 4 — 3 контактора 4001, контакты / —2 выключателя 404, провод 4640, прямые блок-контакты реле 4022 и 4021, обратные блок-контакты 3 — 4 теплового реле 2081, провод 4701, обратные блок-контакты контактора 2031, провод 4731, зажим вывода 7 катушки реле времени 4141, провод 9991. На зажим 14 реле 4141 подается питание от провода 6501 Реле времени 4141, включаясь, замыкает свои прямые блок-контакты в цепи катушки контактора 2031, на которую начинает поступать питание.
После включения контактора 2031 замыкаются его прямые блок-контакты между проводами 4701 и 4741, и в результате контактор начинает получать питание через свои собственные блок-контакты. Обратные блок-контакты контактора 2031 между проводами 4701 и 4731 размыкаются, и катушка реле времени 4141 теряет питание. Через 3 с размыкаются прямые блок-контакты / — 2 реле 4141 в цепи питания контактора 2031, и замыкаются блок-контакты 3 — 2 реле 4141, обеспечивая подачу напряжения на катушку контактора 2041 по цепи: провод 4701, прямые блок-контакты контактора 2031, провод 4741, блок-контакты 2 — 3 реле времени 4141, провод 5901, блок-контакты реле давления 4111, замкнутые при давлении в ГР более 300 кПа, провод 4721, катушка контактора 2041, провод 9991.
Когда давление масла в картере компрессора достигает 200 — 300 кПа, реле давления 4121 замыкает свои блок-контакты, создавая

Рис 21. Цепи нагревательных элементов (в картерах компрессоров и под ногами машиниста) и вентиляторов (в кабине машиниста)
цепь питания сигнальной лампы а 10 на панелях сигнализации 827. 828 провод 4620, контакты / —2 выключателя 4041, провод 4640, блок-контакты реле 402, провод 4650, зажимы сигнальной лампы а10 (на рис. 20 не показаны), провод 4660, блок-контакты реле давления 4/2/, провод 9991.
При постановке выключателя 404 в 3-е положение (ручной пуск) замыкаются его контакты.?—4, и образуется цепь включения реле времени 4/4/ и контакторов 203, 204, минуя блок-контакты реле 402
При постановке выключателя 404 или 405 в 4-е (левое) положение замыкаются его контакты 5 — 6, и образуется цепь (рис.21): провод 5000, АЗВ 530, провод 525, контакты 5 — 6 выключателя 404 или 405, провод 5290 или 5300, нагревательный элемент 4/6 в картере мотор-компрессора, провод 999.
|
|