В связи с тем, что возможные повреждения в цепях управления песочницами и звуковыми сигналами, а также в цепях освещения электровоза непосредственно не влияют на работоспособность тягового оборудования, эти цепи не связаны электрически с системами отыскания неисправностей (на электровозах ЧС4 это система «БОН», на электровозах ЧС4Т — система «ПУМ—Шкода»).
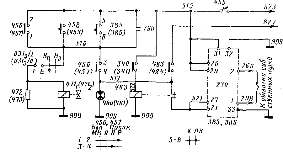
Подача песка под колеса электровоза осуществляется при возбуждении электропневматических вентилей 471Х, 4712 [470, 471] (рис. 80). Последовательно с их катушками включены блокировочные контакты 031 з/ь 031 з/п реверсоров, которые в зависимости от направления движения электровоза подготовляют цепь включения одного из указанных вентилей. Параллельно катушкам вентилей включены разрядные резисторы 472, 473. Напряжение на катушки вентилей можно подать с помощью ножной педали 458 (459) или кулачковым переключателем 456 (457). При постановке переключателя в положение Р (ручное

Рис. 80. Схема цепей управления электропневматическими вентилями песочниц электровоза ЧС4
управление подсыпкой песка) электропневматические вентили песочниц возбуждаются сразу/ Когда переключатель 456 (457) находится в положении А (автоматическое управление подсыпкой песка с помощью блока 270), создается цепь: общий плюсовой провод 823 — АЗВ 455— исполнительный элемент устройства противобоксовочной защиты между выводами 20, 26 и 21, 27 блока 270— размыкающие контакты реле 463, предназначенного для исключения автоматической подсыпки песка при движении электровоза на позициях ослабленного поля тяговых двигателей, — контакты 3-4 переключателя 456 (457) — блок-контакты 031 зп (031 ъ/и) реверсоров — катушка электропневматического вентиля 471г (471г) [470 (471)}. Описанная цепь обеспечивает автоматическое включение песочниц в начале боксования колесных пар электровоза. Во время автоматической подсыпки песка загораются красные сигнальные лампы 460 (461), расположенные на пультах управления электровозом.
Песок под колеса электровоза подается также при возникновении аварийных ситуаций, а именно, при срабатывании вспомогательного реле 790 автоматической локомотивной сигнализации (АЛСН) и в случае приведения в действие аварийного выключателя «Стоп» 385 (386) [319 (320)]. При этом питание на катушки электропневматических вентилей 471г (4712) [470 (471)} будет подано в обход переключателей песочниц 456 (457), а следовательно, независимо от их положения — Р или А. Отметим, что контакты реле 790 включены в рассмотренные цепи на электровозах, начиная с ЧС4-062, а контакты аварийного выключателя 385 (386) [319 (320)] и реле 463— с электровозов ЧС4-162. На электровозах ЧС4Т в цепь управления песочницами включены также коммутирующие элементы, связанные с системой управления реостатным тормозом—реле [326,478, 480} и блок регулирования ступеней тормозной силы [474].
Управление электропневматическими вентилями тифонов 541 и 543 (рис. 81) осуществляется либо с помощью ножной педали 538 (539), либо кнопками 548 (549) на пульте управления электровозом со стороны помощника машиниста. Катушки вентилей соединены параллельно, поэтому всегда одновременно включаются оба тифона.
Катушки электропневматиче-

Рис. 81. Схема цепей управления электропневматическими вентилями звуковых сигналов электровоза ЧС4
ских вентилей свистков 540 и 542 также включены параллельно и управляются кнопками 536 (537), вмонтированными в штурвал контроллера машини-стаГ и кнопками 550 (551), установленными рядом с маневровым контроллером.
На электровозах начиная с ЧС4-162 предусмотрено автоматическое включение всех звуковых сигналов после срабатывания аварийного выключателя «Стоп» 385 (386) [319 (320)}.
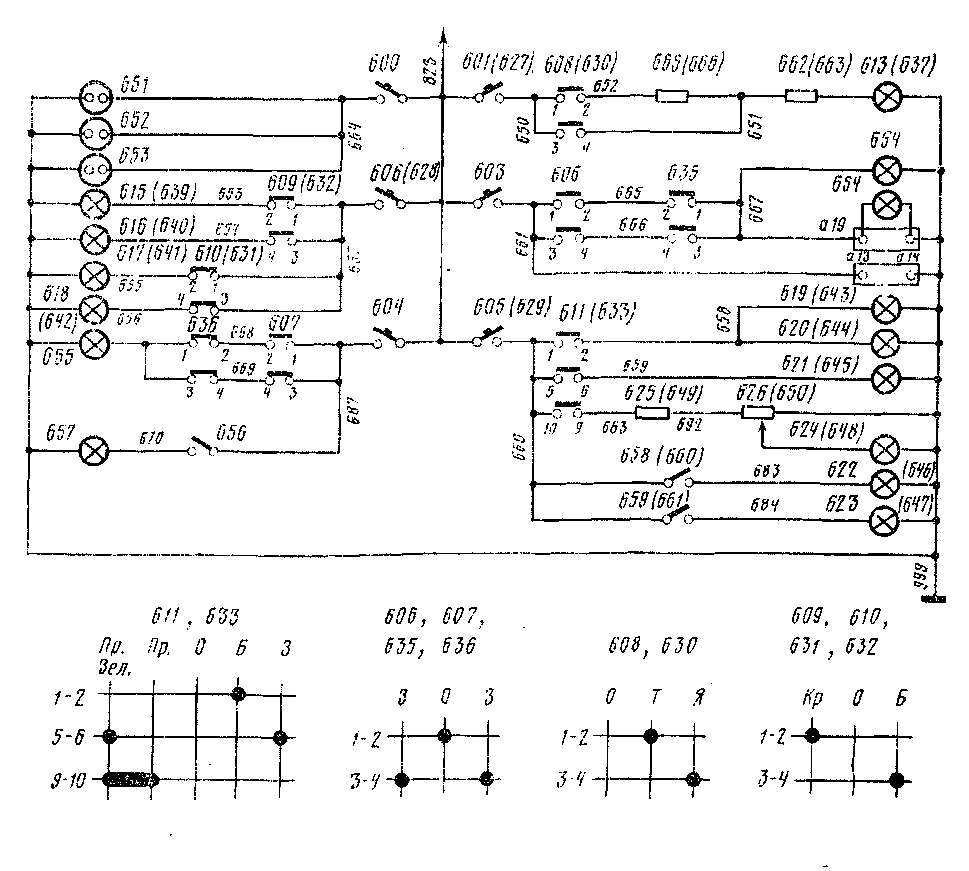
Рис. 82. Схема цепей освещения электровоза ЧС4
К цепям освещения (рис. 82) относятся цепи светильников внутри и снаружи электровоза, буферных фонарей, прожекторов, а также розеток постоянного тока. Указанные цепи питаются от аккумуляторной батареи (зарядного устройства) и разделены между собой таким образом, что повреждение одного из участков схемы не мешает работе остальных. Защита цепей от токовых перегрузок осуществляется посредством АЗВ 600—605 и 627 — 629.
В кабинах электровоза установлены лампы белого (619, 620 — в первой кабине, 643, 644 ■— во второй) и зеленого света (621 — в первой кабине, 645—- во второй). На электровозах ЧС4 до № 160 включительно во второй кабине имеются также две лампы освещения умывальника, включаемые собственным выключателем (на рис. 82 не показаны).
В пульты управления вмонтированы лампы 623, 647 — для освещения стола со стороны помощника машиниста и лампы 624, 648 для подсветки измерительных приборов. На электровозах ЧС4 в пультах со стороны машиниста расположены также лампы 622, 646 для освещения расписания движения, а на электровозах ЧС4Т лампы [614, 622} для освещения скоростемеров. Лампы 624, 648 включены через реостаты 626, 650, что позволяет регулировать степень освещенности

измерительных приборов. Включение и выключение указанных ламп осуществляется расположенными на пультах управления переключа -телями 611, 633 и 658—661 [659, 661].
Машинное помещение и высоковольтная камера освещаются двадцатью шестью (на ЧС4Т двадцатью тремя) светильниками 654, а для освещения ходовых частей использовано восемь светильников 655. Напряжение на лампы 654, 655 подается переключателями соответственно 606, 635 и 607, 636, расположенными в кабинах электровоза. Включение и выключение светильников возможно из любой кабины независимо от положения соответствующего переключателя в другой кабине.
Светильники 657, установленные в шкафу с контакторами и реле, получают питание через выключатель 656, расположенный на боковой стенке шкафа.
Буферные фонари белого и'красного света 615—618 н~639—642 можно включить и выключить переключателями 609, 610 и 631, 632.
В перечисленных цепях освещения использованы лампы мощностью 20 Вт. Исключение составляют лампы 619 и 643 в кабинах—«яркое освещение» по 40 Вт, и лампы 624, 648 для подсветки измерительных приборов на электровозах ЧС4Т по 5 Вт.
В прожекторах 613, 637 установлены лампы мощностью по 500 Вт. Яркость свечения регулируют переключателями 608, 630 путем подключения или отключения добавочных резисторов 665, 666. На электровозах до ЧС4-062 в прожекторах дополнительно установлены лампы 614, 638 ндакого накала (60 Вт), а регулировочные резисторы 665, 666 отсутствуют.
Розетки постоянного тока размещены следующим образом: 651 — по одной розетке в каждой кабине электровоза и одна розетка в кузове рядом с радиостанцией;
652— четыре розетки в машинном помещении;
653— четыре розетки на раме кузова снаружи электровоза.
|
|