Одним из основных требований при разработке схем электровозов является обеспечение защиты оборудования от опасных режимов, которые возможны в эксплуатации. Такие режимы могут возникнуть при коротких замыканиях в электрических цепях или вследствие превышений предельных параметров оборудования (токовые перегрузки, чрезмерное повышение или снижение величины напряжения и т. п.). При этом действие защитных устройств должно осуществляться в соответствии со степенью опасности нарушения режима работы оборудования. В одних случаях достаточно воздействия только на источник опасности — например, снижение силы тяги или восстановление сцепления колес с рельсами отключение электровоза от контактной сети главным выключателем.

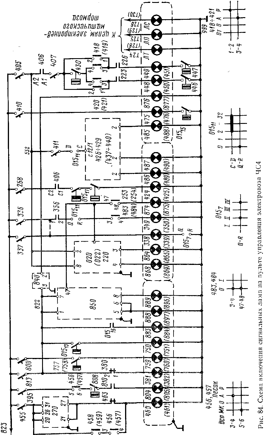
Указанные принципы защиты осуществлены на электровозах ЧС4 и ЧС4Т, причем во всех случаях срабатывания защитных устройств локомотивная бригада получает сигнал, указывающий цепь, в которой возник опасный режим. В связи с этим целесообразно рассматривать действие защит одновременно по двум схемам (см. рис. 84 и 85). Для удобства использования этих схем локомотивными бригадами сигнальные лампы (рис. 83) и электроизмерительные приборы на них изображены в той последовательности, в какой они расположены на пультах управления электровозом. При этом показаны только .приборы п лампы, установленные в первой кабине машиниста. Такие же приборы и лампы, относящиеся ко второй кабине, обозначены цифрами в круглых скобках. Этот же принцип использован по отношению к остальному оборудованию: на схемах изображены аппараты и
устройства, принадлежащие первой тележке электровоза, а относящиеся ко второй условно даны номерами в скобках.
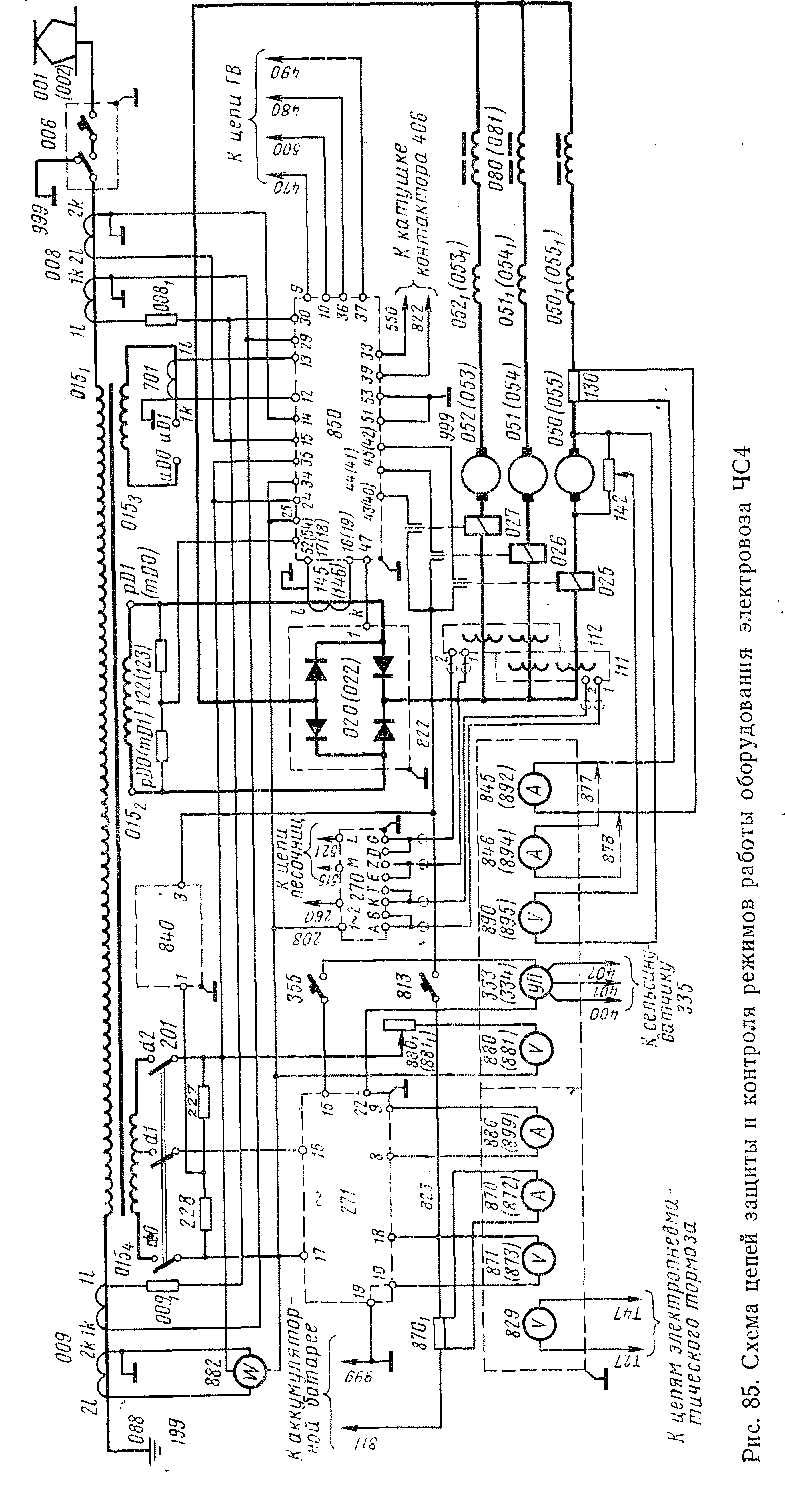
Большая часть устройств защиты при своем срабатывании вызывает отключение главного выключателя. Цепь удерживающей катушки ГВ разрывается либо собственными контактами защитных аппаратов, либо с помощью блока защит 850 (см. рис. 74). Описание внутреннего устройства блока защит 850 приведено ниже в § 61; в настоящем разделе рассмотрим работу самих датчиков защиты и связанных с ними цепей.
Токовые перегрузки фиксируют следующие защитные устройства (рис. 84 и 85):
трансформатор тока 008 [015„] — в цепи первичной обмотки тягового трансформатора;
трансформаторы тока 145, 146 (145 — 148 — на электровозах до ЧС4-062) — в цепях вторичных обмоток трансформатора;
трансформатор тока 701 (015*0] — в цепи обмотки отопления поезда от электровоза;
реле перегрузки 025 — 027 — в цепях тяговых двигателей;
реле перегрузки [065 — 067] — в цепях реостатного тормоза (на рис. 85 не показаны, так как они установлены только на электровозах ЧС4Т).
Рис. 83. Схема цепей проверки сигнальных ламп на пульте управления электровозов ЧС4

Уставки срабатывания защит, датчиками которых являются трансформаторы тока, задают посредством токовых реле в блоке защит 850. Уставки реле перегрузки определяются настройкой самих реле.
Встречно включенные вторичные обмотки lk— 11 трансформаторов тока 008, 009 Ю1517, 01518] служат датчиками дифференциальной защиты тягового трансформатора, которая реагирует на неравенство первичных токов со стороны высоковольтного ввода и со стороны заземляющего устройства (например, при появлении «земли» в цепи первичной обмотки 015х тягового трансформатора).
Защиту от опасных снижений или повышений переменного напря-жения осуществляют реле групп 851, 853 в блоке защит 850. Напряжение контролируется на выводах dO — d2 [Е ■— Н] обмотки собственных нужд 015^ тягового трансформатора, которое подводится на зажимы 24, 25 и 34, 35 блока защит 850. С группой реле 851 связан также контактор 406, обеспечивающий питание цепей управления вспомогательными машинами.
При срабатывании всех перечисленных выше защитных устройств через блок защит 850 отключается главный выключатель, на пультах управления электровозом загораются желтые сигнальные лампы 889 (896) «Защита», а сигнальные реле блока указывают цепь, в которой произошло повреждение.
Отключение ГВ посредством блока защит 850 происходит также при пробое двух последовательно включенных вентилей в тяговых выпрямительных установках (ВУ) 020 (022), так как такое повреждение может привести к сквозному пробою плеч выпрямительных мостов. Соответствующий сигнал от ВУ приходит на зажим 47 блока защит 850, а на пультах управления электровозом одновременно с сигнальными лампами 889 (896) включаются желтые лампы 874 (875).
При пробое одного вентиля в тяговых ВУ или во вспомогательных ВУ (220), т. е. при повреждениях, не вызывающих возникновения аварийной ситуации, ГВ не отключается, но загораются желтые сигнальные лампы соответственно 864 (865) и 868 (869). Отключение ГВ не происходит также при появлении «земли» в цепях вторичных обмоток 0152 и в цепи обмотки собственных нужд0/54 тягового трансформатора. Такое решение принято в связи с тем, что тяговые цепи и цепи вспомогательных машин электровозов ЧС4 и ЧС4Т не имеют заземления и, следовательно, появление в них «земли» еще не приводит к опасности повреждения электрического оборудования. Датчиками заземления служат резисторы 122 (123) в тяговых цепях и 227, 228 в цепях вспомогательных машин, подключенные к выводам соответствующих обмоток тягового трансформатора как делители напряжения. При возникновении заземления в описываемых цепях световая сигнализация на пультах управления осуществляется желтыми лампами 888 (897), связанными с блоком защит 850, и красными лампами 876 (877), получающими питание через группу реле 840 (описание работы этой группы реле см. в § 61). Одновременно выпадают флажки сигнальных реле, указывающих цепь, в которой появилась «земля».
На рис. 85 условно показаны также цепи защиты электровоза от бок-сования, в которые входят датчики 111, 112 и система управления

(блок 270). В качестве датчиков боксования колесных пар использованы магнитные усилители, обмотки которых включены в тяговые цепи таким образом, что токи тяговых двигателей в каждой тележке сравниваются между собой. За начало боксования принимается момент, когда разница токов тяговых двигателей достигает уставки защиты (около 130 А). Сигналы с датчиков по экранированным проводам поступают в блок 270, который при боксовании воздействует на электропневматические вентили песочниц и подает напряжение на красные лампы 460 (461), расположенные на пультах управления электровозом. Отметим, что указанные сигнальные лампы загораются также при нажатии машинистом педалей 458 (459) подсыпки песка, если при этом переключатель 456 (457) находится в положении «Автоматическая работа песочниц» (подробное описание этих цепей см. § 25 и 66).
В дополнение к уже описанным сигнальным цепям, связанным с ГВ, укажем цепи сигнальных ламп, принадлежащих защитным устройствам, которые воздействуют на ГВ, минуя блок защит 850 (см. рис. 74).
Желтые сигнальные лампы 381 (382) горят в том случае, если не заблокировано какое-либо высоковольтное оборудование. При этом ГВ невозможно включить, так как цепь питания его удерживающей катушки разорвана замыкающими контактами реле безопасности 380.
Желтые сигнальные лампы 883 (884) горят при срабатывании газового реле 015ы тягового трансформатора ( реле Бухгольца). Причем при малой интенсивности образования газов включаются только замыкающие контакты реле 105ы в цепи сигнальных ламп. При интенсивном образовании газов или внезапной утечке масла из бака тягового трансформатора срабатывают также размыкающие контакты реле Бухгольца, вызывая тем самым отключение ГВ.
Желтые сигнальные лампы 484—487 (488 — 490) горят, когда не работают мотор-вентиляторы тягового оборудования электровоза. Если после набора 2-й позиции контроллера машиниста (на электровозах ЧС4Т ■— 1-й позиции) мотор-вентиляторы на запустятся, то приблизительно' через 5 с произойдет отключение ГВ контактами воздухо-струйных реле 426 — 429 (437 — 450), а на электровозах ЧС4Т — контактами реле мощности, встроенными в ВУ 020 (022).
Красные сигнальные лампы 338 (339) горят, когда ПС находится в промежуточном положении (фиксированным позициям контроллера машиниста соответствуют положения I и III блокировочного барабана 0151 пневматического двигателя ПС). Если ПС по какой-либо причине задержится между позициями регулирования дольше допустимого времени (уставка защиты составляет 0,5—0,8 с), произойдет отключение ГВ, цепь питания удерживающей катушки которого прервется замыкающими контактами реле 356. При возвращении ПС на нулевую позицию загораются зеленые сигнальные лампы 349 (350). Остальные цепи сигнализации, изображенные на рис. 84, не связаны с главным выключателем.
Красные сигнальные лапы 804 (805) горят, когда работает вспомогательный компрессор 812, включаемый переключателем 456 (457). Желтые сигнальные лампы 759 (760) горят, если температура в машин ном помещении (ВВК) превышает уставку термостатов 757 (758),
составляющую 60° С (эти цепи имеются только на электровозах ЧС4). Желтые лампы 750 (751) сигнализируют о том, что достигнута предельная температура трансформаторного масла + 90° С. На электровозах до ЧС4-160 включительно для контроля температуры использован контактный термометр 0151S, на электровозах, начиная с ЧС4-162 и на всех электровозах ЧСЧТ термостат 015и и показывающий термометр 015и.
При работе устройства фильтрации масла в переключателе ступеней горят желтые лампы 475 (476), включаемые контактами реле давления 01515.
На электровозах, начиная с ЧС4-162, осуществляется также контроль давления смазки компрессорных агрегатов. Для этой цели предназначены реле давления 446, 447, которые при возникновении повреждения в системе смазки включают белые сигнальные лампы 448 — 451, причем, на электровозах ЧС4 •—■ непосредственно своими контактами, а на электровозах ЧС4Т — через контакты вспомогательных реле 441, 442. Отметим также, что на электровозах ЧС4 сигнальные лампы «Смазка компрессоров» в первой кабине обозначены номерами 448, 449; во второй кабине — 450, 451, а на электровозах ЧС4Т — соответственно [448, 450} и [449, 451}.
Три последние сигнальные лампы (белые буквы «Т», «П», «С» на черном фоне) загораются при работе электропневматического тормоза: ЛТ — «Торможение», ЛП — «Перекрыша», ЛС — «Отпуск тормозов».
В связи с тем, что нормальное состояние сигнальных ламп выключенное и они загораются при повреждении в контролируемой цепи, в случае выхода из строя лампы локомотивная бригада не получит сигнала о нарушении нормального режима работы оборудования. Поэтому на электровозах (с ЧС4-012) предусмотрена возможность быстрой проверки сигнальных ламп, для чего использованы многополюсные переключатели 483, 484 [384, 385], соединенные с лампами согласно схеме рис. 83 (на рис. 84 провода, идущие к этим переключателям не показаны). Периодический контроль целостности сигнальных ламп сводит к минимуму вероятность возникновения указанной выше нежелательной ситуации,
В цепи первого (050) и шестого (055) тяговых двигателей включены измерительные шунты 130 [130, 131} (см.рис. 60 и 61). На электровозах ЧС4 шунты расположены между якорями тяговых двигателей 050, 055, и их обмотками возбуждения 050х, 055х. К шунтам присоединены амперметры (милливольтметры) 845, 846, установленные на пультах управления электровозом в первой кабине машиниста, и амперметры 892, 894, смонтированные на пультах во второй кабине. Измерительные шунты [130, 131] электровозов ЧС4Т расположены с плюсовой и минусовой сторон тяговых двигателей 050, 055. Присоединенные к ним амперметры [845—848] служат для измерения токов как в режиме тяги, так и в режиме электрического торможения. В режиме тяги амперметры показывают токи первого и шестого тяговых двигателей (как и на электровозах ЧС4). При электрическом торможении по шунтам [130] проходит ток возбуждения, измеряемый амперметрами
[847, 848], по шунтам [131] — тормозной ток, измеряемый амперметрами [845, 846].
Напряжение тяговых двигателей снимается также в цепях первого н шестого тяговых двигателей. Измерительные вольтметры 890 (895) через добавочные резисторы 142 включены параллельно коллекторам тяговых двигателей 050 и 055. На электровозах ЧС4Т указанные вольтметры включены через выпрямительные мосты для того, чтобы измерять напряжение как в режиме тяги, так и при электрическом торможении, когда полярность напряжения на якорях тяговых двигателей меняется. Мосты, состоящие из кремниевых вентилей, и добавочные резисторы обозначены по схеме общим номером 142.
Величину напряжения в контактной сети показывают вольтметры 880 (881). Как принято на электровозах переменного тока, вольтметры подключены к обмотке собственных нужд 015t тягового трансформатора. Это делается по той причине, что измерение напряжения непосредственно на первичной обмотке 015х сопряжено с установкой дополнительного измерительного трансформатора с изоляцией на полное напряжение контактной сети. Вместе с тем, напряжение на обмотке собственных нужд пропорционально напряжению на первичной обмотке— соотношение их величин определяется коэффициентом трансформации. Строго говоря, при работе электровоза на величину напряжения обмотки собственных нужд влияет не только изменение напряжения на первичной обмотке, но и процессы, происходящие в силовых цепях электровоза—потери напряжения от тяговой нагрузки и тока вспомогательных машин. Однако эти дополнительные потери незначительны, особенно на электровозах с высоковольтным регулированием, какими являются электровозы ЧС4 и ЧС4Т, и показания вольтметров 880 (881) с достаточной для эксплуатационной работы точностью соответствуют напряжению контактной сети. Шкалы приборов поэтому отградуированы на напряжение 0 — 30 кВ. Регулировочные резисторы 880х, 881х служат для настройки вольтметров. На электровозах ЧС4 напряжение измеряется на выводах d0 — d2 обмотки 015:4 (25 кВ соответствуют 260 В), на электровозах ЧС4Т — на выводах Е — Я (25 кВ соответствуют 266 В).
В группу электроизмерительных приборов, по которым машинист контролирует режимы работы тягового оборудования (эти пять приборов расположены на пультах управления электровозом под общей декоративной рамкой), входит указатель позиций 333 (334) переключателя ступеней. Связь между положением стрелки указателя позиций и положением ПС осуществляют сельсины. Однофазный переменный ток к обмоткам статоров сельсинов приходит через АЗВ 355 от понижающего трансформатора напряжения в блоке 271. На электровозах ЧС4Г питание сельсинов производится от отдельного стабилизатора напряжения [275] и трансформатора [278]. Трехфазные обмотки роторов сельсинов-приемников 333, 334 и сельсина-датчика 335 соединены между собой проводами 400 — 402 (на электровозах ЧС4Т — проводами 433—435).
Левее перечисленных приборов на пультах управления электровозом также под общей декоративной рамкой расположены два ампер-
метра и два вольтметра. Амперметры 886 (899), (см. рис. 85), показывающие ток зарядно го устройства аккумуляторной батареи, подключены к измерительному шунту внутри блока 271. Провода от амперметров 870 (872) аккумуляторной батареи подсоединены к измерительному шунту 870х. На электровозах ЧС4Т оба измерительных шунта находятся внутри зарядного устройства и обозначены В1, В2. Амперметры 870 (872) имеют шкалы с нулем посередине (60 — 0 — 60 А), что позволяет судить не только о величине тока, но и о его направлении (режим заряда пли разряда аккумуляторной батареи).
Вольтметры 871 (873), показывающие напряжение аккумуляторной батареи (зарядного устройства), подключены без добавочных резисторов к общему плюсовому проводу 823 и через блок 271 к общему минусовому проводу 999.
При работе цепей электропневматического тормоза напряжение в этих цепях измеряется вольтметрами, имеющими в обеих кабинах машиниста одинаковый номер 829.
Активная энергия, потребляемая электровозом из контактной сети, учитывается счетчиком 882. Токовая обмотка счетчика питается от вторичной обмотки 2к — 21 трансформатора тока 009 [01518], включенного в цепь первичной обмотки тягового трансформатора, а обмотка напряжения — от обмотки собственных нужд (от тех же выводов, от которых питаются вольтметры 880, 881). При таком включении показания счетчика в точности не совпадают с реальным расходом энергии по указанной выше причине, а именно из-за того, что соотношение между величинами напряжений на обмотке собственных нужд и на первичной обмотке тягового трансформатора при работе электровоза не'остается строго постоянным. Отметим, однако, что так же, как и в случае с вольтметрами, вносимая погрешность невелика и не оказывает существенного влияния на общую оценку расхода энергии электровозом.
|
|