Переключатель ступеней приводится в движение пневмодвига-телем типа 22 № (рис. 112) с электропневматическими вентилями /. К чугунному корпусу 3 пневматического двигателя прикреплены два сдвоенных цилиндра 2 диаметром по 72 мм. Цилиндры расположены под углом 90° по отношению друг к другу.
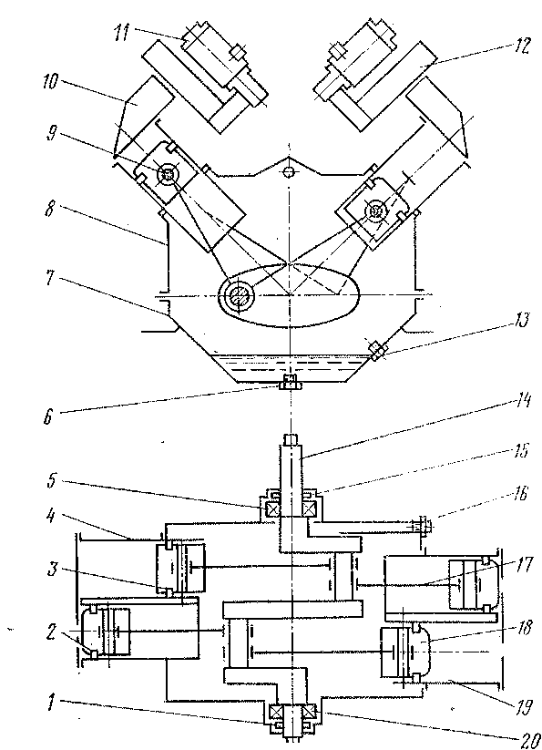
Коленчатый вал 14 (рис. 113) пневмодвигателя вращается в шариковых подшипниках 5 и 20, запрессованных в боковые стенки корпуса 8. Внизу корпуса расположен чугунный картер 7, заполненный маслом марки АМГ-10, которое наливают до уровня, ограниченного отверстием с пробкой 13. Отработанное масло выпускают из картера через нижнее отверстие, закрытое пробкой 6. Для предотвращения утечки масла через места выхода коленчатого вала из корпуса пневмодвигателя с наружной стороны подшипников поставлены уплотняющие кОльца 1 и 15. Подогрев масла в пневмодвигателе в зимнее время осуществляет нагревательный элемент мощностью 500 Вт, установленный под кожухом пневмодвигателя. Атмосферное давление внутри корпуса при работе пневмодвигателя поддерживается через отверстие в болте 16, ввернутом в корпус.
В цилиндрах 4 я 19 помещены четыре поршня 18, снабженные резиновыми уплотняющими кольцами 2 и 3. Поршни связаны с коленчатым валом при помощи поршневых пальцев 9 и шатунов 17, в которых установлены втулки, обхватывающие шейки коленчатого вала и пальцы. Ход поршней 110 мм.
Сжатый воздух выпускается из цилиндров и впускается в них электропневматическими вентилями // через воздухораспределители 12 и каналы крышек 10 цилиндров. К воздухораспределителям воздух подается по трубе. Для регулирования подачи воздуха из цилиндров на крышке цилиндра пневмодвигателя установлена дросселирующая прокладка. Диаметр отверстия в прокладке подобран для каждого пневмодвигателя, поэтому при замене прокладок необходимо производить осциллографирование включения контакторов ПС. Времй между отключением первого и включением четвертого контакторов не должно быть меньше 90 мс. Такое же время выдерживается между отключением

Рис. 112. Пневматический двигатель переключателя ступеней

Рис. 113. Схематический разрез пневматического двигателя
четвертого и включением первого контакторов. Время между отключением второго или третьего контактора и началом движения избирателя не должно быть меньше 100 мс. Время перекрытия ме.жду третьим и первым и между четвертым и вторым контакторами должно быть около 40 мс. Время полного переключения избирателя с нулевой до 32-й позиции должно составлять 17 ±2 с. В случае несоответствия работы контакторов указанному времени необходимо поставить дросселирующую прокладку с другим диаметром отверстия.
Работа пневмодвигателя происходит следующим образом. На нулевой позиции ПС ни один из электропневматических вентилей не возбужден, при этом полости цилиндров 2 и 3 (рис. 114) сообщены с атмосферой, а цилиндров / и 4 — с источником сжатого воздуха. Механизм привода занимает положение I.
При возбуждении вентиля б полость цилиндра 2 сообщится с источником сжатого воздуха, а полость цилиндра 4 с атмосферой и механизм привода займет положение II, что соответствует повороту кулачкового вала на 90°. При возбуждении обоих вентилей а я б полость цилиндра / сообщится с атмосферой, а цилиндр 3 наполнится сжатым воздухом. Меха-• низм привода займет положение III, при этом колен-

Рис. 114. Схема работы пневматиче- Рис. 116. Устройство для фильтрации ма-
ского двигателя ела
чатый вал повернется еще на 90° (или 180°, считая от исходного положения). При возбуждении вентиля а и обесточенном вентиле б полость цилиндра 2 сообщится с атмосферой, а цилиндр 4 наполнится сжатым воздухом. Механизм привода займет положение IV, при этом коленчатый вал пневматического двигателя повернется еще на 90° (или на 270° от первоначального положения).
Снятием питания с катушек обоих вентилей заканчивается цикл работы. Коленчатый вал пневмодвигателя поворачивается еще на 90° и приходит в исходное положение, При наборе следующих позиций ПС цикл работы пневмодвигателя повторяется.
Поворот вала пневмодвигателя на 180° соответствует набору одной позиции ПС. Следовательно, для набора 32 позиций вал пневмодвигателя должен совершить 16 полных оборотов. При сбросе позиций ПС возбуждение вентилей пневмодвигателя происходит в обратном порядке, чем изменяется направление вращения коленчатого вала.
Движение вала пневмодвигателя через коническую зубчатую передачу / (рис. 115) с вертикальными валами 2 передается на кулачковый вал контакторов и на вал избирателя. На противоположном конце вала избирателя установлены механическая блокировка конечных положений ПС, блокировочные контакты и сельсин-датчик для сигнализации о положении избирателя.
Наряду с дистанционным управлением пневмодвигателя ПС имеет ручное управление с применением съемной рукоятки. При установке вала на нулевую позицию надлежит руководствоваться указателем точного положения ПС. Стрелка указателя должна находиться строго горизонтально^посередине между двумя красными рисками на диске.
|
|