Для очистки масла ПС от металлических частиц, которые образуются при скольжении роликов по неподвижным контактам избирателя, предусмотрена принудительная фильтрация масла. Устройство
Для фильтрации масла (рис. 116) "крепится на боковой части корпуса избирателя. Система фильтрации включает в себя насос с однофазным конденсаторным электродвигателем 1 типа 2АРС-71-4, фильтры грубой 2 и тонкой 3 очистки, реле давления, отрегулированного на 2—3 кгс/см2, и переключающих кра-

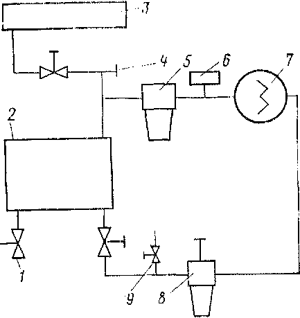
Рис. 117. Схема фильтрации масла: / — кран для слнва масла; 2 —бак избирателя; 3 —. расширитель; 4 — фланец для подключения стационарной установки фильтрации масла; В — фильтр тонкой очистки; б — реле давления; 7 — электродвигатель с насосом; ё — фильтр грубой очистки; 9 — кран для отбора проб масла
нов. Производительность насоса 4 л/мин, мощность электродвигателя 120 Вт. Электродвигатель может работать при напряжении от 160 до 280 В. Фильтр грубой очистки задерживает крупные части величиной более 0,14 мм. Фильтр тонкой очистки имеет две вставки: одна задерживает частицы величиной менее 0,14 мм, другая предназначена для тонкой очистки. При засорении фильтра тонкой очистки реле давления включает контакт дистанционной сигнализации (рис. 117).
|
|