Резисторы предназначены для поглощения электрической энергии путем превращения ее в тепловую. На электровозах имеются пусковые, переходные, шунтирующие, демпферные, добавочные и регулировочные резисторы. По форме исполнения они разделяются на ленточные и проволочные, причем первые из них применяются при больших, а вторые — при малых токах.
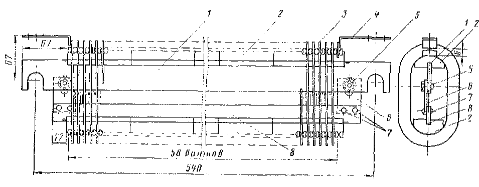
Ленточные резисторы. На электровозе ленточные резисторы используют в качестве пусковых, переходных и шунтирующих. Отдельные элементы резисторов представляют спираль 3 (рис. 135), намотанной на ребро на керамические изоляторы 2. Последние выполнены в виде десяти гребенок из кордиерита.
Материалом для спиралей элементов резисторов служит фехра-левая лента сечением 16X1,6 мм2 с удельным сопротивлением 1,26 0м-мм2/м (ГОСТ 12766—67).
Витки спирали 3 фиксируются канавками изоляторов 2, установленных на штампованных из листовой стали держателях 1 я 8. Концы спирали припаяны латунью к выводным медным пластинам 4. Последние имеют отверстия для болтов, посредством которых крепятся шины, соединяющие отдельные элементы. На выводных пластинах каждого элемента нанесена величина его номинального сопротивления. Верхние / и нижние 8 держатели соединены между собой стойками 6, прикрепленными к держателю 8 заклепками 7, а к держателю / — болтами 5. По концам держатели / имеют проушины для крепления элемента в ящике. На электровозах типа 53Е имеется 206 элементов с номинальным сопротивлением 0,99 Ом и 52 элемента с сопротивлением 0,6488 Ом; на

Рис. 135. Элемент пусковых резисторов

Рис. 136. Яшик резисторов
электровозах типа 34Е — 219 элементов с сопротивлением 0,99 Ом, 12 — 2X0,4524 Ом, 10 — 0,6488 Ом и 1 — 0,8878 Ом.
Фехралевые резисторы отличаются высокой механической прочностью и допускают значительные перегревы (до 700°С). Однако в эксплуатации нагрев свыше 450° С обычно не допускают по соображениям пожарной безопасности и сохранности окраски конструкции находящихся вблизи реостатов. Эти резисторы обладают большой теплоотдачей, но меньшей теплоемкостью, чем чугунные. Поэтому при использовании фехралевых резисторов в качестве пусковых их приходится принудительно охлаждать потоком воздуха. Большим преимуществом фехраля является меньшее изменение его сопротивления при нагревании по сравнению с чугуном.
Отдельные элементы 2 резисторов (рис. 136) собраны на стержнях 5, опрессованных в горячем состоянии изоляцией. Четыре стержня 5 укреплены на раме / так, что элементы располагаются в два ряда. Выводы 7 отделены от стержней 5 плоскими изоляторами 6. Чтобы выдержать определенное расстояние между элементами, на стержни надеты дистанционные втулки 3. По краям стержней 5 около боковин рам установлены изоляторы 4, а у торцовых их поверхностей помещены асбестовые прокладки. Выво-
ды 7 элементов соединены между собой горизонтальными медными шинами 8, вертикальные соединения выполнены шинами 9. Элементы резисторов вместе с рамой, на которой они собраны, называются ящиком резисторов.
Четыре ящика резисторов 3 (рис. 137) с помощью изоляторов 5 подвешены на кронштейнах 4, имеющихся на каркасе /. Последний сварен из профильной стали и укреплен на кузове электровоза. Резисторы, расположенные в разных ящиках, соединяют между собой шинами 2. Изоляторы 2 (см рис. 135), изоляция стержней 5 (см. рис. 136) и изоляторы 6 образуют первую ступень изоляции между спиралями и рамой ящика, рассчитанную на номинальное напряжение 3000 В. Изоляция ящиков относительно каркаса выполнена также на номинальное напряжение 3000 В.
Электрическую прочность изоляции спиралей относительно рамы ящика и между рамой и каркасом испытывают напряжением 8750 В, а между спиралями и каркасом ■— 10 250 В. Во всех случаях применяют переменный ток 50 Гц, который прикладывают к испытуемому месту в течение 1 мин.
Всего на электровозе имеется четыре каркаса с резисторами, два из которых расположены между кабиной 1 машиниста и высоковольтной камерой; два — между кабиной 2 и высоковольтной камерой.
На электровозе 34Е около кабины 1 помещены каркасы А я В с ящиками /—4 и 5—8 (рис. 138). Ящик 1 содержит в нижнем ряду семь элементов,

Рис. 137. Каркас с ящиками резисторов
из которых три с выводами и, V. 1 относятся к переходным резисторам. Ящик 7 содержит в верхнем ряду семь элементов, ящик 5— в нижнем ряду шесть элементов, из которых два с выводами X, У относятся к переходным резисторам. Вблизи кабины 2 помещены каркасы СиОс ящиками 9—12 и 13—16. Ящик 9 в нижнем ряду имеет четыре элемента, остальные ящики имеют по восемь элементов. Элементы, за исключением имеющих выводы и, V, 1, X, У, относятся к пусковым резисторам.
Отдельные элементы соединяются между собой последовательно, последовательно-параллельно и параллельно, образуя секции А-В, В-С, С-О, О-Е, Е-Е первой ветви пусковых резисторов, сек-ции'б-Я, Н-1, 1-К, К-Е, Е-М второй ветви и секции N-0, О-Р, Р-Я, Я-Б, 5-Г третьей ветви.
Вес полного комплекта резисторов равен 2910 кг, максимальный вес одного каркаса 750 кг.

На электровозах 53Ё (с № 305) ящики 1—8 с пусковыми резисторами размещены также в четырех каркасах, причем расположение элементов в двух каркасах А я В (рис. 139) такое же, как и в двух других каркасах А я В. На рисунке показано сечение шин, соединяющих отдельные элементы и ящики резисторов , (50X4, 50X3, 40X3, 40X2 мм2). На электровозах 53Е резисторы весят 2830 кг.
Воздух для охлаждения пусковых резисторов поступает через люки, имеющиеся в полу кузова электровоза в местах расположения каркасов. При пуске электровоза, когда из пусковых и переходных резисторов выделяется наибольшее количество тепла, эти резисторы более интенсивно обдуваются воздухом, потоки которого создаются вентиляторами, охлаждающими тяговые двигатели.
Шунтирующие резисторы ЩБЬ (рис. 140) и 2КБЬ выполнены из элементов, подобных пусковым и переходным. Они также име-

ют двойную изоляцию витков сцирали по отношению к каркасу, на котором смонтированы элементы. В зависимости от токовой нагрузки элементы резисторов соединяются между собой (по 2—6 элементов) параллельно. Окончательное включение необходимого количества витков спиралей шунтирующих резисторов производят с учетом сопротивления подводящих кабелей на электровозе, поэтому секции этих резисторов Я-/7 (см. рис. 220* и 231*) имеют ряд выводов.
Проволочные резисторы. В цепи электродвигателей компрессоров, вентиляторов и электропечей кабин машиниста установлены демпферные резисторы, ограничивающие величину тока при пуске машин и ток короткого замыкания при повреждении изоляции.


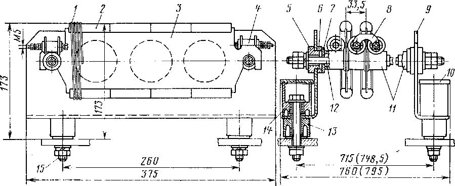
На электровозе установлены два одинаковых демпферных резистора 49РчР (рис. 141). Элементы резисторов состоят из плоских держателей 3, на края которых опираются фарфоровые изоляторы 2, имеющие с одной стороны продольный паз, в который входит держатель, а с другой — канавки для проволоки. Последние препятствуют ее сдвигу при нагревании.
На изоляторы намотано 80 витков проволоки / марки «Кантал» диаметром 1,5 мм, имеющей большое сопротивление. Длина проволоки равна 18,36 м. Каждый элемент имеет два вывода, пропущенных через фарфоровые изоляторы 4,
Восемнадцать элементов с помощью вырезов в держателях укреплены на двух изолированных (спрессованных в горячем состоянии миканитом) стержнях 12. Стержни пропущены через боковины 9 и изолированы от них втулками 5 и прокладками 6 и 7.
Между держателями 3 элементов поставлены фарфоровые дистанционные трубки 11, надетые на стержни. На их концах имеются гайки, которыми стягиваются боковины 9, держатели 3, трубки 11 и прокладки. Выводы отдельных элементов соединены между собой шинами 8. Боковины демпферных резисторов прикреплены к каркасу болтами 15, изолированными от боковин бакелитовыми втулками 13 и закрытыми сверху цилиндрическими изоляторами 14 с колпаками 10.
Величина сопротивления каждого элемента составляет 14,5 0м. Элементы соединены в три последовательно соединенные группы (рис. 142, а). В каждой из них шесть элементов включены параллельно. Величина общего сопротивления всех элементов состав-14 5
ляет 3—^— =7,25 Ом.
Демпферный резистор рассчитан на номинальный ток 25 А и напряжение 3000 В. Изоляцию витков проволоки по отношению к металлическим конструкциям кузова электровоза испытывают напряжением 10 250 В переменного тока 50 Гц в течение 1 мин. Вес резистора равен 24,1 кг.

Рис. 141. Демпферный резистор 49ИР (в скобках приведены размеры добавоч-, ного резистора 48ЙР)

Добавочный резистор 48ИР отличается от демпферного 49ИР количеством элементов, величиной сопротивления, схемой включения и установочными размерами. Добавочный резистор состоит из 19 элементов, из которых три имеют сопротивление по 15 Ом и 16 — по 19,4 Ом (рис. 142,6). Между выводами В и С сопротивле-
ние равно 15:3 = 5 Ом; между выводами А и С--^-8=77,6?»
ж78 Ом. Сопротивления 15 Ом имеют 72 витка провода диаметром 1,4 мм (длина провода 16,7 м), сопротивления 19,4 Ом — 80 витков провода диаметром 1,3 мм (длина провода 18,5 м).
Сопротивления, включенные между выводами В и С, рассчитаны на номинальный ток 10 А, максимально допустимый ток между выводами Л и С в течение 5 с равен 30 А.
Изоляция проволочной обмотки выполнена на номинальное напряжение 3000 В и проверяется напряжением 10 250 В переменного тока 50 Гц в течение 1 мин. Резисторы 48РчР весят 23,6 кг.
|
|