На электровозах ЧС2, как и на всех локомотивах постоянного тока, у которых тяговые двигатели непосредственно соединены с контактной сетью, последовательно с омическими резисторами, применяемыми для ослабления возбуждения тяговых двигателей, включаются индуктивные шунты.
При движении электровоза на моторном режиме с ослабленным возбуждением индуктивные шунты предотвращают прохождение больших токов через якоря двигателей во время кратковременных перерывов тока в цепи тяговых двигателей или короткого замыкания контактной сети на землю. Такие кратковременные перерывы тока в цепи тяговых двигателей могут быть, например, при отрыве полоза токоприемника от контактного провода.
В нормальных условиях ток, пройдя якорь тягового двигателя, разветвляется и частично проходит по обмоткам главных полюсов, а частично —по шунтирующему резистору (рис. 143,а). При отрыве полоза токоприемника сначала исчезает ток в якоре (рис. 143,6), а затем в обмотках главных полюсов (рис. 143,б). Как только полоз снова коснется контактного провода, ток в первый момент вследствие большого индуктивного сопротивления обмоток главных полюсов пойдет через якорь и шунтирующий резистор в «землю» (рис. 143,а).
Противо-э. д. с. якоря из-за отсутствия тока, а следовательно, и магнитного потока главных полюсов будет ничтожна, и ток, проходящий через якорь и шунтирующий резистор, может достигнуть опасной для двигателя величины. Чаще всего это приводит к круговому огню на коллекторе и выключению быстродействующего выключателя.
Индуктивные шунты, включенные последовательно с шунтирующими резисторами, имеют значительное индуктивное сопротивление, поэтому обе параллельно включенные цепи примерно одинаково «сопротивляются» нарастанию тока и между ними не происходит недопустимого перераспределения нагрузки, а следовательно, и дополнительного ослабления магнитного потока тягового двигателя.
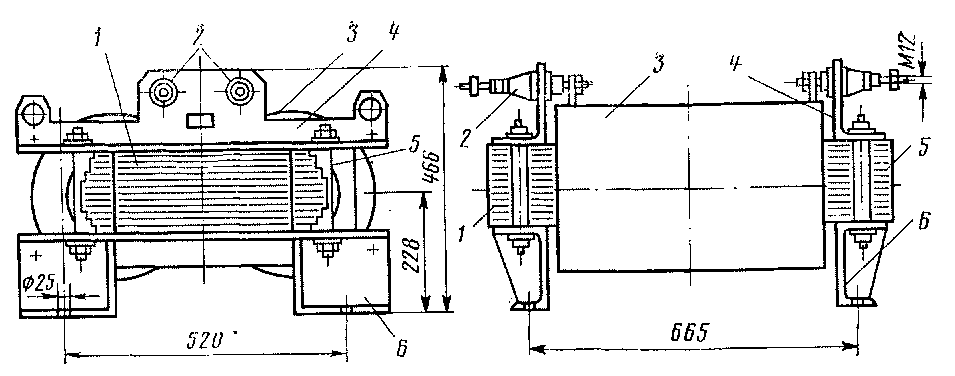
Индуктивный шунт АЬ-СУ34/4837 (рис. 144) состоит из сердечника 1 (магнитопровода), набранного из листовой электротехнической стали толщиной 0,5 мм, оклеенной бумагой, и катушек 3 из полосового изолированного алюминия сечением 3X13 мм2. Каждый стержень магнитопровода имеет три воздушных зазора по 10 мм, что сохраняет постоянную индуктивность аппарата в пределах рабочих токов. Обмотка катушек, состоящая из 95 витков (24 слоя по четыре неполных витка в каждом), намотана на клиньях, уложенных на цилиндрах из гетинакса. Такая конструкция обеспечивает зазоры между слоями, проводником и цилиндром и достаточное охлаждение обмотки естественным потоком воздуха'.

Рис. 143. Направление тока в обмотках тягового двигателя в шунтирующем резисторе при отрыве токоприемника от контактного провода

Рис. 144. Индуктивный шунт АЬ-СУ34/4837
Концы обмоток выведены к болтовым зажимам, изолированным от стяжных стальных угольников 4 фарфоровыми изоляторами 2. Поверхность болтов-зажимов индуктивного шунта АЬ-СУ34/4837 покрыта никелем.
Стяжные угольники скреплены болтами 5, изолированными от угольников. Индуктивные шунты (их на электровозе три, всего шесть катушек) с помощью рам 6 в горизонтальном положении укреплены в кузове электровоза. Поверхность катушек индуктивных шунтов покрыта изоляционным лаком. Индуктивные шунты имеют катушки с сопротивлением при 20° С 2X0,15 Ом, номинальный ток 190 Л, номинальную мощность 2X49,5 кВ-А и индуктивность 2X0,004 Г. Индуктивный шунт весит 395 кг.
|
|