На электровозах ЧС4Т, как и на электровозах ЧС4 использованы две тяговые выпрямительные установки — по одной на три тяговых двигателя. В каждом плече выпрямительных мостов имеется 16 ветвей, состоящих из четырех последовательно включенных вентилей типа В 200 (рис. 123, а). Таким образом, всего в каждой выпрямительной установке типа ВІТУНиБ-Ьеіа использовано 256 вентилей.
Сокращение количества параллельно включенных вентилей по сравнению с выпрямительными установками электровозов ЧС4 оказалось возможным благодаря применению компенсирующих трансформаторов, повышающих коэффициент использования вентилей по току н тем самым улучшающих распределение нагрузок между вентилями.
Как и в обычном выпрямительном мосту, на выводах переменного тока катоды последнего ряда вентилей одного плеча жестко связаны с анодами первого ряда вентилей соседнего плеча. Однако в выпрямительных установках типа ОІТУРчШ-Ьеіа переменный ток подводится к вентилям через

Рис. 123. Основные размеры и общий вид кремниевых вентилей, применяемых в полупроводниковых преобразовательных установках электровоза ЧС4Т:
а — неуправляемого вентиля 0200; б — тиристоров Т100 и Т250

первичные обмотки компенсирующих трансформаторов (рис. 124). Вторичные обмотки этих трансформаторов соединены последовательно, образуя короткозамкнутый виток. Наводимый в этих об-, мотках ток способствует выравниванию первичных токов. При этом точность выравнивания токов определяется только параметрами компенсирующих трансформаторов независимо от числа параллельно включенных вентилей, так как всегда токи ветвей сравниваются с одним общим вторичным током.
Благодаря применению компенсирующих трансформаторов допускается замена вентилей без подбора по группам и обеспечивается эксплуатация выпрямительных установок при старении вентилей.
В связи с тем, что мощность компенсирующих трансформаторов не определяется требуемой точностью деления токов, а зависит только от
распределения падений напряжений на параллельно включенных вентилях, габаритные размеры использованных трансформаторов типа КТ200 невелики. Каждый трансформатор представляет собой замкнутый сердечник из магнитного материала АРчМСО МХ 6А с двумя обмотками (рис. 125). Первичная обмотка со.стоит из четырех витков медной шины сечением 30 X 2 мм, длиной около 850 мм. Вторичной обмоткой служит проходящая через окно сердечника медная шина сечением 4 X 10 мм. Обмотки вместе с сердечником залиты эпоксидной смолой (Ерохуё 110).
Основные технические данные компенсирующего трансформатора КТ200 следующие:

Длительный ток 280 А, через вентиль 140 А Часовой ток 300 », то же 150 » 15-минутпый ток 400 », » 200 » 5-минутный ток 500 » » 250 » Максимальная неравномерность распределения токов по лараллельно включенным вентилям при токах вентилей 200 А, и прямом падении напряжения на вентиле 60 мВ ±5% Испытательное напряжение изоляции между сердечником п обмотками и обмоток между собой . . . . •......... 500 В
Масса............... 2,3 кг
Габаритные размеры......... 85X90X80 мм
Наличием компенсирующих трансформаторов и меньшим количеством вентилей в основном исчерпываются различия в схемах тяговых выпрямительных установок электровозов ЧС4 и ЧС4Т. Можно отметить также отсутствие германиевых диодов в контурах, обеспечивающих равномерное распределение обратного напряжения по вентилям и защиту их от коммутационных перенапряжений.
По конструктивному исполнению выпрямительные установки электровозов ЧС4Т мало отличаются от выпрямительных установок электровозов ЧС4. Вентили в комплекте с радиаторами, аппаратурой защиты и сигнализации также смонтированы в общем металлическом шкафу (рис. 126). В каждом из двух установленных на электровозе шкафов находится по одной тяговой выпрямительной установке и одной выпрямительной установке вспомогательных машин. Габаритные размеры шкафа 1927 X 1590 х 670 мм, масса— 1250 кг. Расположение и крепление вентилей в установках, электрические-соединения и монтаж выполнены таким же образом, как и в шкафах выпрямительных установок типа RV10. В горизонтальных рядах каждого плеча тяговой выпрямительной установки смонтировано по 16 вентилей, а в вертикальных рядах — по 4 вентиля.
В отличие от выпрямительных установок электровозов ЧС4, как отмечено выше, на электровозах ЧС4Т использованы компенсирующие трансформаторы. Они смонтированы с каждой стороны шкафа в одном горизонтальном ряду, расположенном между двумя плечами тяговой выпрямительной установки, и имеют электрическое соединение с катодами крайних вентилей соседних плеч.
Другое конструктивное отличие выпрямительной установки DITYRUS-beta от RV10 состоит в том, что охлаждение вентилей осуществляется вентиляторами, общими для выпрямительной установки и тяговых двигателей, причем воздушный поток направлен снизу вверх шкафа и выбрасывается в отсек с тормозными резисторами. Контроль работы мотор-вентиляторов осуществляют реле мощности, которые .находятся в шкафах выпрямительных установок и электрически связаны с цепями соответствующих вспомогательных электродвигателей. Силовой монтаж и выводы из выпрямительной установки выполнены аналогично электровозам ЧС4 медными шинами, покрытыми никелем и окрашенными нитрокраской. Электрические соединения

в низковольтных цепях осуществлены медным проводом с использованием штепсельных разъемов.
В нижней части шкафов расположены выпрямительные установки вспомогательных машин. Они существенно отличаются от вспомогательных установок электровозов ЧС4. Для стабилизации напряжения питания вспомогательных машин, применяемой на электровозах ЧС4Т, в каждые два плеча выпрямительных мостов включены тиристоры, позволяющие осуществлять фазовое регулирование выпрямленного напряжения (рис. 127). Как отмечено выше, тиристоры на электровозах 4G41' применены также в преобразовательной установке 021 для возбуждения тяговых двигателей при реостатном торможении.
В непроводящем направлении тиристор ведет себя как неуправляемый вентиль, и поэтому обратные ветви вольт-амперных характеристик тиристоров (рис. 128) и диодов аналогичны. В проводящем направлении тиристор заперт при изменении напряжения в диапазоне от нуля до напряжения пробоя внутреннего n-p-перехода. При достижении этого напряжения, называемого напряжением переключения, тиристор открывается, напряжение анод-катод резко уменьшается (кривые 2, 3 на рис. 129), и тиристор работает как обычный неуправляемый вентиль в проводящем направлении. На практике, однако, такой способ открытия тиристоров применяется редко. Как правило, для этих целей на управляющий электрод подается положительный по отношению к катоду потенциал. Под действием импульса тока запирающее действие внутреннего /г-р-перехода нарушается, причем чем больше ток управления, тем при меньшем напряжении анод-катод открывается тиристор. Для отпирания примененных в выпрямительных установках вспомогательных машин электровозов ЧС4Т тиристоров типа Т100 используется импульс тока шириной 500 мкс.
Величины тока и напряжения управления, при которых тиристор включается, зависят от целого ряда технологических и конструктивных факторов, и даже тиристоры одного типа имеют существенный разброс этих величин. Поэтому в паспорте на тиристоры указываются минимальные величины тока и напряжения в цепи управления, которые обеспечивают надежное включение тиристора во всех эксплуатационных режимах. Как следует из характеристики тиристора типа Т100 (рис. 130, а), для надежного,его включения, например, при температуре воздуха +25° С, управляющий импульс должен иметь ток, не менее 200 мА и напряжение не менее 3 В, а при температуре—50° С ток должен быть 300 мА или больше при том же напряжении 3 В.
Выключение тиристора обычно осуществляют путем изменения полярности приложенного напряжения. При этом запираются оба внешних р-я-перехода, и тиристор выключается. В полупроводниковых преобразовательных установках электровозов ЧС4Т выключение тиристоров происходит при изменении полярности синусоидального напряжения на входе выпрямительного моста.
На электровозах ЧС4Т использованы тиристоры типа ТТОО (в выпрямительных установках вспомогательных машин) и типа Т250 (в полупроводниковых преобразовательных установках для возбуждения обмоток тяговых двигателей при реостатном торможении и в зарядном

Рис. 127. Схема плеча моста выпрямительной установки вспомогательных машин электровоза ЧС4Т

устройстве аккумуляторной батареи). В комплекте с радиаторами тиристоры рассчитаны на следующие условия работы:
Т100 Т250
Температура охлаждающего воздуха, °С . . 35 35 Скорость охлаждающего воздуха, м/с, не
менее.............. 6 7
Номинальный ток, А......... 100 250
Ток перегрузки, А:
в течение Л 0 мс, 35° С........ 2100 4000
то же 100° С........ 1800 —
» 125° С........ — 3500
Падение напряжения, В, не более .... 0,72 0,65
Обратный ток, мА, не более...... 10 30
Ток включения, мА.......... 200 300
Время включения, мкс........ 3—6 3—7
Масса тиристора без радиатора, кг ... 0,4 0,45
Тиристоры рассчитаны на работу в диапазоне температур от —50 до + 110° С. Крутящий момент при ввертывании тиристоров в радиатор должен быть 3—5 кгс-м.
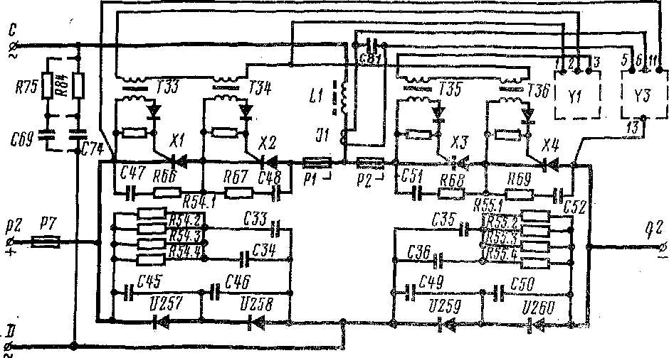
Выпрямительные установки вспомогательных машин электровозов ЧС4Т — их всего шесть: по три полууправляемых выпрямительных моста в каждом шкафу — совершенно одинаковы. Поэтому на рис. 127 приведена схема лишь одного моста 220v В его управляемых плечах включено последовательно по два тиристора XI — Х4 (Т100, 8-го класса), в неуправляемых по два кремниевых вентиля V257 — V 260 (D200, 9-го класса). Подвод переменного тока со стороны тиристоров производится через дроссель насыщения L1. Там же установлен датчик тока Л для системы управления тиристорами. Управляющие импульсы на тиристоры подаются через импульсные трансформаторы ТЗЗ — Т36 от системы управления, собранной из унифицированных электронных блоков Reckdyn-5 [Yl, Y3). Для защиты от токовых перегрузок и коротких замыканий использованы быстродействующие предохранители, причем установленные последовательно с тиристорами предохранители имеют контакты, связанные с цепями сигнализации электровоза. Защита от перенапряжений осуществляется контурами RC R75— R84 (10 Ом), С69 — С74 (8 мкФ) — от внешних и R53—R58, R66—R69 (33 Ом), С45 — С52 (2 мкФ) — от коммутационных.
Полупроводниковая преобразовательная установка типа ВАТYR-beta для возбуждения обмоток тяговых двигателей при реостатном торможении, схема которой представлена на рис. 131, смонтирована в отдельных шкафах с габаритными размерами 1170 X X ИЗО X 395 мм, массой 270 кг (рис. 132), установленных в ВВК электровоза.
Так же, как и ВУ вспомогательных машин, описываемая установка представляет собой полууправляемый выпрямительный мост. В его управляемых плечах включено по 4 параллельно соединенных тиристора XI— Х8 (Т250, 10-го класса), в неуправляемых — по' 6 параллельно соединенных диода (D200, 9-го класса). Для лучшего использования чвентилей по току применены компенсирующие трансформаторы

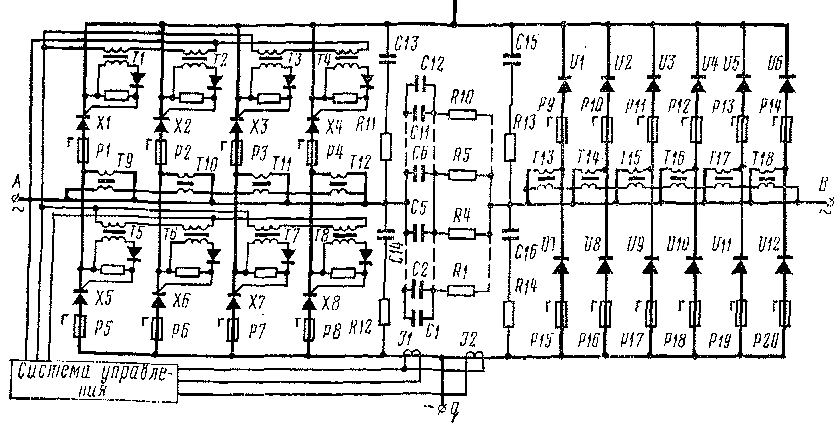
'Рис. 131. Схема полупроводниковой преобразовательной установки ВАТУК-Ьеіа для возбуждения обмоток тяговых двигателей при реостатном торможении

Рис. 132. Полупроводниковая установка ВАТУК-Ьеіа электровоза ЧС4Т
Т9 — Т18 (КТ200). Датчики тока Л. ]2, для системы управления установлены со стороны минусового вывода моста. Управляющие импульсы на тиристоры подаются через импульсные трансформаторы 77 — Т8 от системы управления, собранной из блоков Иескауп-б. Защита от перегрузок п токов коротких замыканий обеспечивается быстродействующими предохранителями Р1 — Р20, включенными последовательно с каждым вентилем. Предохранители имеют контакты для сигнализации срабатывания.
От перенапряжений установка ВАТУГ^-Ьеса защищена контурами /?С : от внешних —■ /?/ — Р^Ю, С1 — С12; от коммутационных —• Р11—Р,14, С13-—С16. Сопротивление использованных резисторов 10 Ом, емкость конденсаторов 8 мкФ.
Отметим, что как в ВУ вспомогательных машин, так и в установке ВАТУРч-Ьеса для защиты от перегрузок используется снятие управляющих импульсов от тиристоров.
|
|