Контроллер машиниста 1КУ.023 служит для дистанционного автоматического управления электропоездом. Эти функции он выполняет, замыкая или размыкая в определенной последовательности цепи управления приводов тех или иных высоковольтных аппаратов при пуске, регулировании скорости движения, остановке и изменении направления движения.
Контроллер кулачкового типа с двумя сблокированными между собой рукоятками (главной и реверсивной) имеет электрическую блокировку безопасности.
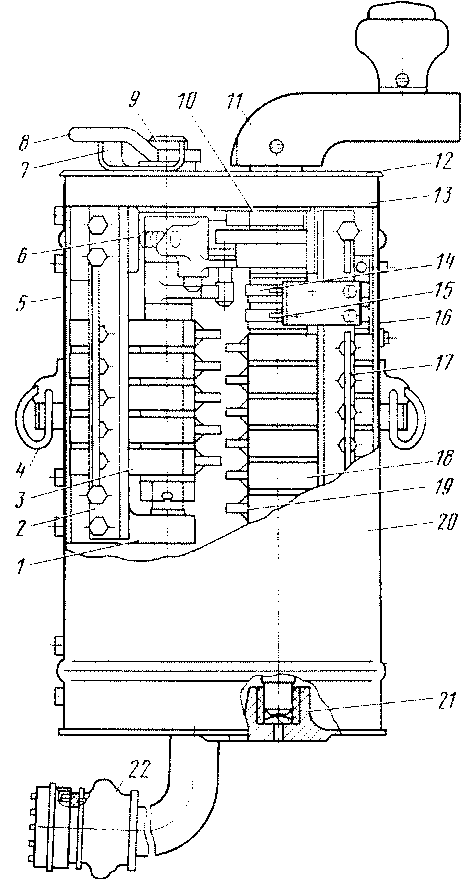
Контроллер машиниста 1КУ-023 имеет каркасную конструкцию. Каркас состоит из верхней плиты 13 (рис. 180) и основания 21, связанных вертикальными стальными угольниками 5 и 16. Сверху плиты 13 закреплена декоративная крышка 12 с выдавленными на ней обозначениями направления движения поезда и позиций главного кулачкового вала. На крышке помещен ограничитель 7 поворота съемной реверсивной рукоятки 8. На рейках 2 и 17 установлены кулачковые контакторы 3 и 18 типа КЭ-42, а на угольнике 16 — контактные пальцы 15. Контроллер закрыт кожухом 20 с замками 4 и соединен с поездными проводами через разъем 22, состоящий из колодки и вставки.
Реверсивная рукоятка имеет три фиксированных положения: два рабочих (Вперед и Назад) и нулевое; главная рукоятка // — нулевое, маневровое и четыре ходовых. Реверсивная и главная рукоятки управляют соответствующими кулачковыми валами контроллера 9, 10, представляющими собой стальные стержни с насаженными на них кулачковыми шайбами 19, контактными кольцами 14 и деталями 6 фиксации и механической блокировки валов. Реверсивный вал 9 установлен в подшипниках, запрессованных в крышку и кронштейн /, закрепленный на угольнике 5, а главный вал — в подшипниках, запрессованных в верхнюю плиту и основание.
Реверсивный и главный валы механически сблокированы между собой таким образом, что поворот реверсивного вала возможен только при нулевом положении главного вала, а поворот главного вала — только при рабочем положении (Вперед или Назад) реверсивного вала.
При нулевом положении реверсивного и главного валов ролик фиксатора 2 (рис. 181) входит в среднюю впадину храповика 3, жестко установленного на реверсивном валу. Одновременно конец фиксатора входит во впадину храпового колеса /, жестко расположенного на главном валу, и запирает вал" в нулевом положении.
При повороте реверсивной рукоятки в положение, соответствующее направлению движения поезда, вместе с реверсивным валом повернется храповик. Ролик фиксатора выйдет из средней впадины храповика и войдет под действием пружины 4 в более глубокую впадину. При этом конец фиксатора выйдет из впадины храпового колеса, позволяя вращать главный кулачковый вал.
В свою очередь реверсивную рукоятку из крайнего положения перевести в среднее (нулевое) можно лишь в нулевом положении главного вала, так как только в этом случае впадина храповика колеса находится напротив конца фиксатора. Фиксатор 5 служит для фиксации позиций главного вала, когда реверсивный вал находится в положении Вперед или Назад.
Главная рукоятка состоит из прессованного пластмассового корпуса, прессованной волокнитовой головки, кнопки и деталей механизма блокировки безопасности (рис. 182).

Рис. 180. Контроллер машиниста

Рис. 181. Механическая блокировка кулачковых валов контроллера машиниста

Механизм электрической блокировки безопасности работает так: при нажатии на кнопку 2 рукоятки контроллера машиниста кнопка перемещается вниз, преодолевая усилие выключающей пружины 8 и контактных пружин 18. Вместе с кнопкой перемещается и стержень 9 с закрепленной на конце его скобой 20 — пружино держателем. При этом сжимаются две контактные пружины 18, которые одним концом опираются на скобу, а другим — на контактный мостик 15 с напаянными серебряными контактами.
После того как выступы скобы, удерживающие контактные пружины, опустятся ниже выступов на контактном мостике, последний под усилием пружин переместится вверх и замкнет цепь блокировки безопасности. В момент, когда контактный мост касается неподвижных контактов 13, раздается характерный звук в виде щелчка, сигнализирующий машинисту, что контакты замкнулись. Ход стержня со скобой вниз ограничивается изолированным упором 19. При дальнейшем нажатии, когда стержень коснется упора, начинает сжиматься более сильная компенсирующая пружина 4. Стержень при этом остается на месте, а кнопка продолжает перемещаться вниз до соприкосновения с головкой 5.
Последнее перемещение кнопки на нажатие блокировочных контактов не влияет, так как стержень больше уже не перемещается. При опускании кнопки стержень со скобой под действием выключающей пружины 8 перемещается вверх, контакты размыкаются, срабатывает автостоп и отключаются линейные контакторы. От неподвижных контактов 13, подсоединенных к контактодержателям 12, по канавке главного вала контроллера проведены провода к контактным кольцам 14 (см. рис. 180); контактные пальцы, соприкасающиеся с контактными кольцами, электрически соединены с цепями управления. Головка 5 (см. рис. 182) на корпусе 22 главной рукоятки .крепится четырьмя винтами 10 на кольцевой проточке корпуса рукоятки, допускающими поворот ее относительно корпуса рукоятки.
В корпусе главной рукоятки для осмотра контактов предусмотрены два закрытых резиновыми пробками отверстия. Снизу корпус главной рукоятки закрыт крышкой 16.
Технические данные контроллера 1 КУ. 023:
Номинальное напряжение ПО В
Номинальный ток контакта блокировки безопасности 5 А
Число фиксированных позиций главного вала 11
Угол поворота главного вала 142,5е — 0—142,5°
Число фиксированных позиций реверсивного вала 3
Угол поворота реверсивного вала 30°—0—30°
Тип 'кулачковых контакторов КЭ-42
Число кулачковых контакторов на валах:
главном 16
реверсивном 5
Нажатие контактных пальцев 5 7,5 Н
(0,5—0.75 кгс)
Нажатие контактного мостика главной рукоятки 3--4Н
(0,3-0,4 кгс)
Нажатие на кнопку главной рукоятки:
для срабатывания блокировки, не более 25 Н (2,5 кгс)
для удержания, не более 10 Н (1 кгс)
Масса 20,5 кг
В процессе работы контроллер машиниста необходимо периодически осматривать. При ТО-1 и ТО-3 очищают изоляционные поверхности от пыли, влаги и следов смазки, продувают сжатым воздухом и протирают салфеткой из бязи № 3.
Проверяют состояние проводов и их наконечников и состояние крепежа. Наконечники, имеющие трещины или изломы или уменьшение контактной поверхности более чем на одну четверть, заменяют. У проводов, имеющих более 20% поврежденных жил или неполноценную пайку, наконечники перепаивают.
Подгары контактов зачищают стеклянной бумагой или напильником А200 № 4. При осмотре контактов следует особое внимание обратить на мости-ковый контакт безопасности в главной рукоятке.
Проверяется срабатывание мостикового контакта безопасности при нажатии и отпускании кнопки главной рукоятки. Производят проверку надежности фиксации главного и реверсивного валов при вращении реверсивной рукоятки и рукоятки главного вала.
При ТР-1 и ТР-2 дополнительно проверяют: растворы, провалы, притирания и контактные нажатия, степень изношенности контактов кулачковых контакторов, состояние роликов кулачковых контакторов. При наличии на роликах местной выработки глубиной более 0,3 мм контакторы заменяют новыми.
Проверяется нажатие контактного мостика главной рукоятки и контактных пальцев. Если контактное нажатие пальцевого контакта не соответствует техническим данным, то производят регулировку путем перемещения узла, к которому крепятся пальцевые контакты, по угольнику.
Проверяется нажатие на кнопку главной рукоятки для срабатывания и ее удержания во включенном положении. Если значения нажатий не соответствуют техническим данным, необходимо заменить пружину под кнопкой.
|
|