Пусковой резистор 1С.013 расщепителя фаз представляет собой элемент КФ,
расположенный в ящике под моторным вагоном. Технические данные резистора 1С.013:
Сопротивление элемента , 0,42 Ом
Сечение фехрали 1 Ох 1.1 мм
Длительный гок при перегреве 350 С 32 А
Установочный размер 290 мм
•Масса 15 кг
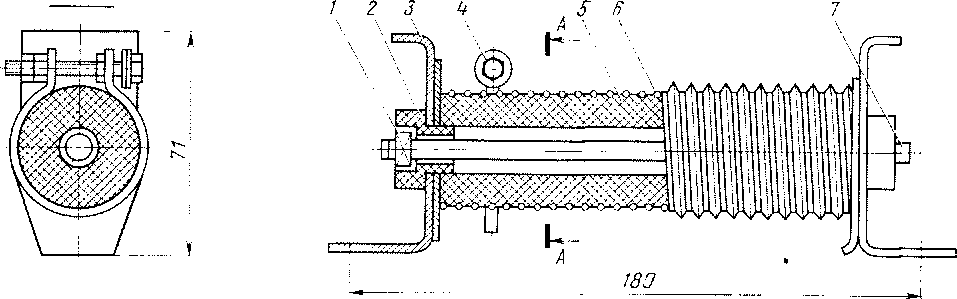
Резистор трубчатый ТСО (по схеме R37, R38, R39 на головном вагоне, R27 — на моторном и R39 — на прицепном вагоне) регулируемый, состоит из цилиндра 5 (рис. 187), на котором намотана константановая мягкая проволока 6. Трубку при помощи гайки /, шпильки 7 и двух фарфоровых втулок 2 крепят на металлических лапках 3. Лапки имеют вырезы для крепления на панели. Для изменения величины сопротивления средний вывод 4 может быть передвинут вдоль обмотки. Выводы к лапкам припаиваются припоем МФЗ.
Основные технические данные резистора:
Допустимая мощность рассеяния с естественным
охлаждением до 80 Вт
Рабочее напряжение до 250 В
Сопротивление і о Ом
Количество витков 82
Диаметр проволоки 0,7 мм
Длина проволоки 9,2 м
Допустимая нагрузка 2,5 А
Масса ' 0І2 кг
Резисторы ПЭВ предназначены для работы в цепях постоянного и переменного тока частотой 50 Гц и используются в качестве сопротивлений, включаемых в цепи катушек различных реле и других аппаратов.

Рис. 187. Резистор трубчатый ТСО

Рис. 188. Резистор ПЭВ
На керамический или стеатитовый каркаса (рис. 188), со спиральной накаткой намотана константановая проволока 2. После намотки поверхность трубки заливают эмалью, предохраняющей обмотку от разматывания, замыкания витков и окисления при нагреве. К выводным концам сопротивления 2 и лапкам / припаивают гибкий шунт 3.
Для резисторов ПЭВ-7,5 номинальная мощность равна 7,5 Вт, пределы номинальных значений сопротивлений составляют 5—3300 Ом, масса — 23 г. Для резисторов ПЭВ-25 номинальная мощность равна 25 Вт, пределы номинальных значений сопротивлений составляют 10—25 000 Ом, масса — 57 г.
Для резисторов ПЭВ-50 номинальная мощность равна 50 Вт, пределы номинальных значений сопротивлений составляют 20—51 000 Ом, масса — 132 г. Для резисторов ПЭВР-100 (регулируемые) номинальная мощность равна 100 Вт, пределы номинальных значений сопротивлений составляют 51—2700 Ом, масса — 300 г и т. д.
Условия работы резисторов: температура окружающей среды от —60 до +100°С; электрическая прочность изоляции в нормальных климатических условиях — 2000 В постоянного или равного по амплитуде переменного тока частотой 50 Гц; допустимое превышение температуры трубки над температурой окружающего воздуха (20—40 °С) не более 300 °С; гарантийный срок службы 5000 ч.-Допустимое отклонение величины активного сопротивления от номинального значения: для первого класса ±5%, для второго класса ±10%.
|
|