Термоконтакторы ТК 52А предназначены для поддержания постоянной температуры воздуха в потолочном вентиляционном канале (ТК 52А-8 и ТК 52А-16) и в кабине машиниста (ТК 52А-16 и ТК 52А-20).
Термоконтактор (рис. 184) — ртутный стеклянный палочного типа со впаянными в капилляр контактами. Контакты изготовлены из платиновой проволоки диаметром 0,1 мм, один конец которой впаивают в капилляр, а другой для защиты от поломки — в стеклянную пуговицу. Замыкание цепи происходит при температуре, указанной на стеклянной ампуле термоконтактора. Термоконтакторы изготовляют из стекла. Ртуть предварительно просушивают и очищают. Свободный объем капиллярной трубки над столбом ртути заполняют водородом.
Технические данные термоконтакторов следующие: допустимая коммутируемая мощность тока при индуктивной нагрузке с постоянной времени т=^0,005 с при токе не более 0,04 А составляет не более 2 Вт; допустимые пределы погрешности температурных уставок ±0,5 °С; минимальное число замыканий и размыканий составляет не менее 50 000. Термоконтакторы должны выдерживать нагрев выше температуры контактирования не менее чем на 30 °С и быть работоспособными при температуре окружающей среды до +65°С. Температура воздуха в салоне начнет снижаться до тех пор, пока ртутный столбик не опустится ниже рабочего контакта и разомкнет контакты термоконтактора, что вызовет включение калорифера. Весь процесс повторяется, и таким образом поддерживается постоянная температура воздуха.
Датчик-реле температуры ТЖ-В является командным устройством в системе автоматического регулирования температуры воздуха в пассажирском салоне вагона. Датчик-реле" состоит из следующих основных частей: термосистемы,

включающей в себя термобаллон 1 (рис. 185) и сифон 2 со штоком 3; контактной группы, содержащей контакты 13, пружинный рычаг //, постоянный магнит 20, винт 7 настройки на срабатывание и винт 19 настройки дифференциала; показывающей части, содержащей стрелку 12, информационную шкалу 16 и механизм настройки 8. Контактная группа и показывающая часть смонтированы на основании 6, которое с крышкой 14 образует брызго-непроницаемый корпус. В крышке имеется стекло (линза) 17 для обзора шкалы. Термосистема также крепится к основанию 6, образуя с контактной группой и показывающей частью термоконтактор. Термоконтактор вставлен в кожух 4, прикрепленный к плите 5. Термоконтактор, а также крышка 18 крепятся к кожуху 4 специальными винтами 15. Кожух имеет отверстия, обеспечивающие доступ окружающего воздуха к термосистеме. Датчик-реле крепится к стене вагона непосредственно за плиту 5. Соединительные провода 9 к датчику присоединяются к его клеммной колодке 10.
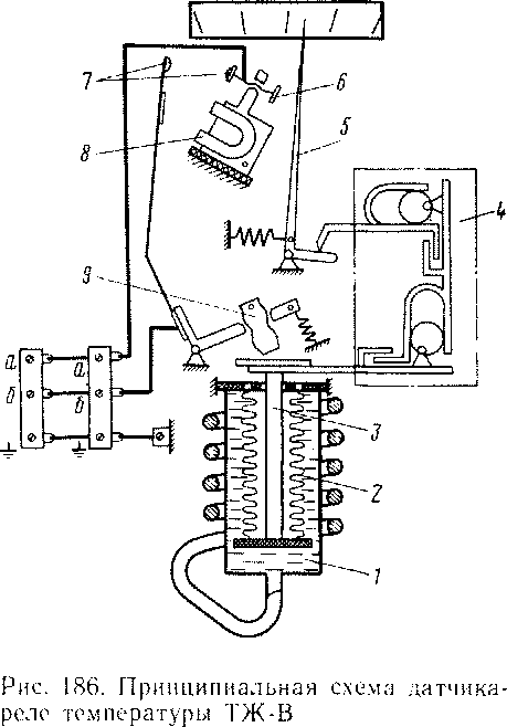
Принципиальная схема датчика-реле ТЖ-В приведена на рис. 186. При повышении температуры окружающего воздуха жидкость, находящаяся в термосистеме /, увеличивается в объеме и сжимает сильфон 2, связанный со штоком 3, перемещение которого через систему рычагов приводит к размыканию контактной пары 7 и перемещению стрелки-указателя 5 показывающей части датчика-реле. При понижении температуры окружающего воздуха сильфон со штоком делают обратный ход, что приводит к замыканию контактов.
Мгновенное замыкание и размыкание контактов обеспечивается наличием постоянного магнита 8. Изменение пределов срабатывания датчика-реле производится винтом 9. Настройка дифференциала, т. е. разницы между температурой замыкания и размыкания контактов, производится винтом 6. Настройка показывающей части датчика-реле производится устройством 4. Настроенный и правильно смонтированный датчик-реле не требует специального обслуживания. Перед включением его в работу следует проверить правильность показаний указателя температуры окружающего воздуха. Проверка правильности работы датчика-реле производится следующим образом: специальным ключом вывертывают винты 15 (см. рис. 185) и снимают крышку 18; вынимают термоконтактор из кожуха 4 и отсоединяют от клеммной колодки 10 соединительные провода 9; проверяют основные температурные показатели датчика-реле на водяном термостате.
Технические данные реле ТЖ-В:
Диапазон настройки контактной группы на срабатывание плюс 8 — 25 °С Погрешность срабатывания контактной группы ±1 "С
Зона нечувствительности (дифференциал) контактной группы 0,5—1,5 °С
Погрешность показаний механического указателя температуры:

в диапазоне настройки контактной группы на срабатывание (8 -25 X) ' ±1 X на остальных точках шкалы ±1,5Х Разрывная мощность контактов Вт Габаритные размеры 230X90X61) мм Масса, не более 1,5 кг
|
|