Быстродействующий автоматический выключатель (БВ) служит для отключения (защиты) силовых цепей тяговых двигателей, вспомогательных машин и отопления при коротких замыканиях в них. Кроме того, БВ используют для отключения силовых цепей при перегрузке тяговых двигателей, чрезмерном повышении или понижении напряжения в контактной сети, неполных коротких замыканиях в силовых цепях тяговых двигателей и вспомогательных машин, сильном боксовании одной из колесных пар, перегрузке в цепи отопления вагонов состава.
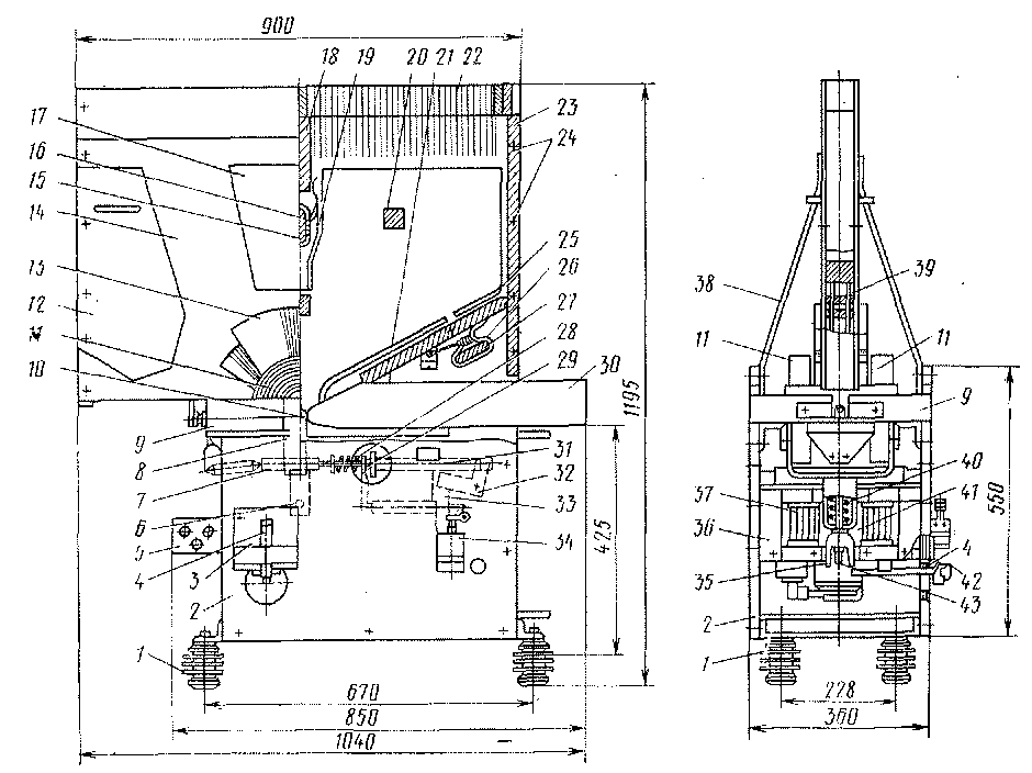
На электровозе ЧС2 установлен быстродействующий выключатель 12НС (рис. 157, 158 и 159) с пневматическим приводом. Он имеет несущую раму, автоматически контактное отключающее и

Рис. 157. Быстродействующий выключатель 12НС и его габаритные размеры

Рис 158. Быстродействующий выключатель 12НС

Рис. 159. Схема включающего и отключающего механизмов выключателя 12НС
дугогасительное устройство, пневматический привод, вспомогательные (блокировочные) контакты. По отношению к кузову («земли») токонесущие части высокого напряжения выключателя имеют двойную изоляцию, состоящую из четырех фарфоровых изоляторов 1 (см. рис. 157) и гетииаксовых изоляционных стенок 2. Вместе со стальной сварной рамой выключателя эти стенки образуют каркас для крепления всех остальных частей выключателя.
Контактное устройство состоит из неподвижного главного контакта 30, выполненного из медной шины толщиной 16 мм, к которой тремя винтами прикреплен медный контакт, и подвижного главного медного контакта 10; последний может поворачиваться вокруг оси 6 и находиться под действием отключающей пружины, стремящейся разомкнуть контакты 10 и 30, т. е. отключить БВ.
Для включения аппарата необходимо переместить текстолитовую тягу 31 в направлении неподвижного контакта 30 (вправо по рис. 157 и влево по рис. 158 и 159). При этом зубчатая тяга (защелка) 7 захватывается храповиком 8, сцепленным с подвижным контактом 10, и последний передвигается в сторону неподвижного контакта, т. е. главные контакты замыкаются.
Пружины 28, регулируемые винтом 29, устанавливают необходимое нажатие между главными контакта-

ми. В отключенном состоянии подвижной контакт 10 удерживается пружиной 73.
С подвижным контактом связаны четыре пары подвижных блокировочных контактов, помещенных в корпусе 34. Две пары контактов замыкают цепи при включенном БВ и две пары размыкают.
Автоматическое отключающее устройство состоит из катушки 37, выполненной из 13/4 витка шинной меди сечением 16X70 мм2, якоря 35, магнитопровода 36 и расцепляющего механизма. Концы катушки 37 с одной стороны соединены с выводной шиной 5, а с другой —с дугогасительными катушками //. На якорь 35 постоянно нажимает пружина 40, стремящаяся отвести его от сердечника 41 электромагнита. Воздушный зазор между якорем 35 и сердечником устанавливают винтом 43. Величиной этого зазора определяется ток катушки 37, при котором якорь, преодолевая нажатие пружины 40, притягивается к сердечнику. Значения тока уставки определяются положением якоря, который рычагом 42 связан со стрелкой 4. Положение стрелки 4 шкалы 3 указывает ток уставки.
По катушке 37 проходит ток силовой цепи электровоза. Когда величина этого тока превысит ток уставки БВ, якорь 35 поднимется вверх, регулировочный винт 43 вытолкнет зубчатую тягу (защелку) 7 из зацепления с храповиком 8. Подвижной контакт 10 под действием отключающей пружины 72 практически мгновенно (через 0,006 с) отойдет от неподвижного контакта 30.
БВ включается пневматическим приводом (рис. 160). Привод состоит из чугунного цилиндра 66 с внутренним диаметром 90 мм, закрытого снизу крышкой 52, имеющей канал для подвода и отвода сжатого воздуха. В цилиндре помещен поршень 54 с канавкой,
в которую заложено уплотняющее резиновое кольцо 53. На поршень через шайбу 55 постоянно давит пружина 57, стремящаяся возвратить поршень в нижнее положение. В нижней части поршня укреплен валик 51, соединяющий поршень со штоком 33.
Пружина 56, витки которой расположены вокруг валика 51, упирается своим нижним концом о дно поршня, верхним концом нажимает на шток 33 и стремится прижать его к ролику 58, ось этого ролика прикреплена к цилиндру 66.
Над цилиндром 66 расположен двуплечий рычаг 32, па нижнем плече которого укреплен ролик 60, а верхнее плечо через шарнир и изоляционную (текстолитовую) тягу 31 (см. рис. 159) при повороте рычага по часовой стрелке перемещает подвижной контакт к неподвижному.
В выключателе имеется механизм, состоящий из тяги 59 (см. рис. 160, рычага 61, свободно посаженного на ось 62, тяги 63, соединенной с плунжером электромагнита 64. При возбуждении этого электромагнита шток 33 поворачивается по часовой стрелке и верхней частью прижимается к ролику 60 рычага 32.
К поршню 54 прикреплен кронштейн 70, в который ввернут болт 69, управляющий включением и выключением блокировочных контактов, расположенных в корпусе 67.
Впуск и выпуск сжатого воздуха в рабочую полость цилиндра привода производят электромагнитным вентилем 65 типа 842.
При возбуждении катушки вентиля 65 сжатый воздух поступает под поршень 54 и, преодолевая усилие пружины 57, поднимает его вместе со штоком 33. Так как одновременно с возбуждением катушки вентиля возбуждается удерживающий электромагнита— катушка его постоянно включена параллельно катушке вентиля, то шток 33 прижимается к ролику 60 и своим выступом В поворачивает рычаг 32 по часовой стрелке, т. е. производит включение БВ.
Нормально поршень 54 имеет ход 38 мм. При перемещении поршня вверх болт 69 нажимает на штифт 68, с которым связаны четыре пары подвижных блокировочных контактов БВ. При отключении катушек электромагнита 64 и вентиля 65 шток 33 поворачивается против часовой стрелки и дает возможность под действием отключающих пружин 72 (см. рис. 159) отойти подвижному контакту от неподвижного, так как рычаг 32 при этом может свободно поворачиваться против часовой стрелки. По мере выхода воздуха из цилиндра 66 поршень 54 вместе со штоком 33 под действием пружины 57 и собственного веса опускается вниз. Сделано это для того, чтобы- время отключения БВ не было связано со временем выхода сжатого воздуха из цилиндра через каналы и электромагнитный вентиль 65. Пневматический механизм установлен на двух консолях между изоляционными стенками 2. При отключении БВ между его главными контактами появляется дуга / (рис. 161). Для ускорения процесса гашения дуги применено магнитное ее выдувание. Магнитное поле создается двумя параллельно включенными дугогасительными катушками 11, имеющими по

Рис. 161. Схема дугогашения выключателя 12НС
пять медных витков (сечением 50 X Х10 мм2). Катушки с одной стороны через катушку 37 электромагнита соединены с внешней цепью (токоприемником), а с другой (внешними витками) с помощью гибких шунтов 44—с подвижным контактом 10. По этим катушкам проходит весь ток силовой цепи электровоза и образованный им магнитный поток замыкается по магнитопроводу 9 (см. рис. 158), башмакам 13, воздушному зазору между боковыми стенками 14 и самим стенкам дугогасительной камеры. Башмаки выполнены из листов электротехнической стали, расположенных в виде веера.
Под действием магнитного поля катушек // (см. рис. 161) дуга удлиняется и перекидывается на рога 21 и 45 (на рис. 161 эта стадия гашения дуги изображена линией //) и начинает двигаться по ним вверх.
Рог 21 соединен с неподвижным, а рог 45 — с подвижным контактами. После того как дуга растянется настолько, что она перекинется с нижней части рогов 21 и 45 на верхние изолированные от первых прямолинейные части — шины 25 и 46 (стадия ///), ток начнет проходить по дополнительным дугогасительным катушкам 26 и 47, которые имеют по два витка. Образованный указанными катушками магнитный поток, замыкаясь через сердечник 27 (см. рис. 157 и 158), стальные накладки 12, воздушный зазор между стенками камеры и сами стенки, создает дополнительную силу, способствующую перемещению дуги вверх. При этом дуга встречает в дугогасительной камере дополнительные малые рога 19 и.48, соединенные между собой дугогасительной катушкой 16, внутри которой помещен сердечник 15 из электротехнической стали, а снаружи боковых стенок камеры расположены стальные накладки 17.
Малые рога укреплены в дугогасительной камере с помощью непроводящего ток стержня 18. При прохождении тока через катушку 16 (стадия IV) этой катушкой также создается магнитный поток, выдувающий дугу вверх и растягивающий ее (см. рис. 161). Когда дуга достигнет длины, при которой внешнее напряжение уже не может ее поддержать, она разрывается.
Дугогасительная камера (см. рис. 157 и 158) состоит из боковых асбоцементных стенок 14, скрепленных между собой болтами 24. По краям камеры между стенками помещены асбоцементные бруски 23. Для уменьшения выхлопа пламени и ионизированных газов из дугогасительной камеры в верхней ее части установлена деионная решетка, состоящая из отдельных элементов 22.
При движении дуги вверх она охлаждается боковыми стенками, а также дополнительными вертикальными перегородками 39, расчленяющими ее на параллельные дуги, что также способствует ее лучшему охлаждению. Перегородки скреплены прокладками 20. Бруски 74, на которые помещены рога, изготовлены из микоплакса (спрессованный порошок слюды со связующим). Дугогасительная камера помещается между башмаками 13 так, что они соприкасаются со стенками 14 этой камеры. Дополнительным креплением камеры служат пружинящие пластины 38.
Многожильный кабель управления 49 (рис. 162 и 157—159) присоединен к БВ с помощью многоконтактного штепсельного соединения 50.

ьжатый воздух к пневматическому механизму подведен резиновым шлангом 71, присоединенным к трубопроводу через кран 955.
Основные технические данные быстродействующего выключателя 12НС
Номинальное напряжение......... 3000 В
Номинальный ток............ 2000 А
Пределы регулировки при автоматическом выключении ,............... 2000—3000 А
Ток уставки на электровозе ЧС2 ....... 2500±5%
Нажатие главных контактов........ 60 кгс±5%
Разрыв » » ......... 26 мм±10°/о
Натяжение отключающей пружины...... 65 кгс
Номинальное напряжение катушек электромагнитного вентиля, удерживающей катушки электромагнита и блокировочных контактов ..... 48 В
Число витков катушки удерживающего электромагнита ............... 2350
Провод катушки............. 0 0,8 мм
Сопротивление катушки при 75° С...... 12,5
Давление воздуха для включения....... 35 кгс/см2
Вес выключателя............. 2132 кг
» дугогасительной камеры......... 72 »
» пневматического механизма....... 20 »
|
|