Для защиты тяговых двигателей и электрической аппаратуры от больших токов, которые могут вызвать повреждение оборудования, на электровозе установлены реле перегрузки (реле максималь-
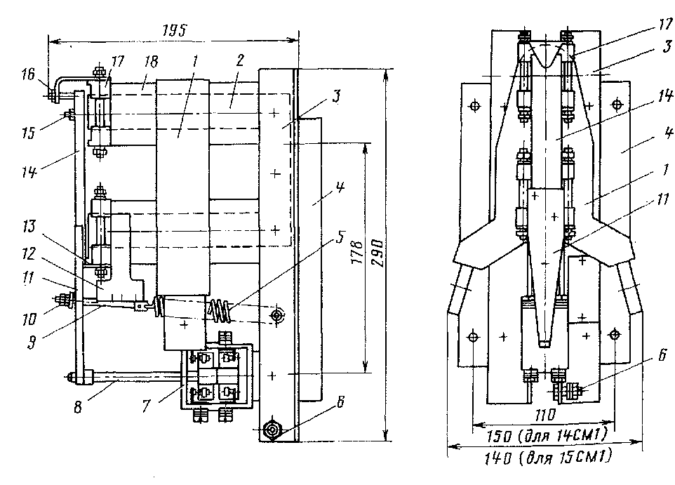
ного тока). В цепи тяговых двигателей включены токовые катушки реле перегрузки 14СМ1 или 14СМ2 (рис. 163) три реле по числу параллельных цепей тяговых двигателей. В цепи отопления вагонов состава — токовая катушка реле перегрузки 15СМ1 или 15СМ2, сходные по конструкции с реле 14СМ1 и 14СМ2.
Магнитопровод (ярмо) 2, набранный из листовой электротехнической стали и отштампованной в виде буквы П, укреплен латунными болтами между угольниками (стойками) 3. Последние в свою очередь четырьмя болтами укреплены на фибровой плите 4. В верхней части магнитопровода размещена одновитковая токовая катушка 1.
Для катушки реле 14СМ1 применена шинная медь сечением 10X32 мм2, для реле 14СМ1 —5X25 мм2. Катушки залиты смесью эпоксидной смолы и кварцевого песка. Открытые части магнитопровода покрыты изоляцией 18, удерживаемой «а магнитопроводе держателями 17.
Подвижная система реле состоит из якоря 14, выполненного из пакета прямоугольных листов электротехнической стали, спаянных сбоку латунью, и планки И, скрепленной с якорем болтами. Планка опирается на острие прокладки (призму) 13. На планку постоянно действует усилие навитой из рессорно-пруживной стали пружины 5, которое передается через тягу 9, гайку 10 и подложенную под нее фигурную шайбу. Это усилие стремится повернуть якорь 14 против часовой стрелки. Этот поворот ограничивает латунный

Рис. 163. Реле перегрузки 14Щ1 и 15СМ1
болт 16, регулирующий воздушный зазор между якорем 14 и маг-нитопроводом 2 при оттянутом положении якоря.
С нижней частью планки // тягой 8 соединены подвижные контакты блокировочного устройства реле, помещенные в корпусе 7. Для регулировки воздушного зазора между якорем и магнитопро-водом при притянутом положении якоря служит латунный болт 15, ввернутый в верхнюю часть якоря. Магнитопровод 2 и угольники (стойки) 3 заземляются с помощью болта 6.
При возрастании тока в катушке реле выше установленного якорь преодолевает момент, создаваемый пружиной 5, и притягивается к ярму. Нижний конец планки 11 перемещается влево и размыкает блок-контакты. Последние в свою очередь разрывают цепь удерживающей катушки БВ, который отключится. Вторая пара блок-контактов реле замыкает цепь сигнализатора, по которому можно определить, какое из реле перегрузки сработало. После прекращения тока якорь реле под действием пружины отходит от магнитопровода, блок-контакты реле замыкаются, т. е. реле восстанавливается.
Катушки реле перегрузки имеют изоляцию, рассчитанную на номинальное напряжение 3000 В. Реле 14СМ1 можно регулировать на ток срабатывания от 400 до 850 А, реле 14СМ2 — от 400 до 900 А. На электровозах реле 14СМ2 отрегулировано на ток 800— 850 А. Реле 15СМ1 можно регулировать на ток срабатывания от 200 до 400 А, оно отрегулировано на 250 А. Уставку реле в основном регулируют изменением натяжения пружины 5 с помощью гаек 10, Для удобства настройки реле имеются фибровые шкалы 12, на'которых нанесены значения тока.
Блокировочные контакты реле рассчитаны на номинальное напряжение 48 В и ток 6 А. Каждое реле 14СМ1 и 14СМ2 весит 6,28 кг, реле 15СМ1 и 15СМ2 — 5,08 кг.
|
|