Для сигнализации машинисту о начавшемся боксовании колесных пар и отключении силовой цепи тяговых двигателей на электровозах 34Е установлены три реле боксования, а на электровозах 53Е установлена система, состоящая из магнитных усилителей и регулирующего блока. Никаких противобоксовочных функций эти аппараты не выполняют, поэтому иногда применяемое наименование их как «противобоксовочная защита» является ошибочным. На рис. 167 показано реле боксования 11СВ1 электровоза 34Е. Это реле имеет две токовые катушки / и 2, которые через добавочный резистор 52ИР включают параллельно зажимам якорей тяговых двигателей.
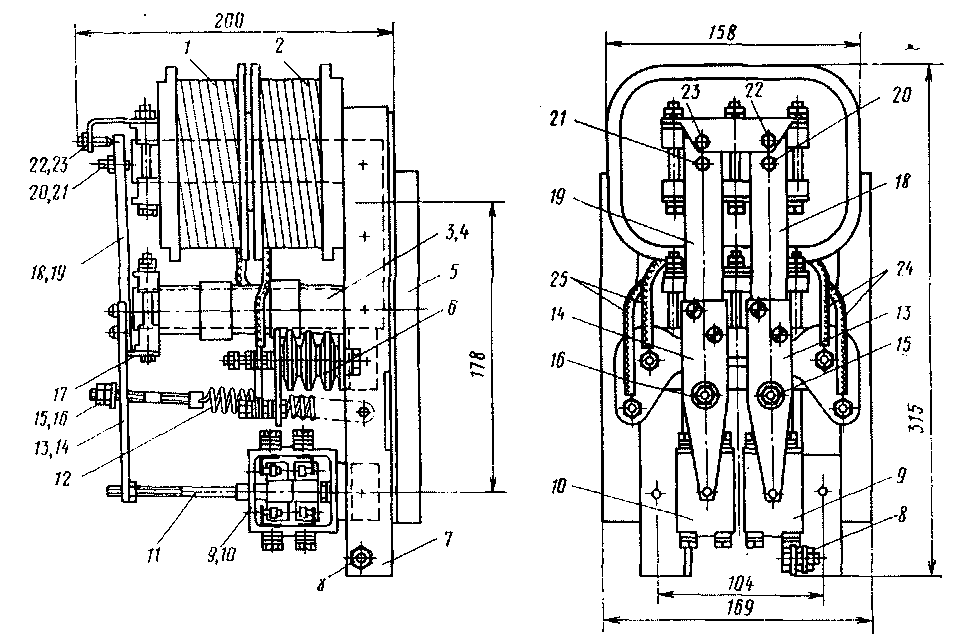
Обмотка катушек выполнена из эмалированной медной проволоки без изоляции диаметром 0,28 мм и с изоляцией — 0,30 мм. Через катушки проходят два ярма 3, 4 магнитопровода, состоящие из двух отдельных пакетов собранных листов электротехнической стали, отштампованных в виде буквы П. Каждый из пакетов имеет якоря 18 и 19, опирающиеся на призму 17.
К якорям с помощью винтов прикреплены пластины 13 и 14, на которые постоянно действуют пружины 12, стремящиеся повернуть якоря против часовой стрелки. Нижние концы пластин с помощью штифтов // соединены с подвижными контактами, помещенными в защитных корпусах 9 и 10. Магнитопровод стальными угольниками 7 прикреплен к плите 5.
Для регулировки воздушных зазоров между якорями 18 и 19 и ярмами 3 и 4 в притянутом положении служат болты 20 и 21 и
в оттянутом положении — болты 22 и 23. Гайками 15 и 16 можно регулировать натяжение пружин 12.
Выводы 24 и 25 обмоток катушек подведены к зажимам, укрепленным на изоляторах 6. Части ярма магнитопровода, находящиеся под катушкой, покрыты изоляцией из эпоксидной смолы.
Для присоединения магнитопровода к заземленным конструкциям служит болт 8, ввернутый в угольник 7. С помощью болтов 21. 23 и гайки 16 реле регулируют таким образом, что якорь 19 притягивается к ярму 3, как только разность токов в катушках достигнет — 0,014 А. Якорь 18 приходит в движение при токе в катушках 0,058 А. Такая настройка достигается болтами 20 и 22 я гайкой 15.
Катушки реле имеют по 1200 витков, сопротивление по 1200 Ом и присоединяются « зажимам якорей тяговых двигателей через добавочные резисторы 52НР с сопротивлением по 14 400 Ом. Элементы их выполнены из проволоки, намотанной на трубки (рис. 168) и заизолированной жаростойким материалом (сопротивления марки Тесла ТРчбЗО). Величина сопротивления элемента (трубки) равна 5100 Ом. Шесть трубок 3 с помощью керамических держателей 4 укреплены на фибровой плите /, защищенной от нагревания асбестовой прокладкой 2. При помощи проводников 6 каждые три элемента соединены последовательно. Проводники, идущие к катушкам реле боксования и зажимам якорей тяговых двигателей, присоединяются к зажимам А и В. Для регулирования величины добавочного сопротивления служит хомутик 5, который

Рис. 167. Реле боксования 11СВ1
соединен с зажимом В и может устанавливаться в разных местах трубки.
Когда частота вращения двух якорей тяговых двигателей, к зажимам которых присоединены катушки реле боксования, одинакова, т. е. напряжение на зажимах якорей равно между собой, по катушкам реле боксования текут равные токи. Так как направление тока в катушках принято разным, то они не создают магнитного потока.
Когда же начинается боксование Одной из колесных пар, то на зажимах якоря, связанного с этой колесной парой, напряжение повышается и соответственно увеличивается ток в цепи катушки реле боксования, соединенной с этим якорем. При разности напряжений на зажимах двух якорей в 220 В±5% магнитный поток, образованный катушками реле боксования, оказывается достаточным, чтобы, преодолев действие на якорь пружины 12, притянуть его к ярму <3-(см. рис. 167). При этом замыкаются блок-контакты в корпусе 10 и в кабину машиниста подается звуковой сигнал.
Если машинист не примет меры к прекращению боксования п оно усилится до величины, при которой разность напряжений на зажимах якорей двух тяговых двигателей достигнет 900 В ±5%, то притянется к ярму 4 якорь 18 и его блок-контакты разорвут цепь промежуточного реле (в схеме электровоза оно обозначено 331), а последнее отключит БВ.
При снятии напряжения с катушек реле или прекращении боксования (уменьшение разности напряжений между якорями тяговых двигателей соответственно до 125 и 260 В) якоря реле под действием пружин 12 возвратятся в оттянутое положение.
Блок-контакты реле боксования рассчитаны на номинальное напряжение 48 В и ток 6 А. Подъем их приблизительно равен 3 мм. Реле весит 10,5 кг.
Элементы добавочного резистора 52ИР к реле боксования рассчитаны на ток 0,1 А. Вес панели с шестью элементами составляет 3,44 кг.
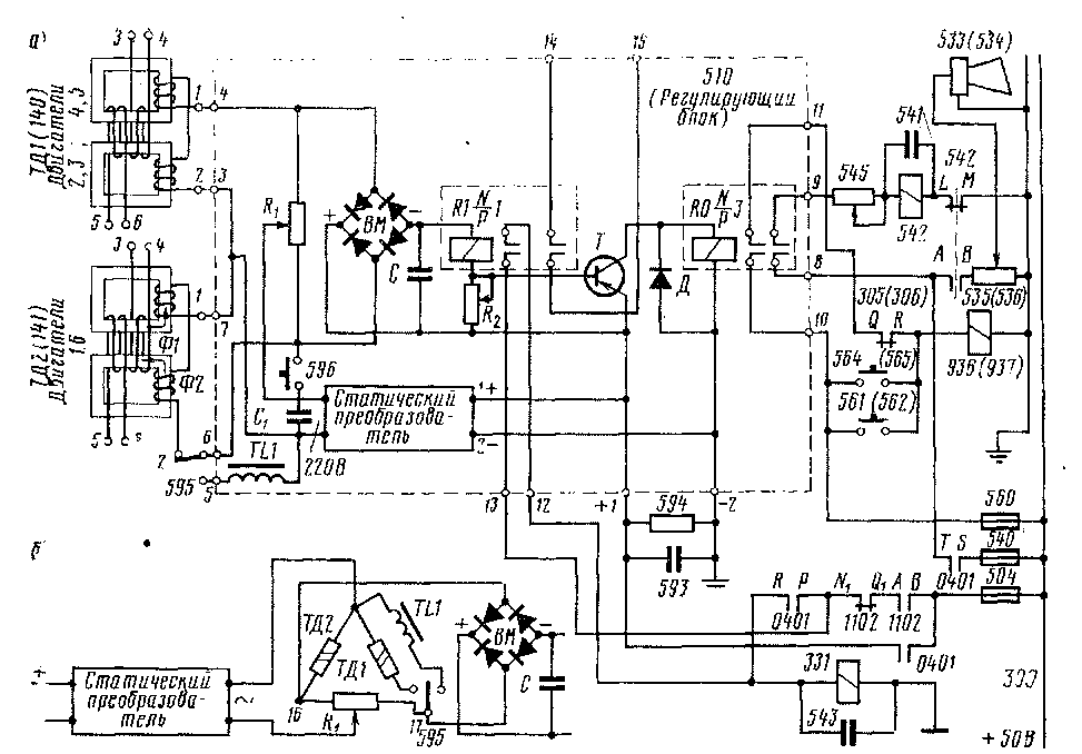
На электровозах 53Е установлены два магнитных усилителя (трансдуктора) ТД1 и ТД2 (рис. 169) и регулирующий блок 510. Магнитный усилитель (рис. 170) состоит из двух замкнутых магнитных сердечников, изготовленных из материала марки РУ76СИ. На этих сердечниках размещены рабочие обмотки и две последовательно соединенные обмотки, подключенные к выводам / и 2. При прохождении тока по катушкам, соединенным с выводами 1 и 2, они создают встречные магнитные потоки Фі и Ф2. На обоих сердечниках имеются также обмотки управления с выводами 3, 4 и 5, 6. Выводы 3, 4 магнитного усилителя ТД1 соединены с диагональю моста, образуемого якорями тяговых двигателей ДЗ, Д2 и резисторами 160, 161; выводы 5, 6 соединены с диагональю моста, образуемого якорями двигателей Д5, Д4 и резисторами 162,163. Выводы обмоток управления магнитного усилителя 7"Д2 соединены последовательно с резисторами 164, 165, включенных параллельно якорям тяговых двигателей Д1 и Д6. Сопротивление каждого из резисто-

Рис. 169. Схема соединения тяговых двигателей, магнитных усилителей и регулирующего блока

Рис. 170. Общая схема включения трансдукторного реле боксования (а) и его принципиальная схема (б)
ров 160—165 составляет 52,7 кОм. Если ни одна из колесных пар электровоза не бок-сует, то напряжение между выводами 3 и 4 для двигателей ДЗ, Д2 ,и между выводами 5 и 6 для двигателей Д5, Д4 равно нулю; величины напряжений между выводами 3 и 4 двигателя Д1 и между выводами 5 и 6 двигателя Д6 равны между собой. В этом случае обмотки управления не создают магнитного потока. Сердечники обмоток оказываются ненасыщенными и рабочие обмотки, подключенные к источнику тока частотой более 1 кГц (к статическому преобразователю постоянного тока в переменный), представляют большое сопротивление' этому току. Когда одна из колесных пар начинает боксовать, то появляется разность напряжений между выводами 3 и 4 или выводами 5 и 6, сердечник насыщается, сопротивление рабочих обмоток переменному току падает и величина этого тока возрастает. При разности напряжений между выводами 3 и 4 или выводами 5 и 6 более 50 В возникает достаточное напряжение между базой и эмиттером транзистора Т
и последний открывает путь току катушки реле R0 ~ 3 по цепи:
::?овод 300, плавкий предохранитель 504, ■ кон-такты блокировочного барабана 0401 главного переключателя, эмиттера-коллектора тран-' :-:стора Т, катушка реле, «земля». Реле замыкает контакты между выводами 8, 9 и 10, 11. В результате образуются цепи: провод 300, :?едохранитель 540, контакты S-T блокировочного барабана 0401,
контакт реле резистора 545, катушка реле 542, его блок-контакты Л-М, «земля» и провод 300, предохранитель 560, контакты реле, контакты Q-R выключателя тока управления 305(306), катушка электромагнитного вентиля 936(937), «земля». При возбуждении катушки реле 542 замыкаются его контакты А-В, через резистор 535(536) начинает проходить ток и из-за падения напряжения на нем приходит в действие зуммер 533(534), сигнализирующий машинисту о начале боксования. После размыкания блок-контактов L-M реле 542 остается некоторое время включенным, так как ток в его катушке поддерживается конденсатором 541. Такая схема осуществляет прерывистую подачу сигнала. При возбуждении электромагнитного вентиля 936(937) начинается подача песка под колеса. При повышении напряжения между выводами 3, 4 или 5, 6 выше
500 В срабатывает реле R1 /, которое своими контактами
размыкает цепи промежуточного реле 331, а оно в свою очередь разрывает цепь удерживающей катушки быстродействующего выключателя и последний выключается.
Напряжение к катушке реле Rl-^ 1 и транзистору Т от
статического преобразователя подается в результате возникновения разности напряжений между точками 16 и 17 моста, образованного рабочими обмотками магнитных усилителей ТД1 и ТД2 и ветвями резистора R\. При этом переменный ток поступает к выпрямительному мосту ВМ, от которого выпрямленный и сглаженный конденсатором С ток идет к реле и транзистору.
Переключатель 595 служит для замещения обмоток магнитного усилителя ТД2 дросселем ТЫ при отключении тягового двигателя Д1 или Д6, когда в одной из встречно-направленных обмоток управлений остается рабочий ток, а в другой он прекращается. Кажущееся сопротивление (импеданс) дросселя ТЫ и рабочей обмотки магнитного усилителя одинаково. Кнопка 596 служит для включения конденсатора Ci при проверке действия системы.
|
|