Для измерения скорости движения локомотива в его кабинах установлены указатели скорости — механические скоростемеры типа СЛ-2М (рис. 186).
Скоростемер типа СЛ-2М непрерывно показывает скорость движения электровоза, суточное время в часах и минутах, суммарное количество километров, а также пройденное электровозом расстояние за сутки или за время работы одной бригады. Одновременно с показаниями скоростемер непрерывно регистрирует на бумажной ленте пробег электровоза в километрах, скорость движения, суточное время в часах и минутах, длительность пробега электровоза и время стоянок до 24 ч, направление движения, моменты и длительность пользования пневматическим тормозом и давление в тормозной магистрали. Прибор измеряет скорость в пределах от 5 до 150 км/ч с точностью ±2 км/ч, не считая ошибки за счет износа бандажей колес. На электровозах с № 145 установлены скоросте-

меры, имеющие шкалу до 220 км/ч.
Механизм прибора заключен в чугунный корпус 2, закрытый передней стенкой 5. Через застекленное окно этой стенки видны циферблат часов и их стрелки. Ключ 4 служит для завода часов и перевода стрелок. В верхней части прибора помещен регистрационный механизм, закрытый откидной крышкой 3, удерживаемой замком 1. На этот замок ставится пломба. Вал 8 прибора соединяют приводом с колесной парой электровоза. К камере 7 регистратора давления подводят трубку от тормозной магистрали. Низковольтные провода к скоростемеру подводят через штепсельное соединение 6.

Рис. 187. Червячный редуктор к скоростемеру
Прибор СЛ-2М весит около 18,5 кг. Суммарное количество кило метров отсчитывается на пяти левых цифровых барабанах.
Пробег за сутки или за рейс отсчитывается на трех правьи цифровых барабанах. Цифровые показатели этой группы могут быть в любое время сброшены на нуль при помощи ключа, распо ложенного на правой стороне корпуса прибора. Счетчик отсчиты вает количество пройденных километров независимо от направле ния движения электровоза.
Бумажную ленту для регистрации показаний скоростемера изготовляют длиной 12 м и шириной 79,5 мм. Она рассчитана на за пись 2400 км пройденного электровозом пути. Верхнее поле ленть шириной 30 мм имеет разлиновку через каждые 5 мм для записі-минут и для регистрации часов.
Нижнее поле шириной 40 мм служит для записи скорости, давления воздуха в тормозной магистрали, регистрации обратногс хода и пройденного пути.
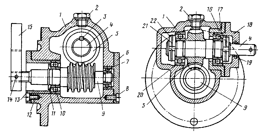
Вал одного скоростемера соединен с шейкой оси первой колесной пары через червячный редуктор (рис. 187).
Корпус / редуктора прикреплен тремя болтами к крышке буксы. В корпусе на шариковых подшипниках 10 (тип 5Кр7205) и / (типа ЭКР7202) укреплен червяк 9, соединенный штифтом 14 с по водком 15, а последний —- с осью колесной пары. При движение электровоза червяк вращается, одновременно поворачивается сцепленное с ним червячное колесо 5, фиксируемое на валу 4 шпонкой 3. Цапфы вала опираются на корпус 1 через шариковые подшипники 17 и 20 (тип 5КР6205). Последние удерживаются на валу предохранительными кольцами 21 и гайками 22.
Наружное кольцо подшипника 17 зажато между втулкой 16 г крышкой 18.
В канавке крышки помещено войлочное уплотняющее кольцо 19. Наружное кольцо подшипника 7 удерживается крыш-
кой б, прикрепленной к Корпусу / болтами 8, а наружное кольцо подшипника 10— втулкой 13 (болты 12).
Для предотвращения вытекания масла из корпуса около подшипника 10 помещен масло-. отражатель //. Смазку добавляют через отверстие в верхней части корпуса, закрытое пробкой 2.
Червяк выполнен из стали, червячное колесо — бронзовое. Колесо имеет 18 зубьев, червяк— однозаходный. Поэтому передаточное число редуктора 18:1. Вал червячного колеса соединен со скоростемером телескопическим валом, карданным шарниром и зубчатой передачей с коническими шестернями (рис. 188). Валы этих шестерен вращаются в шариковых подшипниках SKF6205, передаточное число равно 1.
При ремонтах часть подшипников SKF заменена на подшипники отечественного изготовления.
|
|