Кабины машиниста электровозов ЧС4Т оборудованы системой СНКЬ5 для кондиционирования воздуха. Установка отопления в системе кондиционирования воздуха обеспечивает в зимний период температуру в кабинах машиниста в диапазоне от +16° С до +18° С при температуре окружающей среды до —50° С. Максимальный перепад между температурой на уровне пола кабины машиниста и на высоте 1,5—2 м должен составлять не более 4—5° С. -
Летом установка охлаждения в системе кондиционирования должна обеспечивать температуру воздуха в кабинах машиниста не более +28° С при внешней температуре +40° С. Г
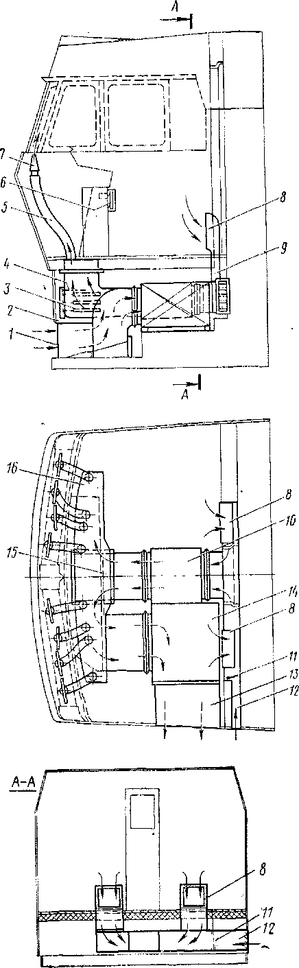
Аппаратура системы кондиционирования установлена в кабине под креслом помощника машиниста. Монтаж и демонтаж аппаратуры

Рис. 223. Схема установки охлаждения в системе кондиционирования
производится через открытое жалюзи отверстие 13 (рис. 223) в левой части кузова.
В режиме кондиционирования непрерывно работает вентиляционная установка, а также в зависимости от температуры окружающей среды холодильная или отопительная установка.
Принцип работы холодильной установки компрессорного типа в системе кондиционирования воздуха состоит в следующем. Электродвигатель 12 типа5М4007 (рис. 224) приводит в действие двухцилиндровый поршневой компрессор / и вентилятор 11. Компрессор подает хладагент фреон И12 в конденсатор 5, где происходит его конденсация. Охлаждение конденсатора производится воздухом, принудительная циркуляция которого осуществляется вентилятором 11.
Охлаждающий воздух всасывается вентилятором через закрытое сеткой входное отверстие 1 (см. рис. 223), расположенное на лобовой части электровоза и по системе воздуховодов подается к конденсатору 14. Выброс воздуха наружу происходит через закрытое сеткой выходное отверстие 13. Количество охлаждающего воздуха можно регулировать затвором 15, который при работе установки охлаждения должен находиться в открытом состоянии. В зимнее время, когда установка охлаждения не работает, для защиты оборудования системы кондиционирования воздуха от попадания снега затвор 15 должен быть закрыт.
При чрезмерном повышении давления в цепи протекания хладагента срабатывает автоматический защитный выключатель 10, который отключит электродвигатель компрессора. Для контроля за работой установки охлаждения системы

кондиционирования воздуха в цепь протекания хладагента встроен указатель 2 с окошком для наблюдения.
Из конденсатора 5 (см. рис. 224) жидкий хладагент последовательно подается через коллектор 4 в фильтр-дегидратор «3, который обеспечивает отделение влаги от хладагента, а затем в термостатический расширительный клапан 6. В клапане скорость протекания хладагента уменьшается и через распределитель 7 жидкий фреон поступает в состоящий из пяти секций испаритель 8. Проходя через испаритель, хладагент отбирает тепло из воздуха, принудительная циркуляция которого обеспечивается вентиляционным агрегатом 9, состоящим из двух вентиляторов и электродвигателя 2АРС71-28.
Всасывание в систему кондиционирования свежего воздуха осуществляется через закрытое сеткой отверстие 12 (см. рис. 223). Количество поступающего воздуха может регулироваться клапаном 11, управление которым осуществляется из кабины машиниста. По входному воздуховоду наружный воздух подается к вентилятору, где смешивается с рециркуляционным воздухом, поступающим из кабины машиниста через отверстия 8 по каналу 9. Воздух прогоняется вентилятором через испаритель (где от него отбирается тепло) в воздухораспределитель 2, откуда через распределительный канал 16 подводится резиновыми рукавами 5 к соплам 7, а затем выходит в пространство кабины машиниста.
Отопительная установка в системе кондиционирования воздуха работает следующим образом. Электродвигатель 2АРС71-28 приводит в действие вентиляторы, которые всасывают воздух в систему кондиционирования. Свежий воздух поступает по входному воздуховоду из закрытого сеткой 12 отверстия через регулировочный клапан /7 (см. рис. 223). Перед вентилятором воздух смешивается с рециркуляционным воздухом, поступающим из кабины машиниста через отверстия 8 по каналу 9. Смешанный воздух подается вентилятором через испаритель в воздухораспределитель 2.
В воздухораспределителе расположены трубчатые нагревательные элементы 3 типа Т10. Нагретый воздух через распределительный канал 16 подводится рукавами 5 к соплам 7, из которых выходит в пространство кабины машиниста.
Управление работой системы кондиционирования воздуха может осуществляться вручную или автоматически. В зависимости от температуры окружающего воздуха могут быть использованы семь ступеней отопления. Необходимую ступень отопления устанавливают специальным переключателем. Автоматическое включение и выключение отопительной установки осуществляет термостат 6 типа Т16, установленный в кабине машиниста. Включение установки отопления происходит при температуре воздуха в кабине машиниста ниже +16° С, а выключение— при +18° С. Для защиты нагревательных'элементов 3 от повреждения в случае прекращения циркуляции воздуха предназначен термостат 4 типа ТН167, установленный в воздухораспределителе 2.
Основные технические данные системы кондиционирования воздуха следующие:
Мощность охлаждения........ 5000 ккал
Диаметр цилиндров компрессора .... 50 мм
Ход поршня компрессора....... 36 »
Мощность электродвигателя компрессора . 2,5 кВт
Номинальное напряжение . ...... 220 В
Частота вращения.......... 2800 об/мин
Поверхность конденсатора....... 17,8 м2
Количество циркулирующего воздуха . . . 3500 м3/ч
Поверхность испарителя....... 12,2 м2
Количество циркулирующего воздуха . . . 750 м3/ч
Количество всасываемого воздуха .... 250 »
Мощность электродвигателя вентилятора . 370 Вт
Номинальное напряжение....... 220 В, 50 Гц
Частота вращения.......... 2885 об/мин
Температура испарения........ 5° С
Температура конденсации....... 55° С
Мощность нагревательного элемента . . . 1500 Вт
Номинальное напряжение ....... 220 В, 50 Гц
Общая мощность нагревательных элементов:
в воздушной цепи......... 12 кВт
в полу.............. 2X150 Вт
Габаритные размеры устройства..... 1340X680X440 мм
|
|