Для пневматического торможения поезда на электровозах ЧС4 и ЧС4Т установлены тормозные приборы, а вдоль электровоза проложены трубопроводы напорной и тормозной магистралей, которые оканчиваются концевыми кранами и соединительными рукавами.
Пневматическое оборудование позволяет управлять тормозами электровоза и вагонов поезда. Электровозы ЧС4 и ЧС4Т оборудованы также электропневматическим тормозом, для чего установлено специальное электрооборудование и проложены два линейных провода, которые через контакты соединительных рукавов связаны с линейными проводами состава поезда. Электровозы ЧС4Т имеют, кроме того, реостатный тормоз.
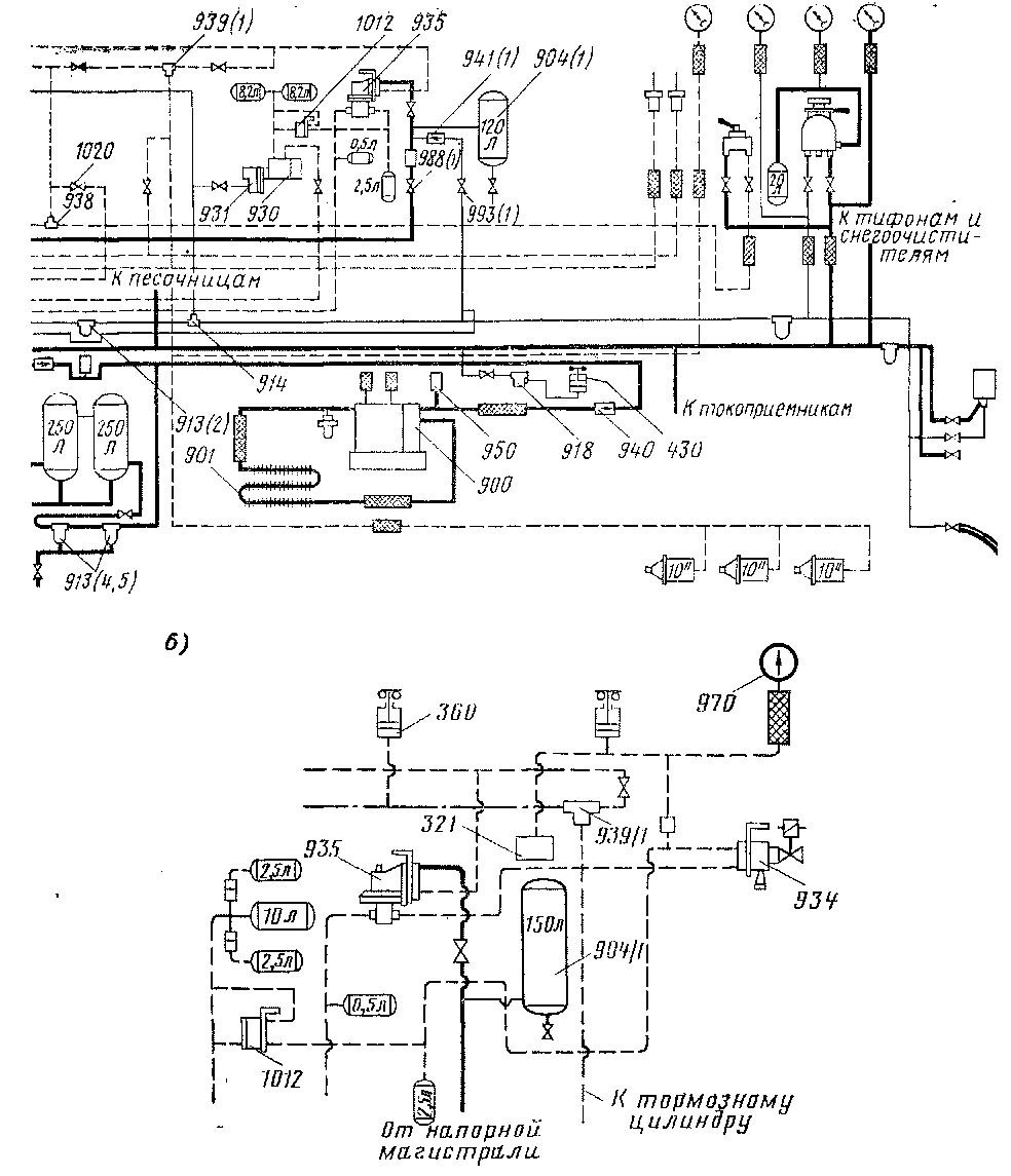
На рис. 228, а показана пневматическая схема тормозного оборудования электровоза ЧС4 (схема электровоза ЧС4Т отличается только номерами отдельных аппаратов и наличием датчика реостатного тормоза [321], второго скоростного клапана «Дако», клапана [934] блокировки реостатного тормоза— рис. 228, б). Воздух из атмосферы через фильтры поступает в два компрессора 900 производительностью 120 м3/ч, где сжимается в первой ступени до 2,5—3 кгс/см2, а затем, пройдя холодильник 901, сжимается во второй ступени до 9 кгс/см2. На трубопроводах компрессоров установлены предохранительные клапаны 950, настроенные на предельное давление 10 кгс/см2. После второй ступени сжатия воздух через обратные клапаны 940 и влаго-сборники 913 (4, 5) [на первых выпусках, на последующих — 933 (1, 2)] поступает в главные резервуары 902, которые снабжены кранами для выпуска влаги; эти краны имеют индукционные обогреватели. Главные резервуары оборудованы предохранительным клапаном 951, отрегулированным на предельное давление 9,5 кгс/см2.
Из главных резервуаров воздух через кран и фильтр 1008 поступает в напорную магистраль. К трубопроводу от компрессора к главным резервуарам подсоединен через фильтр 918 регулятор давления 430, который включает мотор-компрессоры при снижении давления до 7,5 кгс/см2 и выключает его после достижения давления 9 кгс/см2.
Из напорной магистрали воздух подводится к крану машиниста 925, крану вспомогательного тормоза 926, клапану автостопа, через разобщительный кран 988 (2), дроссель диаметром 3 мм— к реле давления 932, через разобщительные краны 988 (1) и дроссел'ь диаметром 3 мм к скоростному клапану «Дако» 935, вспомогательным резервуарам

Рис. 228. Пневматическая схема тормозного оборудования электровоза ЧС4
904 (1, 2), а также пневматической системе аппаратов и песочниц. На напорной магистрали установлены два влагосборника 912 (2) и сделаны отводы для питания тифонов и стеклоочистителей.
Сжатый воздух через кран машиниста 925 поступает в тормозную магистраль электровоза и через соединительный рукав 960—в „тормозную магистраль поезда, где давление поддерживается в диапазоне 5—5,2 кгс/см2 (на эту величину отрегулирован редуктор крана машиниста).
На тормозной магистрали установлены три влагосборника 913 (2). От пылеловки 914 идет трубопровод, соединяющий тормозную магистраль с воздухораспределителем 931 и автоматическим выключателем -управления 377, который разрывает цепь питания реле ГВ (см. § 20) при понижении давления в тормозной магистрали до 3,5 кгс/см2 и включается при давлении 4,5 кгс/см2. Для включения воздухораспределителя на трубопроводе установлен разобщительный кран. Тормозная магистраль соединена также с клапаном автостопа, а через разобщительные краны 993 (1, 2) и обратные клапаны 941 (1, 2) — с вспомогательными резервуарами 904 (1, 2). На работающем электровозе краны 988 (1, 2) открыты, а краны 993 (1, 2) закрыты. При следовании электровоза в недействующем состоянии краны 993 (1, 2) открывают, а краны 988 (1, 2) и разобщительные краны у клапана автостопа закрывают.
Воздух из тормозной магистрали через воздухораспределитель 931 наполняет запасной резервуар 905. При снижении давления в магистрали срабатывает воздухораспределитель 931, а при электропневматическом торможении — электровоздухораспределитель 930, воздух из запасного резервуара 905 через добавочный клапан «Дако» 1012 воздействует на. скоростной клапан «Дако» 935, который из резервуара
904 (1) объемом 120 л наполняет сжатым воздухом тормозные цилиндры 911 одной тележки. Одновременно срабатывает реле давления^932, которое из резервуара 904 (2) наполняет воздухом тормозные цилиндры второй тележки. Величина давления в тормозных цилиндрах зависит от работы скоростного регулятора 937. При торможении краном вспомогательного тормоза 926 воздух через переключательные клапаны 938, 939 (1, 2) поступает в тормозные цилиндры тележек, а также в случае открытия разобщительного крана 1020— к центробежному регулятору 937.

При включении реостатного тормоза электровоза ЧС4+ возбуждается катушка электропневматического вентиля блокировки 934, который прекращает доступ воздуха в скоростной клапан «Дако» 935, и воздух после добавочного клапана «Дако» 1012 поступает в датчик реостатного тормоза 321. При отказе реостатного тормоза автоматически снимается питание с катушки вентиля 934, и воздух поступает в скоростной клапан «Дако», т. е. происходит замещение реостатного торможения пневматическим. При торможении краном вспомогательного тормоза реле 360 разрывает цепь реостатного тормоза и воздух поступает в тормозные цилиндры, т. е. происходит пневматическое торможение.
Для контроля за давлением в главном резервуаре, уравнительном резервуаре крана машиниста, магистрали, тормозном цилиндре, а у электровоза ЧС4Т и в датчике реостатного тормоза в каждой кабине машиниста установлены манометры. Для выпуска воздуха из тормозных цилиндров 911 служат выпускные клапаны 927.
|
|