Положение главного вьжлючателя и контактора цепи отопления поезда сигнализирует специальный указатель положения УЭ1 (рис. 226). Указатель положения главного выключателя расположен на пульте управления электровозом; указатель положения контактора цепи отопления поезда на электровозах ЧС4 на стене кабины за креслом машиниста, а на ЧС4Т —■ в поперечном коридоре.
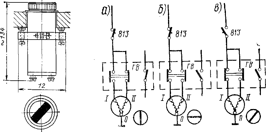
Указатель положения УЭ1 представляет собой металлический цилиндр, внутри которого находятся две катушки, навитые вокруг общей оси. В магнитных полях катушек расположен стальной стержень с диском, являющимся индикатором (на диске нанесена черная полоса). Принцип действия указателя положения следующий. При включенном положении контролируемого аппарата (главного выключателя или контактора отопления поезда) одна из катушек указателя (рис. 227, а) обтекается током, и его диск поворачивается так, что черная полоса устанавливается вертикально.

Рис . 226. Указатель Рис. 227. Схема включения указателя положения
положения ГШ в цепь управления главным выключателем
При отключенном положении контролируемого аппарата (рис. 227, б) возбуждается другая катушка и диск поворачивается так, что черная полоса располагается горизонтально. Если в цепь управления главным выключателем и контактором отопления поезда не подано напряжение от аккумуляторной батареи (выключен АЗВ 813), то диск указателя положения находится в промежуточном положении (рис. 227, е). На корпусе указателя положения изображена схема соединения, дата выпуска и напряжение, на которое он рассчитай. Выводные зажимы указателя положения позволяют подсоединять провода сечением до 2,5 мм2. Технические данные указателя положения УЭ1 следующие: номинальное напряжение 48 В, потребляемая мощность 3 Вт, масса 0,48 кг.
|
|