На электровозах ВЛ80К, ВЛ80С, ВЛ60", ВЛ80Т для преобразования переменного тока в постоянный применяют
диодные выпрямители, а на электровозах ВЛ60ку, чтобы обеспечить плавное регулирование напряжения на зажимах тяговых двигателей, — диодно-тиристорные.
Все диодные выпрямители отечественных электровозов имеют по четыре плеча. Чтобы обеспечить необходимое для двигателей напряжение и надежность, диоды или тиристоры в плечах соединяют последовательно, а для получения необходимого тока ветви — параллельно.
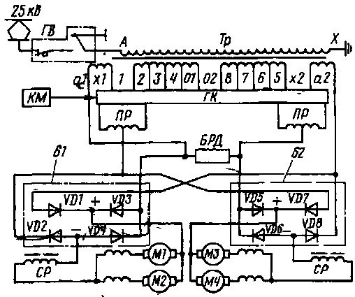
В качестве примера рассмотрим диодный выпрямитель с мостовой схемой выпрямления электровоза ВЛ80С. Пуск и регулирование скорости движения осуществляют ступенчатым изменением напряжения на входе выпрямителя. Вторичная обмотка тягового трансформатора одной секции кузова разделена на две части, а каждая из них имеет несекционнрован-иую и секционированную полуобмотки, которые в процессе регулирования напряжения сначала соединяют встречно, а затем — согласно. При встречном соединении полуобмоток результирующее напряжение, подводимое к выпрямителю 61 или 62 (рис. 132) и тяговым двигателям, равно разности напряжений не-секционированной и секционированной полуобмоток; при холостом ходе на 1-й позиции это составляет 638—580 = 58 В.
Цепь диодов УБ1 — Уй8 соединена с выводами /—8 полуобмоток а/—01 и 02—а2. При регулировании напряжения контакторы главного контроллера Г/С, замыкаясь в определенной последовательности, изменяют число витков вторичных обмоток, а следовательно, и напряжение на выпрямителях и тяговых двигателях. Контроллером ГК машинист управляет с помощью главной рукоятки контроллера машиниста КМ. Переход с одной ступени на другую осуществляется без разрыва силовой цепи, благодаря чему сила тяги не падает до нуля; чтобы не происходило короткого замыкания секции обмотки трансформатора, вводят переходной реактор ПР.
Электровоз будет развивать наибольшую по условиям сцепления силу тяги, если все тяговые двигатели работают в одинаковых условиях (при равных напряжениях и с одинаковыми токами). Для этого в один полупериод тяговые двига-
тели М1 и М2 первой тележки получают питание от полуобмотки а1—01 через диоды Уй2 и Уй4, и двигатели МЗ и М4 второй тележки — от полуобмотки 02— а2 через диоды Уйб и УЕ>8. Ток в цепи блока реле дифференциальной защиты БРД, являющегося уравнительным соединением между двумя независимыми контурами, отсутствует. Во второй полупериод, когда э.д.с. во вторичных обмотках трансформатора изменяет направление, двигатели М1 и М2' первой тележки получают питание от полуобмоток 02—а2 через диоды УБ1 и УйЗ, а двигатели МЗ и М4 второй тележки — от полуобмотки а2—01 через диоды Уй5 и У№. В этот полупериод в блоке БРД уравнительный ток равен нулю при одинаковом напряжении на обеих полуобмотках и одинаковых характеристиках групп тяговых двигателей. Поочередно подключая двигатели то к одной, то к

Рис 132. Упрощенная схема силовых цепей электровоза ВЛ80К с диодными выпрямителями
другой полуобмотке, обеспечивают одинаковое среднее напряжение во всех тяговых двигателях при неодинаковых напряжениях на полуобмотках 01—а! и 02—а2.

Рис 133. Схемы плавного межступенчатого (а) и плавного бесконтактного (б) регулирования напряжения (полууправляемыми мостами), диаграммы напряжений (в, г и д) н коэффициента мощности выпрямителя
Когда полуобмотки включены согласно, результирующее напряжение равно сумме этих напряжений, т. е. 638 -f 580 = = 1218 В. Для защиты силовых цепей от токов короткого замыкания служит главный выключатель Г В.
Диодно-тиристорные выпрямители применяют для плавного регулирования напряжения, которое разделяют на плавное межступенчатое с вентильным переходом и бесконтактное. Плавное межступенчатое регулирование напряжения возможно как при схеме с нулевым выводом, так и при мостовой схеме выпрямления однофазного тока. Рассмотрим мостовую схему, в которой используется вентильный переход Такая схема осуществлена на опытном электровозе ВЛ60ку В ней сохраняется переключение выводов обмотки трансформатора контакторами /— 8 (рис. 133,а), а с помощью тиристоров VS1 и VS2 плавно регулируется напряжение между ступенями и обеспечивается размыкание контакторов /—8 в цепи без тока.
На нулевой позиции все контакторы разомкнуты и Напряжение на тяговых двигателях равно нулю. На 1-й позиции замыкается контактор /. Однако напряжение на тяговых двигателях равно нулю, так как тиристоры заперты — угол регулирования а = 180°. Затем при плавном уменьшении угла регулирования напряжение увеличивается, и в момент, когда а =0, оно становится наибольшим, т. е. равным напряжению секции. Среднее значение выпрямленного напряжения (рис. 133,е) на этой ступени в режиме холостого хода зависит от напряжения на токоприемнике.
Переход с 1-й на 2-ю ступень регулирования состоит из четырех поочередно выполняемых операций: включается контактор 2; запираются тиристоры VS1 VS2, обесточивая цепь контактора /; отключается контактор /; замыкается контактор 3. На 2-й ступени опять путем уменьшения угла регулирования от 180° до нуля тиристорами VS1 и VS2 напряжение плавно увеличивается от значения, соответствующего одной секции, до суммарного напряжения двух секций. Среднее значение выпрямленного напряжения (рис. 133,г) на 2-й ступени U"doa = = /2А£)(3 + cosa/я). Когда угол a
уменьшится до нуля, 11"ион = 4 /ЗЕг/л.
Переход со 2-й на 3-ю ступень регулирования состоит также из четырех операций, определить и проследить его уже нетрудно по аналогии с переходом с 1-й на 2-ю позицию. Выпрямленное напряжение (рис. 133,3) на 3-й ступени и'"Лоа = /2А£2(5 + соэа/я).
В каждый полупериод ток проходит через диоды в интервале л + а, а через тиристоры — в интервале л — а. В начале регулирования почти вся нагрузка приложена к диодам Уй1 и Уй2. Это благоприятное обстоятельство, так как если, например, за расчетный при выборе числа параллельных вентилей был принят пусковой ток локомотива, то на 1-й ступени регулирования этот ток будет наибольший и значительная часть его будет воспринята неуправляемыми плечами. Тогда расчетный ток для тири-сторных ветвей будет ниже, т. е. можно уменьшить число тиристоров в выпрямителе, а следовательно, упростить систему управления и снизить стоимость выпрямителя.
Коэффициент мощности выпрямительной установки на каждой ступени
X = щи^/(Ыи'м) = vo(2Л' - 1 + + соза)/(2Л0,
где V,, — коэффициент, равный 0,9; N — номер ступени.
Как видно из рис. 133,е, при глубоком одноступенчатом фазовом регулировании резко ухудшается коэффициент мощности выпрямителя; при межступенчатом плавном регулировании напряжения (зонно-фазовом) коэффициент мощности изменяется по кривой АВГДЕЖЗ. Однако в этом случае усложняется конструкция группового переключателя: он дополняется контакторами с дугога-шением для присоединения новой секции вторичной обмотки трансформатора к тиристорам, а прежней — к диодам.
Вместе с тем такое усложнение группового переключателя не обеспечивает повышения коэффициента мощности при работе э.п.с. на последней ступени регулирования напряжения. Кроме того, при зонно-фазовом регулировании напряжения повышается содержание высших
гармоник тока в тяговой сети и мешающее влияние на линии связи.
Системы бесконтактного регулирования с полууправляемыми мостами (рис. 133,6) применяют на опытных образцах э.п.с во Франции, Англии, ФРГ, Швеции. При этом число мостов преимущественно принимают менее четырех — три и два. Применяют также мосты с разным значением выпрямленного напряжения; при этом, имея два моста, можно осуществить трехступенчатое регулирование, а три моста с соотношением напряжения 1:1:2 — четырехступенчатое. Схема с соотношением напряжений мостов 1:2:3 позволяет получить шесть ступеней регулирования, а при соотношении их 1:2:4 — семь ступеней.
|
|