Применение бесконтактных систем облегчает и упрощает работу машиниста вследствие автоматизации управления, повышает надежность электрооборудования э. п. с. в результате замены статическими приборами контактных аппаратов, имеющих приводы и инерционную подвижную систему с перемещающимися контактами, которые подвержены механическому, а часто и электрическому износу, чувствительны к влиянию влаги, загрязнений и температуры. Кроме того, такие системы управления позволяют осуществлять плавный пуск, регулировать силы тягн и торможения во время движения и электрического торможения, создать быстродействующие системы автоматического оптимального регулирования режимов работы тяговых двигателей, что увеличивает производительность локомотива, так как обеспечивается наименьшее время хода по данному участку без превышения макси-
мальных скоростей, точное соблюдение графика движения независимо от погоды, состояния рельсов и квалификации машиниста и повышение безопасности движения.
В силовых цепях используют два вида бесконтактных элементов: полупроводниковые приборы (неуправляемые и управляемые — диоды, динисторы, тиристоры, транзисторы) и магнитные усилители (см. § 46). В цепях управления контакты реле и блок-контакты контакторов обычно заменяют логическими схемами, построенными на ферритных и транзисторных элементах или на базе микросхем средней степени интеграции (электровозы ВЛ86* и др.). Контактные переключатели в групповых системах управления заменяют индукционными датчиками.
Все бесконтактные элементы объединяют в отдельные блоки, каждый из которых выполняет определенную функцию. Например, блок задающего генератора (БЗГ) генерирует управляющие импульсы с необходимой частотой, блок распределительного устройства (БРУ) сдвигает управляющие импульсы на заданный угол, блок сравнения (БС) сравнивает поступающие импульсы и т. д.
Во вспомогательных цепях бесконтактные элементы применяют для создания статических преобразователей тока и напряжения (см. § 50), используемых для питания цепей управления (на электровозах ВЛ80К, ВД80Т, ЧС4Т, электропоездах ЭР9П и др.) или обмоток возбуждения тяговых двигателей в режиме рекуперации (на электровозах ВЛ10 н др.), регуляторов напряжения, специальных реле и других устройств.
Тиристорные преобразователи по сравнению с вращающимися и магнитными усилителями имеют существенно меньшие габаритные размеры и массу, больший к. п. д. н высокое быстродействие. Они на э. п. с. могут выполнять различные функции регулирования в силовых цепях постоянного и переменного тока. В СССР бесконтактные системы на тиристорах применяют на э. п с. постоянного тока для безреостатного пуска, плавного регулирования скорости, рекуперативного торможения практически до остановки, плавного изменения сопро-
тивления пусковых и тормозных резисторов и возбуждения тяговых двигателей, а на э. п. с. переменного тока — для плавного регулирования напряжения между ступенями и переключения ступеней тягового трансформатора без коммутации тока контактными аппаратами, для плавного регулирования напряжения на зажимах тяговых двигателей, инвертирования тока и регулирования напряжения при рекуперации.
На э. п. с. постоянного тока применяют тиристорные системы регулирования напряжения с искусственной коммутацией — так называемые импульсные системы регулирования напряжения (см. §53). На э. п. с. переменного тока используют различные способы регулирования переменного напряжения; например, при фазовом регулировании тиристоры отпираются в каждый полупернод с задержкой на угол а. Изменяя угол а, выпрямленное напряжение ий можно регулировать от нуля до наибольшего значения, соответствующего а = 0. Тиристоры являются основой бесконтактной системы, для управления ими используется электронная аппаратура. Однако в целях упрощения иногда сохраняют контакты в контроллерах машиниста и
отдельные реле, преимущественно с маг-нитоуправляемыми герметическими контактами — герконами.
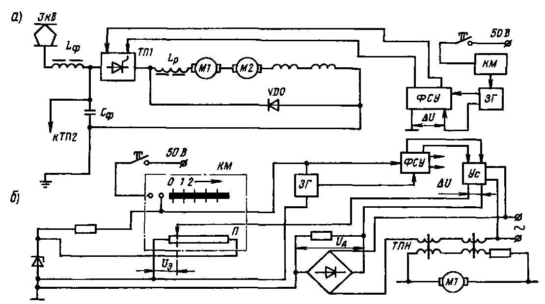
При управлении, которое условно можно назвать неавтоматическим, машинист вначале рукояткой контроллера КМ (рис. 230, а) включает задающий генератор ЗГ, который генерирует импульсы с необходимой частотой. Затем машинист рукояткой изменяет напряжение смещения на фазосдвигающем устройстве ФСУ, в результате чего изменяется сдвиг между управляющими импульсами, а следовательно, например при широтно-им-пульсном управлении, и скважность, с которой работает преобразователь ТП1, т. е. изменяется и его естественная характеристика. При частотно-импульсном управлении машинист рукояткой контроллера регулирует частоту преобразователя. К тяговым двигателям в этом случае подводится постоянная мощность, соответствующая определенной частоте работы преобразователя. Тяговые характеристики имеют вид гипербол.
Если применяют автоматическое управление, то каждому положению рукоятки контроллера КМ (рис. 230, б) соответствует определенное постоянное значение какого-либо тягового параметра,

Рис 230. Принципиальные схемы бесконтактных систем управления: а — на э п.с постоянного тока с тиристориым импульсным преобразователем ТП1 при автоматическом управлении; б — то же при автоматическом с поддержанием постоянства напряжения на зажимах тягового двигателя
например напряжения на зажимах двигателя М1, его тока или скорости движения. Поддерживая постоянным ток этого двигателя, можно получить характеристики, соответствующие неизменной силе тяги, или поддерживать постоянной скорость движения. При ши-ротно-импульсном управлении и, например, поддержании постоянным напряжения на зажимах двигателя М] рукояткой контроллера КМ изменяют эталонное напряжение С1Э, которое сравнивается с напряжением пропорциональным напряжению двигателя М1. Напряжение двигателя снимается либо потенциометром, либо трансформатором постоянного напряжения 777//. Разность напряжений АС! = С/3—1/'ж подается на усилитель Ус, а усиленный сигнал, пропорциональный ки,— на фазосдвигаю-щее устройство ФСУ. Чем больше коэффициент усиления, тем меньше может быть разность напряжений АЦ, т. е. тем в более широком диапазоне изменения тока двигателя будет поддерживаться неизменное напряжение на его зажимах, соответствующее эталонному напряжению из. Машинист получает возможность плавно регулировать напряжение на двигателе, при этом каждому положению рукоятки контроллера соответствует строго определенное напряжение на его зажимах.
На э. п. с. с асинхронными тяговыми двигателями необходимо изменять не только напряжение, но и частоту выходного тока преобразователя. В этом случае управление двигателями получается сложным и может производиться только автоматически Для упрощения его в цепях применяют функциональную связь, т. е. предусматривают изменение напряжения на выходе преобразователя по заданному закону в зависимости от частоты тока. Тогда в системе управления можно задавать эталонным напряжением определенную частоту на выходе преобразователя, т е. получать определенную скорость движения, или задавать эталонным напряжением ток на выходе преобразователя и поддерживать неизменную силу тяги. Систему сравнения в этом случае строят аналогично системе сравнения на э. п. с с двигателями постоянного тока.
Бесконтактные элементы применяют и в системах телеуправления электровозом, расположенным в середине состава. В таких составах главной трудностью при управлении является несогласованность действий машинистов на головном и вспомогательных локомотивах. Применение телеуправления позволяет отказаться от локомотивов-толкачей, полностью использовать тяговые усилия локомотивов. Телеуправление улучшает и условия торможения благодаря синхронной работе локомотивов. Это дает возможность повышать массу поездов на участках со сложным профилем.
|
|