Ступенчатое регулирование на стороне низшего напряжения применяют на отечественном э. п. с. и на э. п. с. (преимущественно на электропоездах) зарубежных железных дорог. Схему ступенчатого регулирования напряжения изменением коэффициента трансформации строят так, чтобы иметь минимальное число выводов тягового трансформатора и удовлетворительные регулировочные характеристики. При таком регулировании применяют одновременно и регулирование частоты вращения тяговых двигателей изменением магнитного потока, которое осуществляют так же, как и на э. п. с. постоянного тока (см. § 83).
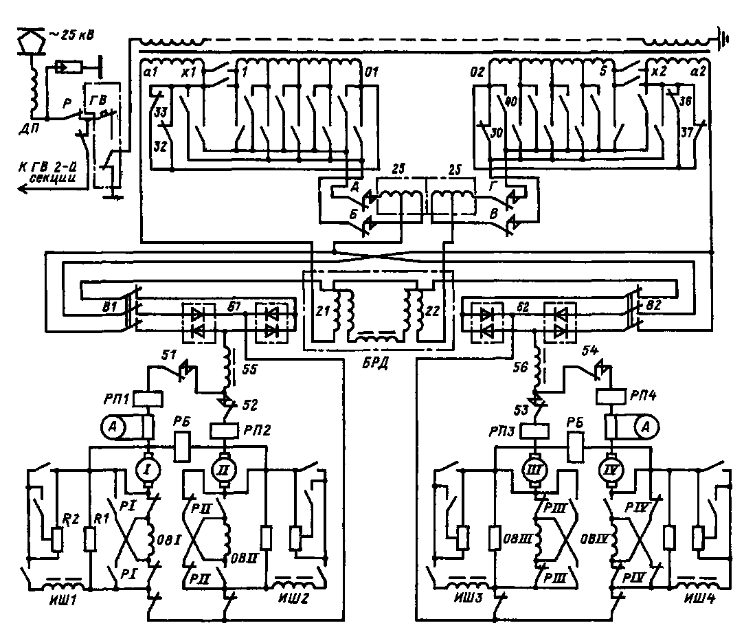
В качестве примера рассмотрим систему регулирования напряжения на стороне низшего напряжения, применяемую на электровозах ВЛ80", ВЛ80С, ВЛ80Т и др., с переходными реакторами 25 (рис. 240). На электровозах ВЛ60", ВЛ80С, ВЛ80К и ВЛ80Т применены мостовые схемы выпрямления. Вторичная обмотка тягового трансформатора выполнена в виде двух раздельных обмоток, каждая из которых разбита на две полуобмотки — регулируемую /—01 (или 02—5) и нерегулируемую al—xl (или х2—а.2). Полуобмотки во время регулирования соединяются вначале встречно, затем согласно.
Каждый электровоз ВЛ60К или каждая секция электровозов ВЛ80С, ВЛ80К и ВЛ80Т имеют по два выпрямителя. Два плеча каждого из выпрямительных мостов выполнены разомкнутыми. Для симметрирования напряжения применена схема, разработанная ВЭлНИИ. Каждая группа параллельно соединенных тяговых двигателей /—// или ///—IV (на электровозе ВЛ60К три, а на секции электровозов ВЛ80К, ВЛ80С или ВЛ80Т

Рис. 240. Упрощенная схема силовой цепи при регулировании напряжения на секции электровоза ВЛ80Т
два тяговых двигателя) получает питание через отдельные выпрямители 61, 62, сглаживающие реакторы 55, 56 в течение одного полупериода от своей обмотки; в течение другого полупериода, двигатели /—//, например, первой тележки получают питание от второй обмотки 02—а2, а двигатели ///—IV второй тележки — от обмотки а!—01. Поочередно подключая группы двигателей то к одной, то к другой обмотке, обеспечивают одинаковое среднее выпрямленное напряжение на всех тяговых двигателях при неодинаковых напряжениях на выпрямителях.
Секции обмоток трансформатора переключаются поочередно. Например, при переходе на следующую ступень регулирования переключаются секции в первой обмотке и соответственно изменяется напряжение только на одном преобразователе, на другом оно не меняется. При
переходе на следующую ступень регулирования, наоборот, изменяется число витков второй обмотки, а в первой остается прежним. Таким образом, на одних ступенях регулирования (нечетных) напряжения на выпрямителях одинаковы, на других (четных) напряжение первой обмотки больше, чем второй. Неодинаковые напряжения групп двигателей вызвали бы различные токи в двигателях, и электровоз не развивал бы наибольшую силу тяги. Но группы двигателей поочередно подключаются то к одной, то к другой обмотке и работают в одинаковых условиях (при равных средних напряжениях и с одинаковыми токами), благодаря чему электровоз развивает наибольшую по условиям сцепления силу тяги.
На нечетных позициях двигатели каждой тележки получают питание от своей обмотки трансформатора. Ток в цепи
блока дифференциальной защиты БРД отсутствует. На четных позициях в первый полупериод двигатели каждой тележки также получают питание от своих обмоток, а во второй полупериод образуется цепь питания тяговых двигателей первой тележки от обмоток 02—а.2, а второй — от обмоток а/—01. При таком соединении в случае любых изменений в цепях двигателей (например, отключен двигатель /, различны характеристики и т. д.) никаких изменений в работе другого контура не произойдет: изменится лишь уравнительный ток в цепи блока БРД.
В качестве примера ступенчатого регулирования на стороне низшего напряжения с вентильным переходом рассмотрим упрощенную силовую цепь моторного вагона электропоезда ЭР9М. При поданном напряжении на сетевую обмотку трансформатора Т и замкнутых контакторах /, //, 12, ЛК1, ЛК2 (рис. 241) на 1-й позиции (при нахождении главной рукоятки контроллера машиниста в маневровом положении М) происходит симметричное двухполупериодное выпрямление. Ток проходит через добавочный резистор Р1—Р2, вентили перехода ВП2, ВП4 и плечи ВГ1—ВГ4 выпрямителей. Выпрямленное напряжение на 1-й позиции = Цу12у/2~/л.
При переводе главной рукоятки в положение / вал главного контроллера под контролем реле ускорения РУ поворачивается до 6-й позиции, далее в положение // — до 10-й, в положение /// —
до 16-й и в положение IV — до 20-й позиции. На 2-й позиции включается контактор 9, который шунтирует резистор PI—Р2, что соответственно увеличивает напряжение, подведенное к выпрямителю.
После выключения контактора 12 и включения 2 иа 3-й позиции в один полупериод (когда напряжение направлено от вывода 8 к выводу 6) к выпрямителю подводится напряжение двух секций 6—7 и 7—8, в другой полупериод — одной секции 7—8, так как цепь тока с выводом 6 разомкнута контактором 12. На этой позиции происходит несимметричное регулирование напряжения. При переходе на 4-ю позицию включается контактор 12, режим выпрямления становится симметричным и пульсация выпрямленного тока уменьшается. Контакторы / и 11 на 4-й позиции обесточены в связи с тем, что цепь тока замыкается только через вентили плеч ВП1 и ВПЗ. Наличие вентильного перехода исключает образование тока короткого замыкания в секции при включенных контакторах 1,2,11 и 12. Благодаря этому при переходе на 5-ю позицию контакторы lull выключаются, не разрывая тока. Поэтому контакторы 1—10 выполнены без дугогашения. Режим выпрямления на 5-й позиции аналогичен режиму на 3-й позиции, но напряжение на двигателях /—IV выше, так как в течение одного полупериода к выпрямителю прикладывается напряжение трех секций, а в течение другого — двух.
Переключения на остальных позициях

до 16-й происходят аналогично на нечетных позициях разомкнут один из контакторов // или 12 и осуществляется несимметричное выпрямление с повышенной пульсацией тока, на четных позициях контакторы 11 и 12 замкнуты и происходит симметричное выпрямление.
На 17, 18, 19 и 20-й позициях скорость движения регулируют изменением коэффициента возбуждения (контакторы и резисторы ослабления возбуждения на схеме рис. 241 не показаны). Ходовыми являются 6, 10, 16, 17, 18, 19 и 20-я позиции.
|
|