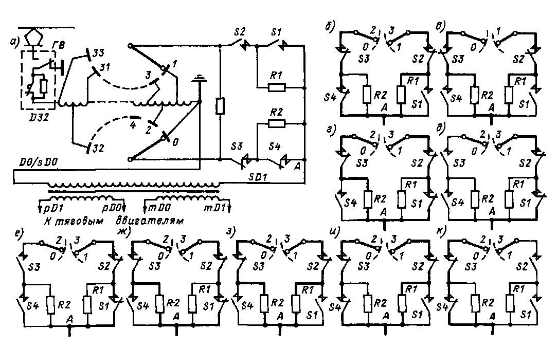
В процессе регулирования на стороне высшего напряжения переход с одной ступени на другую осуществляют по схеме с переходным резистором Характерные особенности регулирования на стороне высшего напряжения рассмотрим на примере схемы электровозов ЧС4 и ЧС4Т. Регулируемая обмотка тягового трансформатора разделена на 32 секции и имеет 33 вывода 0—32 (рис. 242) Первичная нерегулируемая обмотка DO/sDO— sDl (подробно схема обмоток трансформатора показана на рис 118, б) по команде, данной через контроллер машиниста, подключается к одному из выводов регулируемой обмотки D32 — DO/sDO переключателем ступеней, который состоит из избирателя ступеней, заполненного маслом, и четырех контакторов Sl — S4 с дугогашением Переключатель ступеней позволяет получить 32 позиции. Каждая позиция является ходовой. Избиратель ступеней осуществляет бестоковое переключение с помощью двух лап с коническими роликовыми контактами, которые перемещаются поочередно по медным пластинам. Каждая из пластин соединена с соответствующим выводом регулируемой обмотки Эти пластины расположены по двум концентрическим окружностям. Переключение под током производят только контакторы Sl — S4, установленные над масляной ванной переключателя ступеней (см. рис 118, а).
На нулевой позиции (рис 242, а) лапы избирателя ступеней находятся в исход-
ном положении, замкнуты контакты выводов 0 и /, контакторы 5.3 и Б4. Так как на выводе 0 регулируемой обмотки напряжение равно нулю, то и на первичной нерегулируемой обмотке ОО/зЪо — 5^7 напряжения не будет, следовательно, не будет напряжения и на обмотках рО/ — рОО, тЬо — пгО/, к которым подключены тяговые выпрямители. Каждый выпрямитель является отдельным агрегатом и питает по три тяговых двигателя.
Переход на 1-ю позицию состоит из пяти последовательных операций. Вначале включается контактор Б2 (рис. 242, б), которым замыкается цепь питания от отпайки / через резистор /?/. Затем отключается контактор Б4, в результате чего вводится в цепь резистор /?2 (рис. 242, в). В этом положении точка А подключена одновременно к двум отпайкам 0 и 1. Сопротивления резисторов /?/ и Я2 ограничивают ток в замкнутой секции, т. е. выполняют такую же роль, что и переходные реакторы при регулировании на стороне низшего напряжения. Контактор 5/ включается и шунтирует резистор /?/ (рис. 242, г), создавая цепь питания непосредственно от отпайки 1. После этого отключается контактор 53 (рис. 242, д), прерывается цепь питания от отпайки 0 и разрывается цепь избирателя четных отпаек. По существу на этом заканчивается переход на 1-ю позицию. Однако в цикле перехода предусмотрена пятая операция: перемещение обесточенного подвижного контакта избирателя на следующую отпайку в данном примере с отпайки 0 на отпайку 2 (рис. 242, е).
Переход на 2-ю позицию выполняется также, но соответственно изменяется последовательность включения и отключения контакторов: вначале включается контактор 53, который вводит в цепь резистор /?2 (рис. 242, эк), затем выключается контактор 5/ и вводится в цепь резистор /?/ (рис 242, з), потом включается контактор Б4, шунтирующий резистор /?2 (рис. 242, ы), после этого выключается контактор Б2, чем из цепи выводится резистор /?/ и перемещается при обесточенной цепи подвижной контакт избирателя на отпайку 3, что соответствует 2-й позиции (рис. 242, к). Все

Рис 242. Схемы цепей тока при ступенчатом регулировании напряжения электровоза ЧС4 при переходе с нулевой позиции на 1-ю (а, б, в, г, д, е) и с 1-й на 2-ю позицию (ж, з, и, к)
дальнейшие переходы на нечетные позиции осуществляются точно так же, как переход с нулевой позиции на 1-ю, а на четные — как переход с 1-й на 2-ю позицию.
Автоматический набор всех 32 позиций происходит за 19 с, а переход на одну позицию длится меньше 1 с. Поскольку на каждой ступени регулирования вывод трансформатора подсоединен непосредственно к отпайке автотрансформатора (сопротивление выведено из цепи питания), продолжительность использования любой ступени ничем не ограничена, и поэтому каждая из 32 ступеней является ходовой.
К достоинствам способов регулирования на первичной стороне трансформатора следует отнести малые габаритные размеры переключающей аппаратуры (так как токи в 10—20 раз меньше, чем при регулировании на вторичной стороне), а также возможность рационального распределения напряжения по ступеням регулирования. Напряжение секций первых ступеней регулирования по условиям трогания электровоза с тяжелыми поездами должно быть меньше, чем напряжение секций средних и высших ступеней. Это практически осуществимо только при регулировании на сто-
роне высшего напряжения, где каждой ступени соответствует своя отпайка автотрансформатора.
К недостаткам таких способов следует отнести меньший коэффициент мощности электровоза, чем при способах регулирования на стороне низшего напряжения Оборудование, механизм переключателя ступеней, работающего на стороне высшего напряжения, должны быть изготовлены с высокой степенью точности для обеспечения необходимой надежности. Малейшая неточность в исполнении высоковольтного переключателя нарушает согласованность действий контактов и может привести к тяжелым авариям.
При ступенчатом регулировании напряжения на стороне высшего напряжения применяют и регулирование частоты вращения тяговых двигателей изменением коэффициента р, которое осуществляют так же, как и на э. п. с. постоянного тока (см § 83).
|
|