Электроподвижной состав постоянного тока с машинными преобразователями.
Для осуществления рекуперативного торможения используют схемы со стабилизирующими резисторами и с возбудителями встречного смешанного возбуждения.
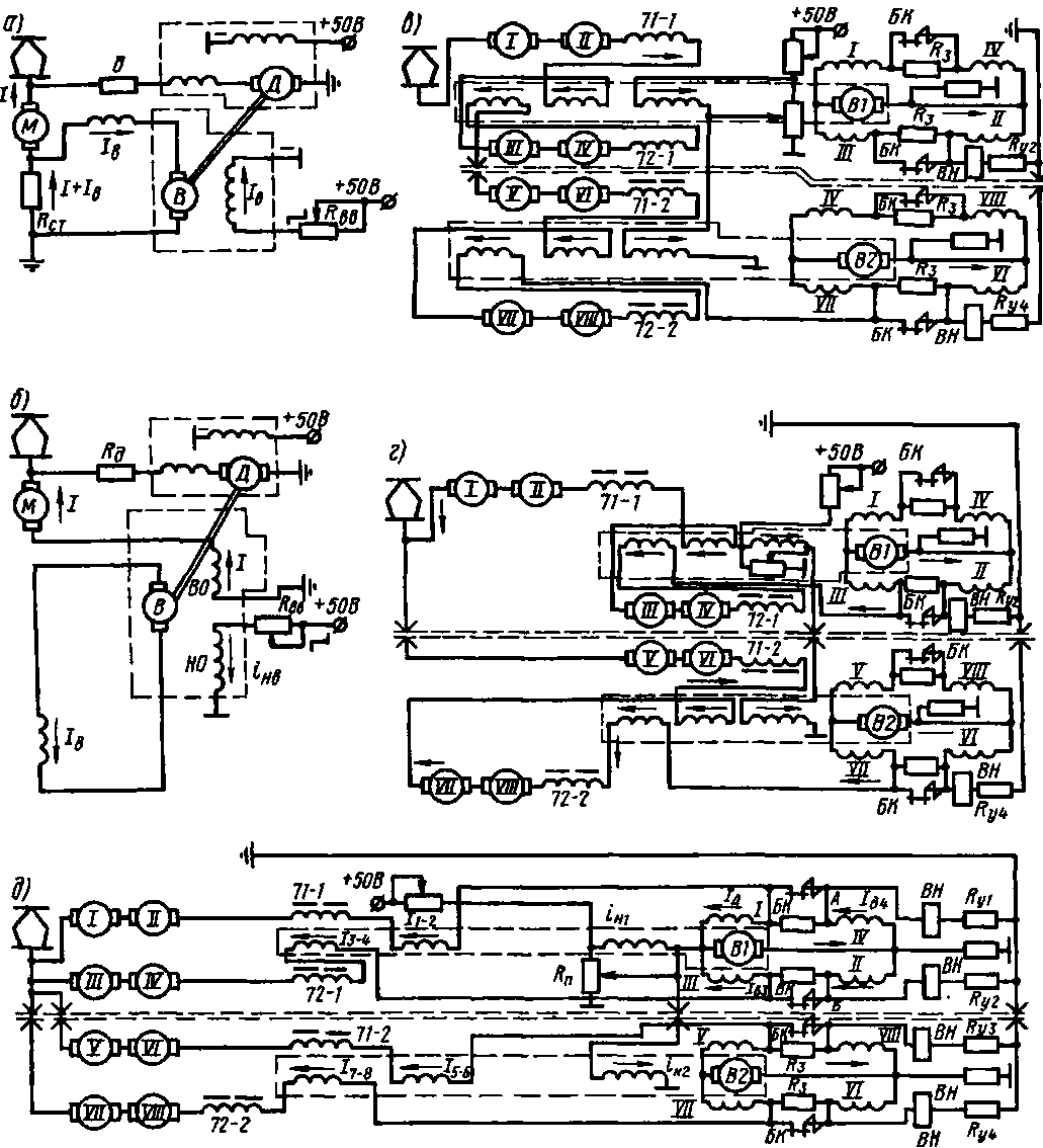
Схема со стабилизирующими резисторами В схеме рис. 251, а стабилизирующий резистор /?ст сопротивлением гст является общим для цепей якоря и обмотки возбуждения тягового двигателя.
Уравнение напряжения для цепи тока возбуждения в установившемся режиме
= Свп,Фа = /„ (лст + г„ + г„) + /гст,
где £„, С„, га„, Ф„ и гяв — соответственно э. д с, постоянная, частота вращения, поток и сопротивление обмотки якоря возбудителя В, I, гае — соответственно ток и сопротивление двигателя М1.
Из этого выражения следует, что
/ _ £в — 1г„ ^ Сяп„Фв — 1г„
гст ~Ь ^дв ~Ь 'яв 'сг ~Ь Гцв ~Ь Лго
В цепи тока якоря двигателя М1
Еа = vCaФл = ис + /(лдя + г„) + /„/•„,
откуда можно получить уравнение для скорости:
Ц с + А>дя + Г„) + /.Гст
С Ф
Из уравнения для /в вытекает, что при увеличении тока якоря / ток возбуждения

Рис. 251 Схемы силовых цепей при рекуперации иа электровозах постоянного тока со стабилизирующими резисторами (а) и с возбудителями встречного смешанного возбуждения (б, в, г, д)
уменьшается и наоборот. Чем больше сопротивление гст, тем резче проявляется эта зависимость и тем круче падает характеристика 1>(/), обеспечивая малую чувствительность системы к колебаниям напряжения в контактной сети При увеличении скорости движения V ток якоря / возрастает из-за увеличения э д. с. £д, а следовательно, уменьшаются ток возбуждения /„ и магнитный поток Фд. Поэтому тормозная сила В « 0,367СДФД/ будет возрастать лишь до определенного максимума, наступающего при некоторой скорости о„. В зоне скоростей выше ик тормозная характеристика оказывается механически неустойчивой
С увеличением сопротивления г„ уменьшаются величины Вт„ и ч„ Область возмож-
ного использования рекуперации ограничена минимальной скоростью:
"шн. = (V, - 2£д)/(СдФдт>х) » 1/с/(СжФЖП1М). т. е. ограничена по току /вга,х
Вид характеристики v(l) и для схемы рис. 251, а (так как Фдтах = /втах) определяется внутренними нагрузочными характеристиками СДФД(/В), реакцией якоря и насыщением возбудителя [характеристикой С„Фв(ів)], изменением частоты вращения двигателя Д возбудителя в зависимости от его нагрузки.
При рекуперации суммарная э. д. с двигателей 2£д должна быть больше напряжения сети £/с; с уменьшением скорости 2£д уменьшается. Следовательно, для расширения зоны рекуперации и снижения рт1П необходимо с понижением скорости движения поддерживать 2£д > > £/с. Это осуществляют в первую очередь, увеличивая число последовательно соединенных якорей двигателей, т. е. применяя переход с параллельного на последовательно-параллельное, а с последовательно-параллельного на последовательное соединения якорей двигателей. Жесткость характеристик увеличивается при переходе с параллельного на последовательное соединение якорей тяговых двигателей.
При использовании стабилизирующих резисторов в рекуперативном режиме необходимо иметь специальный возбудитель, мощность которого значительно превосходит мощность, необходимую непосредственно для питания обмоток возбуждения; кроме того, ограничивается область применения рекуперативного торможения и уменьшается максимальная тормозная сила. При рекуперативном торможении, например по схеме рис. 251, а, на электровозе ВЛ22М мощность, потребляемая обмотками возбуждения при токе возбуждения /„ = 200 Л, составляет 23,2 кВт. В действительности из-за наличия стабилизирующих резисторов применяют возбудитель мощностью 57 кВт, а для его привода — двигатель мощностью 67 кВт. В стабилизирующих резисторах теряется также и некоторая часть энергии, вырабатываемой двигателями в генераторном режиме, что уменьшает отдачу энергии в сеть. Поэтому на современных электровозах постоянного тока с тяговыми двигателями последовательного возбуждения применяют схемы рекуперации с возбудителями встречного смешанного возбуждения.
Схема с возбудителями встречного смешанного возбуждения. В схеме рис. 251, б применен возбудитель В с двумя обмотками возбуждения: независимой НО и встречной ВО. Через обмотку ВО протекает ток якоря тягового двигателя /. Во время рекуперации м. д с. обмоткн ВО направлена навстречу м д. с. обмоткн НО. По
мере увеличения тока рекуперации / э. д. с. £в возбудителя, а следовательно, и ток возбуждения /„ уменьшаются. При уменьшении тока / э. д. с. £в и ток /в увеличиваются. Следовательно, обмотка ВО возбудителя сглаживает толчки тока и тормозной силы при изменениях напряжения в контактной сети.
Форма рекуперативных характеристик при возбудителе встречного смешанного возбуждения будет иной, чем в схеме с возбудителем независимого возбуждения и стабилизирующими резисторами. Тре-бумая крутизна характеристик рекуперативного торможения по схеме рис. 251, б достигается изменением соотношения м. д. с. обмоток возбуждения возбудителя при заданном токе /нв. Чем больше
Отношение /И'воАкв^'но. тем больше ВЛИЯет
ток в якоре на э. д. с. возбудителя £в и тем круче характеристики и(/). Однако одновременно уменьшается максимальное значение тормозного усилия Втах.
В схемах со стабилизирующими резисторами в каждой параллельной цепи токи возбуждения определяются только токами якорной цепи. Поэтому, возможно, н отклонения токов в цепи якорей будут частично компенсированы отклонениями токов возбуждения. При одном возбудителе встречного смешанного возбуждения на локомотивах с двумя и большим числом параллельных цепей тяговых двигателей не может быть обеспечено удовлетворительное распределение токов по этим цепям. Неравномерность токов в параллельных цепях можно ограничить, если для каждой цепи установить свой возбудитель, э: д. с. которого уменьшалась бы только при увеличении тока в цепи своих якорей. Однако иметь на электровозе большое число возбудителей (например, на электровозах ВЛ8, ВЛ10У и ВЛ10 по четыре) нежелательно. Поэтому на э. п. с. постоянного тока с числом параллельных цепей двигателей две и больше применяют один или два возбудителя встречного смешанного возбуждения, а для выравнивания токов в параллельных цепях — схемы с циклической стабилизацией, включая в каждую параллельную цепь якорей уравнительные резисторы Яу (рис. 251, <Э).
Из рнс. 251, г видно, что обмотки возбуждения двигателей /—IV и V— VIII
каждой половины электровоза ВЛ10 соединены по циклической (перекрестной) схеме и питаются раздельно от возбудителей В1 и В2. В каждую параллельную цепь включены встречные (про-тивокомпаундные) обмотки возбудителя, обмотки возбуждения тяговых двигателей, якоря которых находятся в различных параллельных цепях, и уравнительные резисторы. Например, в первой секции электровоза обмотки возбуждения двигателей // и /// образуют одну параллельную ветвь, а обмотки возбуждения двигателей I а IV — другую, т. е. в каждую параллельную ветвь включены обмотки возбуждения двигателей, якоря которых находятся в различных цепях. В каждую параллельную цепь якорей включены уравнительные резисторы и обмотки возбудителей В1 и В2.
Перекрестное соединение обмоток возбуждения дает удовлетворительное распределение токов рекуперации между якорями двигателей каждой секции. Допустим, например, что вследствие расхождения характеристик э. д. с. тяговых двигателей /// и IV несколько меньше, чем двигателей / и //. Если бы не было перекрестного соединения обмоток возбуждения, ток /з_4 был бы меньше тока Л-2- Прн перекрестном соединении обмоток возбуждения, когда ток /3-4 стремится стать меньше тока /1-2, падение напряжения в уравнительном резисторе /?У2 будет уменьшаться, а в резисторе Яу, — увеличиваться. В результате потенциал точки Б относительно земли возрастет быстрее потенциала точки А. Это вызовет уравнительный ток от точки Б через параллельные цепн обмоток возбуждения к точке А.
Уравнительный ток в обмотках возбуждения двигателей /// и VI будет совпадать с основным током /в3 и /в4, а в обмотках возбуждения двигателей I и II он будет направлен навстречу основному току /в) и /а2. Это приводит к уменьшению возбуждения двигателей /, II и увеличению возбуждения двигателей ///, VI, благодаря чему уменьшается э. д. с. и ток /1-2 двигателей /, //, э. д. с и ток /з_4 двигателей ///, VI увеличиваются. Таким образом, при некотором значении уравнительных токов в обмотках возбуждения уравниваются токн рекуперации в
обеих параллельных цепях двигателей I—IV. Перекрестное соединение обмоток возбуждения выравнивает токи в параллельных цепях двигателей й при юзе.
Равномерное распределение токов возбуждения и рекуперации между группами тяговых двигателей первой и второй секций электровоза достигается регулированием э. д. с. возбудителей В1 и В2 потенциометром Яп, определяющим соотношение токов »н1 н /н2 в обмотках независимого возбуждения. При передвижении тормозной рукоятки на высшие позиции увеличиваются э. д. с. тяговых двигателей, ток рекуперации и тормозная сила. Если напряжение в контактной сети неизменно, каждой позиции тормозной рукоятки и скорости соответствуют определенные рекуперативный ток и тормозная сила.
Диапазон скоростей рекуперативного торможения зависит от напряжения в контактной сети. При напряжении в ней 3600 В и скорости 45—100 км/ч применяют параллельное, при скорости 30— 45 км/ч — последовательно-параллельное (рис. 251, г, д) и при скорости 15— 30 км/ч — последовательное (рнс. 251, в) соединение якорей двигателей.
Э. п. с. постоянного тока со статическими преобразователями. В рассмотренных электрических схемах (см. рис. 250 и 251) используются электромашннные преобразователи. Эти схемы имеют ряд недостатков. Так, значительны изменения тока рекуперации при колебаниях напряжения в контактном проводе вследствие сравнительно большой инерции возбудителя; сложна конструкция; ннзка надежность и велики затраты на эксплуатацию возбудителя, представляющего собой двухмашинный преобразовательный агрегат. Кроме того, к. п. д. преобразователя не превышает в оптимальном режиме 0,65 и снижается до 0,5 прн уменьшении тока возбуждения до половины номинального; существенны потери энергии в резисторах, используемых в схеме циклической стабилизации; сложен и имеет большую длительность процесс перехода на рекуперацию, трудно создать схему, обеспечивающую непрерывность тормозного процесса при перегруппировках тяговых машин при изменении скорости движения.

Эти недостатки затрудняют применение рекуперативного торможения даже на освоенных электровозах, хотя рекуперация на них применяется в основном для подтормаживания на спусках. Для электропоездов (кроме ЭР22, ЭР2Р, ЭР2Т, ЭР22М н ЭР22В) и особенно для поездов метрополитена такие схемы рекуперации вообще неприемлемы. Использование в качестве возбудителей статических преобразователей позволяет значительно улучшить технико-экономические показатели рекуперативного торможения в результате резкого улучшения динамических характеристик; обеспечения выравнивания нагрузок тяговых машин путем индивидуального регулирования токов возбуждения групп тяговых двигателей, вследствие чего увеличивается возврат в контактную сеть электроэнергии; повышения к. п д. устройств возбуждения; увеличения надежности возбудителей и систем рекуперативного торможения в целом.
Известно большое число статических преобразователей импульсных без звена постоянного тока и инверторных со звеном переменного тока. Опыт использования этих преобразователей на электровозах ВЛ10, ВЛ12, ВЛ11-295, ВЛ15,
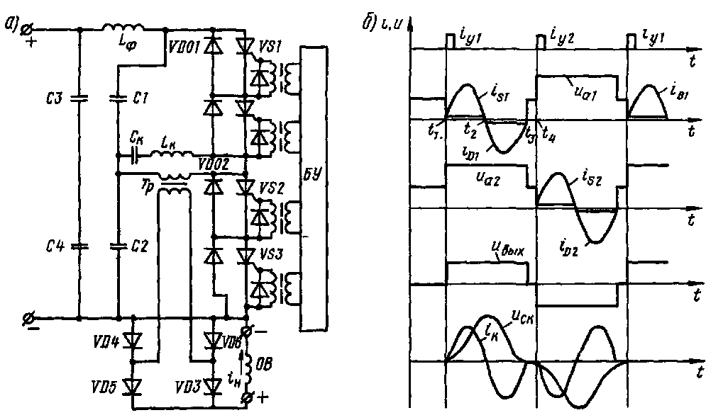
электропоезде ЭР22В-556 и вагонах метрополитена 81-714 и Е показал, что наиболее пригодны для этой цели преобразователи, выполненные по схеме рис. 252, а, где обратные диоды ]/О01 и УО02 подключены к отпайке первичной обмотки ннверторного трансформатора ИТ1 и используется колебательный контур в коммутирующей цепи. Звено переменного тока позволяет сравнительно просто получить требуемое число выводов с любым постоянным напряжением. Таким образом, можно иметь только один преобразователь и применять для регулирования напряжения на нагрузке устройство фазового регулирования напряжения. В режимах, для которых характерно широкое изменение нагрузки, лучшими технико-экономическнмн показателями обладает преобразователь с колебательным контуром £КСК (рис. 253, а). По конструкции он проще трансформатора ИТ1 и коммутирующего реактора £к (см. рис. 252, а), обеспечивает лучшие условия работы тиристоров, обладает более высоким коэффициентом полезного действия при широком диапазоне изменении нагрузки.
Одним из основных параметров, определяющих устойчивую работу инвертора,

Рис. 253. Схема преобразователя с использованием колебательного контура в коммутирующей
цепи (а) и кривые I (<)> и (<) (б)
является время предоставляемое схемой для восстановления запирающих свойств тиристоров. Значение <в в схеме рис. 252, а определяется параметрами коммутирующего контура и, кроме того, зависит от тока нагрузки инвертора. С ростом последнего время /„ уменьшается. Для обеспечения удовлетворительного значения <в в этой схеме необходимо применять коммутирующие конденсаторы и реакторы соответственно с большой емкостью и индуктивностью. Эти значения могут быть уменьшены при использовании тиристоров с малым временем восстановления запирающих свойств. Однако при этом из-за увеличения скорости изменения токов в коммутирующем контуре резко возрастут потери в коммутирующем конденсаторе.
Существенным недостатком рассматриваемой схемы рис. 252, а является наличие в режиме холостого хода больших токов в контурах, образованных тиристорами УБ!, У52, обратными диодами УО01, Уй02, полуобмотками коммутирующего реактора Ьк и частью первичной обмотки до2 трансформатора. Назначение последней состоит в ограничении этих токов; наличие ее повышает к. п. д. преобразователя. Однако одновременно из-за автотрансформаторной связи между основной частью первичной обмотки
до/ трансформатора и дополнительной ее частью до2 в обмотке также возникают большие токи. Кривые изменения токов «5 и г'о соответственно через тиристоры УЯ!, УБ2 и диоды Уй01, Уй02 в режиме холостого хода показаны пунктирными кривыми на рис. 252, б.
Характерной особенностью схемы рис. 252, а является то, что при подаче импульсов тока управления 1у1, <-у2 током управления БУ ток /5 по мере роста нагрузки вначале уменьшается, а затем растет пропорционально увеличению тока нагрузки; ток 10 с ростом нагрузки уменьшается. В значительном интервале изменения тока нагрузки ток % меньше, чем при холостом ходе инвертора. Форма токов г5 и »0 при некотором значении нагрузки инвертора показана на рис. 252, б сплошными линиями. С ростом частоты инвертирования эти токи увеличиваются. Большие токи в элементах инвертора при холостом ходе и их рост с увеличением частоты инвертирования затрудняют использование схемы рис. 252, а для п-ита-ния потребителей в широком диапазоне изменения нагрузки и при большой частоте напряжения выхода. Несинусоидальность кривых токов и напряжений во всех его элементах приводит к росту потерь в коммутирующих реакторе, конденсаторе н трансформаторе. Из-за на-
личия дополнительной обмоткн и>2 трансформатора приложенные к тиристорам прямое и обратное напряжения выше расчетного напряжения питания, что учитывают прн выборе тиристоров.
Инвертор, выполненный по схеме рис. 252, а, устойчиво работает на партии электровозов ВЛ10 и на опытных электровозах ВЛ12. Однако поочередное протекание тока через полуобмотки коммутирующего реактора !<„ и высокая скорость изменения этого тока, вызывающая рост потерь, привели к тому, что масса коммутирующего реактора оказалась практически равна массе инверторного трансформатора, а конструкция последнего существенно осложнилась из-за наличия промежуточного вывода.
Инвертору с колебательным контуром Ск£к по схеме рис. 253, а, свойственны большее время tв, меньший ток холостого хода, близкий по форме к синусоидальным токам и напряжениям во всех элементах инвертора, кроме трансформатора.
Если амплитудное значение тока гСк в коммутирующем контуре (реактор Ьк и конденсатор Ск) вдвое превышает амплитуду тока нагрузки г'н, приведенного к первичной обмотке трансформатора, то время <в, в течение которого ток 1В протекает через обратный диод, составит от 'А Д° '/в периода напряжения выхода инвертора (рис. 253, б) При этом к тиристорам приложено обратное напряжение, значение которого определяется падением напряжения в обратных днодах. Ввиду незначительности последнего время восстановления запирающих свойств тиристоров увеличивается Несмотря на это, в схеме рис. 253, а условия работы тиристоров существенно лучше, что позволяет использовать тиристоры с большим временем восстановления, а также увеличить частоту инвертирования Дополнительным преимуществом схемы рис. 253, а являются малые скорости изменения приложенного напряжения и протекающих по ним токов
Меньшие токи холостого хода и потери в элементах инвертора из-за близкой к синусоидальной форме тока обусловливают более высокий к. п. д. инвертора по схеме рис. 253, а по сравнению с выполненным по схеме рис. 252, а. Инвертор, выполненный по схеме рнс. 253, а, впер-
вые был применен на электропоезде ЭР22В-556. Такая схема принята и на электровозах ВЛ11 со статическим преобразователем, а также использована на вагоне метрополитена 81-717.
Опыт подтвердил существенные преимущества схемы рис. 253, а перед схемой рис. 252, а. Было установлено, что при одной и той же мощности инвертора индуктивность коммутирующего реактора может быть снижена втрое. Это позволяет применить реактор без стали, благодаря чему уменьшается его масса, устраняется шум при работе реактора. Токи холостого хода в схеме рис. 253, а в 4—5 раз меньше при одних и тех же мощности и частоте напряжения выхода.
Применение статических преобразователей для питания обмоток возбуждения тяговых машин в режиме рекуперации значительно улучшает статические и динамические характеристики рекуперативного тормоза. Одновременно существенно уменьшается масса преобразователя и увеличивается его к. п. д. Установленный на электровозе ВЛ11-295 статический преобразователь при номинальной мощности 47,5 кВт имеет к. п. д. более 0,8 при массе 1,7 т, в то время как общий к. п. д. преобразователя НБ-436А мощностью 30,4 кВт и массой 19 т в номинальном режиме составляет 0,65.
Возбудитель, от которого питаются обмотки возбуждения, может быть выполнен полууправляемым или полностью управляемым. При использовании в качестве возбудителя полностью управляемого выпрямителя. Из-за увеличения эффективных токов в трансформаторе и сдвига фаз тока и напряжения возрастают потери, снижается к. п. д. инвертора.
Тем не менее предпочтение отдают возбудителю, выполненному на базе полностью управляемого выпрямителя. Он обеспечивает практически безынерционное изменение знака, приложенного к обмотке возбуждения напряжения, что ограничивает изменение тока рекуперации при понижении напряжения в контактной сети. Испытания системы рекуперативного торможения на макетном электровозе ВЛ 10-398 и опыт создания системы рекуперативно-реостатного торможения на электропоездах ЭР22М н ЭР22В показали, что удовлетворяющие
всем требованиям эксплуатации динамические качества системы рекуперативного торможения могут быть получены только при использовании в качестве возбудителя полностью управляемого выпрямителя.
Рекуперативно-реостатное торможение на э. п. с. постоянного тока. Торможения рекуперативное и реостатное применяют в разных диапазонах скоростей. Максимальная скорость Утах. ПРИ которой начинается рекуперативное торможение, ограничена конструкционной скоростью и потенциальными условиями на коллекторах тяговых двигателей, минимальная скорость итт — насыщением магнитной системы тяговых двигателей и нагреванием их обмоток возбуждения, а также обмотки НО (см. рис. 251, б) возбудителя. Снизить vInin можно, применяя несколько группировок якорей в процессе рекуперации. Однако прн больших замедлениях такая перегруппировка нарушила бы плавность торможения и привела бы к уменьшению реализуемой тормозной силы после перехода с параллельного на последовательное соединение. Использование одной группировки при двигателях обычного исполнения сужает область эффективного использования рекуперации. Например, если использовать только параллельное соединение двигателей, то рекуперативное торможение закончится при относительно высокой скорости движения, а если применить последовательное соединение, то тормозную силу в области высокой скорости пришлось бы существенно снизить в связи с ограничением по потенциальным условиям на коллекторах тяговых двигателей.
При одной группировке якорей двигателей диапазон скоростей, в котором можно осуществить эффективное рекуперативное торможение, может быть значительно расширен, если применить двигатели, рассчитанные на глубокое ослабление возбуждения (например, на электропоезде ЭР22М до 23,6%).
На отечественных электропоездах постоянного тока для осуществления реку-перативно-реостатного торможения применена система автоматического изменения тормозной силы при регулировании тока возбуждения либо с помощью трехфазного полууправляемого моста с
обратными диодами (на электропоездах ЭР22), либо путем плавного изменения угла открытия тиристоров полностью управляемого трехфазного возбудителя, питающегося от трехфазного синхронного генератора (на электропоездах ЭР22 с № 28, ЭР22М, ЭР22В, ЭР2Р и ЭР2Т, принципиальные силовые схемы которых в этом режиме практически одинаковы).
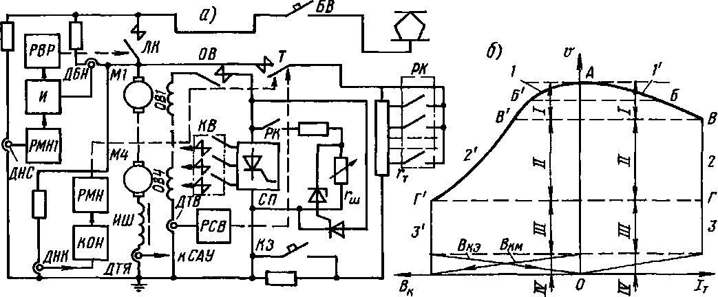
Переход в режим электрического торможения, после установки главной рукоятки контроллера машиниста в одно из тормозных положений и возвращения вала реостатного контроллера на 1-ю позицию, начинается с поворота вала тормозного переключателя в тормозное положение, при этом включается контактор ОВ (рис. 254, а и б) н обмотки возбуждения двигателей подсоединяются к статическому преобразователю СП; включается контактор КВ, подающий напряжение от синхронного генератора на преобразователь СП. Затем замыкаются контакты тормозного контактора Т, вводится в действие система автоматического управления торможением (САУТ), которая выдает управляющие импульсы на тиристоры СП. В результате силовые цепи переключаются в режим реостатного торможения с независимым возбуждением двигателей. Ток возбуждения, соответственно напряжение и ток якорей двигателей, работающих в генераторном режиме, возрастают. Когда напряжение на якорях четырех последовательно соединенных двигателей М1— М4 становится равным напряжению контактной сети 1/с, срабатывает реле включения рекуперации РВР н включается линейный контактор ЛК. Затем отключается тормозной контактор Т, разрывая цепь реостатного тормоза. Этим завершается переход на рекуперативное торможение (при ис < 3750 В).
Этот процесс продолжается в соответствии с кривыми 1 и Г (зона /) до достижения уставки тормозного тока якоря, который затем поддерживается постоянным при непрерывном росте тока возбуждения и тормозной силы (кривые 2 и 2', зона //)
После достижения наибольшего тока возбуждения (точки Г и Г') происходит переход с рекуперативного торможения на реостатное с последовательным воз-

Рис. 254. Упрощенная схема силовой цепи рекуперативно-реостатного торможения (а) и кривые изменения тока /т якоря и тормозной силы Вк при снижении скорости движения V и плавном автоматическом регулировании замедления (б)
буждением двигателей М1—М4. При этом вначале включается контактор Т, в результате чего совмещаются кратковременно рекуперативное и реостатное торможения, затем выключается линейный контактор ЛК и собирается цепь реостатного торможения с независимым возбуждением двигателей. Начинает вращаться вал реостатного контроллера РК, и цепь обмоток возбуждения двигателей контакторами подключается к тормозному резистору гт. При этом параллельно СП будет включен резистор гш, через который проходит часть тормозного тока. Если падение напряжения на резисторе гш равно падению напряжения в обмотках возбуждения двигателей, то СП отключается контактором КВ и осуществляется переход на последовательное возбуждение двигателей (зона ///). В зоне /// снижение скорости движения v осуществляется постепенным выведением ступеней тормозного резистора гт контакторами РК контроллера (кривые 3 и 3').
Для полной остановки поезда (зона IV) применяют механическое торможение (сила Вкм), действующее совместно с реостатным (сила Вкэ). При этом уменьшается сила Вкэ, нарастает сила Вкм, но сохраняется примерно постоянное значение Вкз + Вкк. Переключение с одного вида торможения на другой осуществляется с помощью электронных реле: включения рекуперации РВР, максимального напряжения РМН, ограничения напряже-
ния КОН, самовозбуждения PCB, срабатывания реле РМН1, элемента И, которые срабатывают под воздействием соответствующих датчиков напряжения и тока (ДБН, ДНС, ДНК, ДТЯ, ДТВ).
Э. п. с. переменного тока с двигателями пульсирующего тока. В режиме рекуперативного торможения такие тяговые двигатели, как и на э. п. с. постоянного тока, работают генераторами постоянного тока. Для того чтобы их энергию передать в контактную сеть, необходимо постоянный ток преобразовать в переменный, т. е. осуществить инвертирование. Для работы инверторов э. п. с. необходима реактивная энергия, которая отбирается от первичной системы электроснабжения, что загружает тяговую сеть и вызывает дополнительные потери энергии. Прн одинаковых прочих условиях потребление реактивной энергии в процессе рекуперации в 2,5 раза больше, чем в тяговом режиме. Поэтому часть энергии, рекуперируемой электровозом нлн электропоездом, идет на возмещение дополнительных потерь, что несколько снижает технико-экономическую эффективность рекуперации. Реализуемый коэффициент мощности рекуперирующим электровозом обычно составляет 0,45— 0,55. Инвертирование тока осуществляется тиристорными преобразователями (на электровозах ВЛ80Р, ВЛ85), которые при тяговом режиме работают выпрямителями (подробно см. § 103 и рис. 265).
|
|