Защита электрических машин от перегрузок. Перегрузка тяговых электрических машин может возникнуть при неправильном управлении э.п.с. (например, чрезмерно быстром переводе рукоятки контроллера машиниста в процессе пуска, особенно в условиях трогания поезда на тяжелом подъеме), нарушениях в работе аппаратов управления (например, в случае неисправности реле ускорения, когда происходит быстрое переключение двух илн более пусковых ступеней), резких колебаниях напряжения сети, а также при боксовании отдельных колесных пар, когда двигатели небоксующих осей принимают на себя большую нагрузку.
Для ограничения перегрузок тяговых двигателей используют максимальную токовую защиту, выполненную на электромагнитных реле. Ток уставки выбирают в соответствии с током, заданным для данного двигателя по условиям коммутации. Реле перегрузки включают в каждую параллельную цепь двигателей. Этим достигается правильная реакция защиты при отключении отдельных цепей двигателей из-за их неисправности.
Самовосстанавливающиеся реле перегрузки воздействуют на быстродействующий выключатель или главный выключатель, которые имеют принудительное восстановление. Реле перегрузки с принудительным восстановлением воздействуют на линейные контакторы или контакторы, которые подключают электродвигатели вспомогательных машин к цепям Восстановление защиты производит машинист специальной кнопкой на пульте управления. Во избежание повторной перегрузки двигателей и срабатывания защиты всегда предусматривают в цепях управления блокировки, которые разрешают восстановление защиты только на нулевой или первой позиции
главной рукоятки контроллера машиниста. Это вызывает задержку по времени в восстановлении режима тяги, которая особенно нежелательна для грузовых электровозов при пуске на тяжелых подъемах, когда потери силы тяги сопровождаются значительной потерей скорости. В связи с этим на отечественных магистральных электровозах постоянного тока ВЛ8, ВЛ10, ВЛ10У, ВЛ11 и др. получили распространение способы ликвидации перегрузок без выключения цепи тяговых двигателей — так называемая буферная защита.
На моторных вагонах, где перегрузка двигателей возникает только во время пуска, реле перегрузки может уменьшить уставку реле ускорения, как это предусмотрено на электропоездах.
Защита от коротких замыканий. На э.п.с. возникновению короткого замыкания способствуют: неудовлетворительное состояние изоляции машин н аппаратов вследствие повышенного нагрева, увлажнения или загрязнения; ионизация окружающей среды нз-за плохой вентиляции и повышенного нагрева; неисправности машин, аппаратов и монтажа; чрезмерное повышение напряжения и перенапряжения, вызывающие пробой изоляции электрооборудования или переброс электрической дуги между токоведущими частями аппаратов и машин или токоведущими частями н заземленными конструкциями.
Для защиты от коротких замыканий применяют на электровозах и электропоездах постоянного тока быстродействующие выключатели, а на моторных вагонах старых серий — линейные контакторы в сочетании с реле максимального тока. В качестве дополнительного средства защиты на моторных вагонах применяют высоковольтные плавкие предохранители, которые устанавливают на крыше вагонов. Предохранитель должен прерывать цепь к.з. в тех случаях,
когда аварийный моторный вагон находится в так называемой «мертвой зоне» тяговой сети, где ток к.з. относительно мал и не достигает уставки защиты тяговых подстанций
Ток уставки быстродействующего выключателя электровоза или моторного вагона выбирают таким, чтобы не происходило ложных срабатываний защиты при реализации наибольшей силы тяги по сцеплению на высшей ступени скорости — ступени наибольшего ослабления возбуждения тяговых двигателей при параллельном их соединении
При круговом огне на коллекторах части тяговых двигателей в последовательной цепи, перебросе дуги на землю между якорями двигателей и различных частичных нарушениях изоляции ток возрастает медленнее, чем при полном коротком замыкании, и может не достигнуть уставкн быстродействующего выключателя. Защиту оборудования в этом случае обычно осуществляют дифференциальными реле. Дифференциальное реле может иметь уставку, соответствующую произвольной малой разности токов, что позволяет обеспечить защиту силовой цепи при любом порядке чередования якорей и обмоток возбуждения тяговых двигателей, а также во всем практически возможном диапазоне нагрузок. Это реле не реагирует непосредственно на возникновение кругового огня, но он всегда сопровождается перебросом дуги на корпус двигателя, что вызывает срабатывание дифференциального реле
На э.п.с переменного тока цепи обмоток тягового трансформатора, преобразователей и тяговых двигателей от токов к з. защищены главным выключателем, который, выключаясь, отсоединяет первичную обмотку трансформатора от токоприемника. Выключается он под воздействием независимых датчиков. Обычно предусматривают трансформатор тока, который включают за главным выключателем в цепь первичной обмотки тягового трансформатора Уставку главного выключателя по току первичной цепи выбирают несколько выше тока, соответствующего максимальной силе тяги э.п.с. по сцеплению на высшей ступени
скорости. Так как вероятность пробоя первичной обмотки на землю мала, то на э.п.с. переменного тока дифференциальные реле для защиты не применяют.
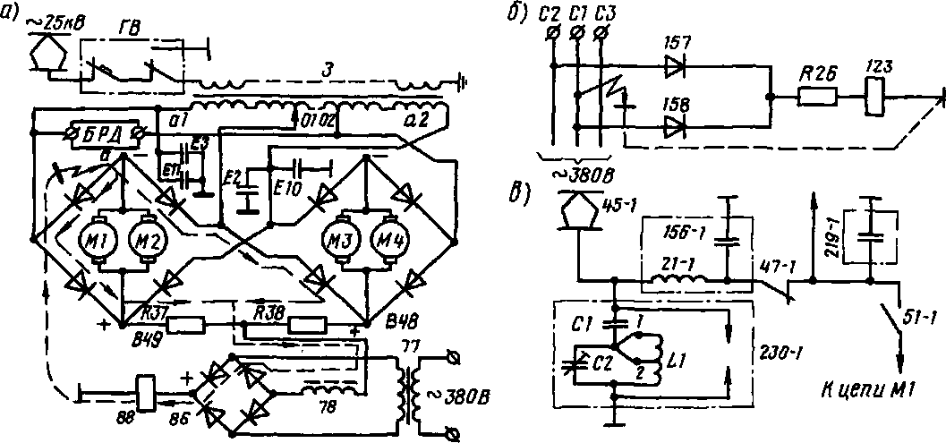
Вторичная обмотка трансформатора, преобразователи, цепи тяговых двигателей не имеют соединения с землей. Поэтому замыкания на землю различных точек вторичной цепи при перебросах дуги, пробое изоляции и других повреждениях, круговой огонь на коллекторах тяговых двигателей, пробой полупроводниковых вентилей в плечах мостов преобразователей или разветвлений вентильного перехода только в одной точке не приводят к аварийному режиму. Однако нарушение изоляции в двух точках может привести к короткому замыканию на землю. Чтобы исключить возможность возникновения подобного аварийного режима, необходимо контролировать изоляцию цепей от земли прн замыкании на землю в одной точке и вызывать отключение защищаемой цепи от источника питания Такой контроль на э.п.с. переменного тока осуществляет так называемая земляная защита (рис. 255, а). Выпрямительный мост 86, получающий питание от понижающего трансформатора 77, вместе с трансформатором служат источником дополнительного напряжения для контроля изоляции.
Начало и конец секционированных и несекционированных вторичных обмоток тягового трансформатора 3 соединены с землей через конденсаторы (ЕЮ и др.), для того чтобы на отдельных точках цепи не возникали перенапряжения относительно земли. Через эти конденсаторы, землю и обмотку реле 88 может протекать емкостный ток, который будет вызывать ложные срабатывания реле. Для исключения этого в цепь обмотки реле 88 включен дроссель 78, рассчитанный на небольшой ток и имеющий значительную индуктивность. Реле заземления контролирует сохранность изоляции двух групп тяговых двигателей, поэтому оно подключено в точке В48 к одной группе, а в точке В49 к другой Резисторы Я37 и Я38 исключают замыкание накоротко этих двух точек. При замыкании на землю любой точки силовой цепн, например а, образуется цепь, показанная на рис. 258, а стрелками.

Рис. 255. Схемы защиты от замыканий на землю силовых (а) и вспомогательных (б) цепей на электровозах переменного тока и помехоподавляющего устройства (в) на электровозах
ВЛ10, ВЛ10У, ВЛ11
Через реле 88 начинает протекать ток; оно срабатывает и своими контактами разрывает цепь удерживающей катушки Г В, что приводит к отключению последнего. Контакты реле замыкают цепь красной сигнальной лампы. Защита будет срабатывать при замыкании на землю любой точки вторичной обмотки трансформатора.
Земляную защиту применяют и ао вспомогательных цепях электровозов переменного тока (рис. 255, б, где 123 — катушка реле заземления).
Защита при пониженном напряжении Понижение напряжения на токоприемнике, а также быстрое восстановление номинального напряжения на э.п.с. вызывают нарушение нормальной работы оборудования (понижение охлаждения тяговых двигателей при понижении напряжения, кругоаой огонь на их коллекторах при толчках напряжения и т.д.). Чтобы предотвратить это, на электровозах постоянного тока устанавливают реле пониженного напряжения, которое, сработав, обычно только включает цепь сигнальных ламп и сигнализирует машинисту о падении напряжения в сети. Выбор дальнейших мер защиты предоставляется машинисту, причем он должен учитывать условия движения поезда и профиль пути.
На моторных вагонах постоянного тока при чрезмерном падении или полном
снятнн напряжения реле минимального напряжения (нулевое реле), сработав, вызывает отключение линейных контакторов, т. е. автоматическое выключение силовой цепн. Применение минимальной защиты на моторных вагонах обусловлено, во-первых, легкими условиями пуска электропоезда в случае его остановки и, во-вторых, наличием автоматического пуска.
На э.п.с. переменного тока режим работы при пониженном напряжении возникает реже, и поэтому специальных реле пониженного напряжения не предусматривают. Обычно уровень напряжения машинисты контролируют по показаниям аольтметров. Прн понижении напряжения нужно осуществить переход на низшие ступени регулирования скорости, чтобы уменьшить вероятность возникновения кругового огня на коллекторах тяговых двигателей при последующем резком повышении напряжения в сети
Помехоподавляющие устройства. На
э.п.с. постоянного тока для комплексного подавления помех в канале поездной радиосвязи применяют специальные помехоподавляющие устройства, состоящие из реакторов 21-1 (рнс. 255, в) конденсаторов 156-1 и 219-1, блоков разделительного контура 230-1. В этих устройствах снижение уровня помех достигается благодаря образованию
резонансного контура, который настраивают на частоту радиостанции (например, на 2130 кГц на электровозах ВЛ10, ВЛ10У, ВЛ11) конденсатором С2 и изменением числа витков катушки
и.
|
|