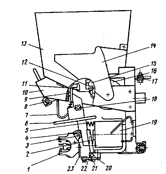
Контактор 1КП.005. На электропоездах с электрическим торможением в последнее время в качестве линейных, линейно-тормозных, тормозных контакторов и контакторов ослабления возбуждения применяют электропневматический контактор 1КП.005. Он собирается на изоляционной стойке 24 (рис. 58), в верхней части которой закреплен кронштейн с неподвижным главным контактом ^5. На том же кронштейне устанавливают дугогасительную катушку с сердечником и дугогасительный контакт 6, изолированный от главного контакта.

Рис. 58. Контактор 1КП-005:
I — резьбовая втулка для крепления контактора; 2 — полюс; 3 — верхний дугогасительный рог; 4 — перегородка камеры; 5 — упорная планка для камеры; 6 — дугогасительные контакты; 7 — пружина; 8 — нижний дугогасительный рог; 9 — пружинный замок камеры; 10 — изоляционный кронштейн;
II — вспомогательные контакты; 12 — направляющая изолятора подвижного контакта; 13 — кнопка вентиля; 14 — катушка вентиля; 15 — вентиль;
16 — крышка; 17 — цилиндр; 18 — стержень; 19 — изолятор; 20 — внешний вывод; 21 — ввод (соединение); 22 — подвижной контактный держатель; 23 — ось; 24 — изоляционная стойка; 25 — главные контакты; 26 — неподвижный контакт

Рис. 59. Текстолитовая панель с двумя герконами на блокировочном устройстве контактора 1КП.005
В цилиндре привода 17 имеются поршень, шток и отключающая пружина. Сжатый воздух в цилиндр поступает от электропневматического вентиля 15, расположенного в горизонтальном положении (традиционное расположение вентилей на старых контакторах — вертикальное). Верхняя часть штока соединена с изолятором 19, на котором укреплены главный и дугогасительный подвижные контакты, дугогасительный рог, держатель и притирающая пружина. (Подвижные контакты расположены на держателе.) Силовые провода подходят к контактору с задней стороны стойки 24: один провод — к кронштейну неподвижных контактов, другой — при помощи шунта 21 соединен с подвижными контактами.
Как известно, силовые контакторы, групповые переключатели и другие аппараты имеют низковольтные блокировочные контакты. На контакторах 1КП.005 применено герконное устройство. Геркон — это герметически запаянная стеклянная колба, в которой расположены контактные элементы (они могут замыкаться и размыкаться), К двум зажимам колбы подходят провода внешней цепи.
Текстолитовая панель (рис. 59) с двумя герконами (один запасной) зафиксирована иа стойке контактора 24. На изоляторе 19 укреплен постоянный магнит. Когда изолятор поднимается при включении контактора, магнит располагается напротив герконов. Как только геркон попадает в магнитное поле, его контакты мгновенно замыкаются, причем быстродействие устройства приближается к срабатыванию электронных приборов. При отключении контактора магнит перемещается вместе с изолятором вниз, и геркон размыкается.
Герконное устройство за несколько лет эксплуатации зарекомендовало себя очень хорошо.
Реле-повторители служат для размножения основного сигнала. Они применяются очень широко в электрических схемах новых электропоездов. Устройство включается или выключается в зависимости от замыкания или размыкания геркона. Повторитель представляет собой реле небольших размеров, размещенное под прозрачным кожухом, с несколькими парами контактов. На самом силовом контакторе, кроме геркона, блокировочных устройств нет.
Контактор работает следующим образом. После подачи напряжения на вентиль 15 в цилиндр 17 поступает сжатый воздух. Поршень, сжимая пружину внутри цилиндра, поднимается вместе со штоком и изолятором 19. Сначала замыкаются дугогасительные контакты 6, подключается дугогасительная катушка. При дальнейшем движении поршня замыкаются и притираются друг к другу главные контакты. За счет поворота держателя дугогасительных контактов вокруг оси они размыкаются и отключают дугогасительную катушку. Эту катушку можно держать под напряжением лишь кратковременно. Если из-за неисправности дугогасительные контакты не разомкнутся и через катушку длительно будет протекать ток, контактор сгорит.
Чтобы выключить контактор, обесточивают вентиль. Из цилиндра выходит воздух, пружина перемещает вниз подвижную систему. При этом прежде чем разомкнутся главные контакты, держатель подвижных контактов повернется и включит малые дугогасительные контакты 6, подключив дугогасительную катушку.
Затем в обесточенном состоянии отключаются главные контакты (в эксплуатации они совершенно чистые, в то время как малые дугогасительные контакты очень сильно закопчены). Отключение закончится, когда разомкнутся дугогасительные контакты.
Но полным отключением считают момент гашения дуги, так как пока она горит, через нее продолжает замыкаться силовая цепь. Возникающая между расходящимися контактами дуга переходит на дугогасительные рога под воздействием магнитного поля полюсов 2 дугогасительной катушки. Она выдувается в камеру, где удлиняется, охлаждается и гаснет. Таким образом, через дугогасительную катушку ток протекает только во время гашения дуги, пока кратковременно включены малые контакты. При включенном контакторе катушка обесточена.
Таблица 15
Характерные неисправности контактора 1КП.005
|
Неисправность |
Вероятная причина |
|
При подаче напряжения на катушку |
Обрыв провода катушки вентиля |
|
вентиля контактор не включается. |
|
|
При нажатии на кнопку вручную ко- |
|
|
нтактор- включается |
|
|
После нажатия на кнопку контакго- |
Засорилась гильза или порвались ман- |
|
р не включается |
жеты в приводе |
|
Не расходятся дугогасительные кон- |
Износ главных контактов, износ оси |
|
такты при полностью включенном |
держателя |
|
контакторе |
|
|
Следы сваривания контактов |
Излом контактной пружины |
|
Появились следы переброса на за- |
Нарушена цепь дугогасительной катуш- |
|
земленные части, срабатывает заши- |
ки, отсырела дугогасительная камера |
|
та электропоезда |
|
|
Порвана манжета, и контактор медлен- |
|
|
но включается |
|
|
Боковые прогары на дугогасительной |
|
|
камере |
|
|
Нет контакта во вспомогательных |
Износ контактов или неправильно от- |
|
контактах |
регулированы провалы контактов |
|
Повышенная утечка воздуха в ци- |
Недостаточное количество масла в ко- |
|
линдре |
льце поршня |
Таблица 16
Основные технические данные контактора 1 КН.005
|
Напряжение главной цепи. Б |
|
|
номинальное |
3000 |
|
наибольшее |
4000 |
|
Ток номинальный, А |
400 |
|
Отключаемый ток, А |
300 |
|
Предельный при наибольшем напряжении |
550 |
|
Ток вспомогательных цепей, А |
1,5 |
|
Раствор контактов, мм: |
|
|
превышение раствора главных контактов |
|
|
над раствором дугогасительных |
8 +1 |
|
главных |
28 — 32 |
|
вспомогательных |
|
|
дугогасительных прн полностью включенном контакторе |
не менее 4 |
|
Длина лини касания при включенном контакторе, мм |
|
|
главных |
38 |
|
дугогасительных , |
7 |
|
Начальное нажатие главных контактов, кгс |
5.6 15 |
|
Конечное нажатие главных контактов, кгс |
16,6 37 |
|
Допускаемое боковое смещение дугогасительных контактов, не более, мм |
1 |
|
Суммарный износ контактов по толщине мм, не более |
|
|
ных |
2 |
|
дугогасительных |
•' 3 |
|
вспомогательных |
1 |
|
Ход поршня, мм |
40 |
|
Давление воздуха в приводе, кгс/см2 |
5 Г1'5 "71 . -1.2 |
|
Наименьшее напряжение включения, В |
55 |
|
Сопротивление катушки вентиля, Ом |
760 |
|
Сопротивление катушки дугогасительной, Ом |
0,0055 |
|
Сопротивление изоляции, мОм, не менее при одетой кам ере между подвижным и неподвижным контактами |
50 |
|
между рядом расположенными контакторами 1КП.005 |
10 |
|
Напряжение, возникающее между контактами при отключении, В, не более |
9000 |
|
Масса контактора, кг |
20 |
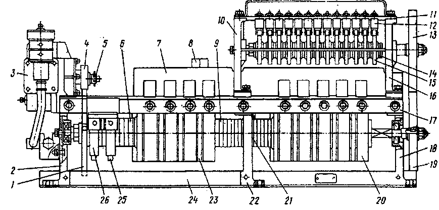
Контактор 1КМ.016. Такие аппараты применяют на электропоездах для переключения в высоковольтных цепях вспомогательных машин и отопления. Контактор имеет электромагнитный привод, поскольку он должен работать при отсутствии сжатого воздуха. Так как в цепях вспомогательных машин токи относительно малы, создаваемое электромагнитным приводом давление главных контактов оказывается вполне достаточным.
Контактор собран на изоляционной панели из пластмассы АГ-4В. В верхней части (рис. 60) расположены главные контакты с выводами проводов, в нижней части — привод и низковольтное блокировочное устройство. Ранее на аналогичных контакторах для дугогашения применяли постоянные магниты. На контакторах 1КМ.016 вернулись к дуго гасительной катушке.
Система магнитного дутья располагается на двух изоляционных стойках 10. Между ними размещены катушка с сердечником и полюса 14. Контактор имеет дугогасительные рога и лабиринтно-щелевую камеру 13 из асбоцемента. Камера снабжена замком и чтобы ее снять, оттягивают ручку замка и поворачивают ее на 90°, тогда камера освобождается.
Неподвижный силовой контакт установлен на кронштейне, отлитом вместе с дугогасительным рогом. На якоре привода 2 закреплен пластмассовый изолятор. После подачи напряжения на катушку привода 19 якорь притягивается, главные контакты замыкаются. Одновременно ролик 4 перекатывается по изолятору 6, воздействуя на рычаг 3, переключает низковольтные блокировочные контакты 1.
Между выводами 8 и 17 силовой ток протекает через шунт 7, главные контакты, дугогасительную катушку. Для выключения контактора обесточивают катушку 19 электромагнита. Отключающая пружина 5 отрывает якорь 2 от сердечника. На якоре укреплена немагнитная прокладка, которая предотвращает прилипание якоря к обесточенной катушке. Дуга между главными контактами под действием поля дугогасительной катушки 16 выдувается вверх (в камеру), где охлаждается и гаснет.

Рис. 60. Контактор 4 КМ-016:
1 — крепление вспомогательных цепей; 2 — якорь; 3 — рычаг; 4 — ролик;
.5. — отключающая пружина; 6 — изолятор; 7 — гибкое соединение;
8,17 — выводы; 9 — упор; І 0 — стойка магнитного дутья; 11, 12 — контакты;
13 — дугогасительная камера; 14 — полюс; 15 — дугогасительный рог;
16 — дугогасительная катушка; 18,20 — оси; 19 — включающая катушка;
21 — кронштейн; 22 — пластина; 23 —угольник
Таблица 17
Перечень возможных неисправностей контактора 1КМ.016
|
Признаки неисправности |
Возможные причины |
|
При подаче питания на включающую катушку контактор не включается или работает нечетко, останавливаясь в промежуточном положении Повышенная эрозия главных контактов Заметны следы перебросов на заземленные части контактора Внутренняя поверхность камеры чистая Появились следы переброса с оплавлением дугогасительной камеры |
Обрыв обмотки включающей катушки Изношены губки; сломана контактная пружина, изношены оси или их посадочные места Обрыв провода или межвитковое замыкание дугогасительной катушки, ослаблены крепления выводов катушки Отсырела дугогасительная камера, контакты касаются стенок камеры, смещение больше нормы |
Таблица 18
Основные технические данные контактора 1КМ.016
|
Напряжение главной цепи, В |
|
|
номинальное |
3000 |
|
наибольшее |
4000 |
|
Продолжительный ток, А |
100 |
|
Раствор контактов, мм |
|
|
главных |
22 |
|
всп ом огательн ых |
8 |
|
Провал контактов, мм |
|
|
главных |
4,5 — 9,0 |
|
вспомогательных |
3,5 |
|
Нажатие контактов, кгс |
|
|
главных |
12 |
|
вспомогательных |
1,7 |
|
Допустимое боковое смещение главных контактов относи- |
|
|
тельно стоек, мм, не более |
2 |
|
Собственное время отключения контактора с, не более |
0,06 |
|
Масса контактора, кг |
14,5 |
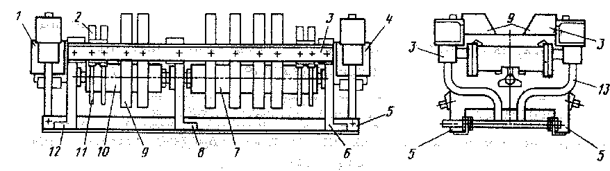
Реостатный контроллер 1КС.009. Наряду с индивидуальными контакторами на электропоездах применяются групповые переключатели, которые, имея общий привод, могут одновременно переключать несколько контакторов. К таким аппаратам относится реостатный контроллер. Под контролем реле ускорения он выводит пускотормозные резисторы из цепи тяговых двигателей во время пуска и торможения. Кроме того, он ступенями уменьшает сопротивление шунтирующей цепи, подсоединяемой параллельно обмоткам возбуждения двигателей, и фиксирует скоростные характеристики при определенном ослаблении возбуждения.

Рис. 61. Силовой контроллер 1КС-009:
1,4 — зубчатая передачи; 2, 10, 16, 18,22 — рамы;3 — пневматический привод; 5
— гайка крепления шестерни; 6, 9 — кулачковые валы; 7 — перегородка;
8 — контактор; 11 — рейка; 12 — блокировочные контакторы; 13, 19 — зубчатая
передача вращения вала; 14 — кулачковый вал управления; 15 — кулачковые
шайбы; 17 — изоляционная рейка: 20 — контакторы КЭ-4Д (17 шт.); 21 — подвеска
для поддержания главного вала; 23 — кулачковые шайбы главного вала;
24 — угольник; 25 — храповик; 26 — механический фиксатор

Рис. 62. Пневматический привод силового контроллера 1КС-009:
1 — воздушный трубопровод; 2 — вентиль; 3 — цилиндр; 4 — поршень;
5 — рама; 6 — ролик; 7 — вал; 8 — трехконечная звезда; 9 — крышка
Каркас реостатного контроллера (рис. 61) состоит из двух продольных угольников 24 и соединяющих их поперечных рам 2, 10, 16, 18, 22, в которых установлены два кулачковых вала 6 и 14 с контактным шайбами. Нижний главный вал 6 управляет силовыми контакторными элементами. Он закреплен в шариковых подшипниках, которые имеются в рамах. Верхний малый вал для управления низковольтными блокировочными элементами также вращается в подшипниках, установленных в рамах 10 и 16. с двух сторон главного вала на текстолитовых рейках 17 установлены 17 силовых контакторных элементов КЭ4Д-2 и один контакторный элемент КР9А-1 с дугогасительной камерой.
Над верхним валом расположены 13 контакторных элементов КЭ-42 (блокировочных контактов). Главный вал во избежание проскакивания позиций останавливается двумя фиксаторами, работающими поочередно. Над главным валом и валом управления имеется заземленная шпилька, которая служит экраном для искр, которые могут появиться при переключениях контакторов и попасть на низковольтпые провода. В эксплуатации необходимо следить, чтобы шпилька была прочно закреплена. Оба вала вращаются одновременно, благодаря связывающим текстолитовым зубчатым шестерням 13. Валы реостатного контроллера имеют 20 позиций.
Пневматический привод контроллера, предложенный в довоенные годы профессором А.Н. Решетовым, прекрасно себя зарекомендовал. Одно время его пытались заменить электрическим приводом, установив на контроллер серводвигатель. Но из-за его ненадежности вернулись к старой, испытанной временем, конструкции Решетова.
Привод состоит из чугунного корпуса и рамы 5 (рис. 62), двух поршней 4, связанных общим штоком, на котором закреплены ролики 6, вращающиеся в игольчатых подшипниках. Асимметричная звезда 8 ("мрская звезда") имеет специальный профиль. Она, как и малая зубчатая шестерня, насажена на вал 7. Каждая полость цилиндра через свой вентиль соединяется с воздушной магистралью управления, в которой давление сжатого воздуха достигает 5 кгм/см2. При подаче питания на один из вентилей (второй при этом обесточен) воздух поступает в одну из полостей цилиндра.
Так, при возбуждении правого вентиля воздух попадает в правую полость, воздействует на поршень и перемещает его вместе со штоком в крайнее левое положение. При этом левая полость сообщается через свой вентиль с атмосферой. При перемещении штока правый ролик падавливает на луч звезды и поворачивает ее (а вместе с ней и шестерню) на 60°.
В левом конечном положении правый ролик расположится во впадине звезды. Другой луч звезды, благодаря ее асимметрии, поднимется выше левого ролика.
Если теперь обесточить правый вентиль и подать питание на левый, то из правой полости цилиндра воздух выйдет в атмосферу, а поступивший в левую полость воздух переместит поршень до упора вправо. Он повернет звезду и шестерню, а значит, и кулачковый вал в том же направлении. Обратного вращения привод не имеет.
Таким образом, привод преобразует поступательное движение поршней в одностороннее круговое движение звезды. Каждому ходу поршней соответствует поворот звезды на 60°, а поскольку ее связывают с главным валом шестерни, передаточное отношение которых 1:3, вал каждый раз будет поворачиваться на 20°, что соответствует его переходу с позиции на позицию. Следовательно, если поочередно подавать питапие на один вентиль, одновременно обесточивая другой, валы контроллера будут переходить на следующую позицию.
Конструкция переключателей питания вентилей за многолетнюю эксплуатацию существенно изменилась. На поездах с электрическим торможением напряжение на вентили реостатного контроллера подает электронный блок реле ускорения БРУ. В зависимости от уменьшения тока в силовой цепи до определенного значения он запитывает очередной вентиль и переводит реостатный контроллер на следующую позицию. Надо сказать, что при управлении с помощью блока реостатный контроллер имеет более спокойный и четкий ход, исчезла его хроническая болезнь — проскок позиций, реже заедает контроллер между позициями и т.д.
Реверсивно-тормозной переключатель Ш004.У2. Реверсор изменяет направление тока в обмотках возбуждения тяговых двигателей, тормозной переключатель переводит силовую схему в режим тяги или в режим торможения. Если кулачковый вал реостатного контроллера имеет 20 положений (позиций), то реверсор и тормозной переключатель имеют всего два положения каждый. У реверсора это — "Вперед" и "Назад", у тормозного переключателя — "ход" или "Тормоз".
Нужно уметь быстро определять, в каком положении находится групповой переключатель. Если замкнуты силовые контакты В1 и В2 реверсора, значит, аппарат находится в положении "Вперед", если замкнуты Н1 и Н2 —в положении "Назад". По силовым контактам тормозного переключателя также легко определить его положение. В положении тяги включены все четные контакторы и ТП9, в положении тормоза — нечетные. Положение реостатного контроллера можно также быстро определить
по замыканию его блокировочных контактов. Если в верхнем ряду включены четыре крайние справа блокировки, то реостатный контроллер находится в позиции 1.
И реверсор, и тормозной переключатель объединены в один блок, называемый реверсивно-тормозным переключателем (рис. 63), причем каждый аппарат работает независимо от всего привода. В основании конструкции находятся два продольных уголка, соединенные поперечными рамами 5, 6, 8, 12. Средняя рама является общей для обоих аппаратов. На текстолитовых рейках закреплены силовые кулачковые контакторы 9 без дугогашения (десять контакторов тормозного переключателя и четыре — реверсора).
Контакторные элементы переключаются до сбора схемы, так как рассчитаны на бестоковое переключение. В средней поперечной раме запрессовано два шариковых подшипника, в крайних рамах — по одному (для вращения кулачковых валов). Кроме силовых контакторных элементов, на переключателях имеются и низковольтные элементы КЭ-42А, которые выполняют блокировочные переключения в цепях управления.
Электропневматический привод реверсора размещен на его передней раме. Он немного напоминает привод реостатного контроллера, у которого вместо звезды имеется поводок 5 с сухарем 4 (рис. 64). Он разворачивает кулачковый вал из одного положения в другое. Привод представляет собой двухполостный чугунный щетиндр-1, внутри которого имеются два поршня 3, соединенные общим штоком. На крышках цилиндра расположены два вентиля. После возбуждения одного из них воздух поступает в соответствующую полость цилиндра, перемещает поршень в противоположное крайнее состояние, заставляя кулачковый вал повернуться в требуемое положение. Аналогично работает и привод тормозного переключателя.
Чтобы во время работы реверсор случайно не развернулся в противоположное положение, соответствующий вентиль постоянно находится под напряжением. Однако надо оговориться: вентиль под напряжением находится только в рабочем режиме (в режиме тяги или торможения). Если контроллер машиниста переводят в нулевое положение, вентиль теряет питание и при повторном подключении на скорости (хотя и очень редко) были случаи, когда из-за неисправности схемы управления (например, коротком замыкании) запитывался другой вентиль. Реверсор переключался, что приводило к контртоку и тяжелым последствиям. Пока электропоезд движется в одном направлении, вентили реверсоров обесточивать нежелательно.

Рис. 63. Реверсивно-тормозной переключатель Ш-004У2: 1,4 — приводы; 2 — контакторы управления; 3 — угольник; 5, 6, 8, 12 — рамы; 7, 10 — кулачковые валы; 9 — силовые контакторы; 11 — кулачковые шайбы; 13 — воздухопровод

Рис. 64. Привод реверсивно-тормозного переключателя 1П-004У2: 1 — двухполостный цилиндр; 2 — кожаная манжета; 3 — поршень; 4 — сухарь; 5 — поводок; 6 — кулачковый вал; 7 — упор; 8 — крышка; 9 — электропневматический вентиль
Таблица 19
Характерные неисправности реверсивно-тормозного переключателя
|
Вид неисправности |
Причины, способ устранения |
|
Аппарат не переключается Обгорают контакты силовых контакторов Утечка воздуха |
Катушка вентиля не получает питания — проверить схему Отсутствует сжатый воздух или снизилось давление ниже 3,5 кгс/см2 — подать сжатый воздух Механическое заедание привода или вала (отсутствует смазка) — залить смазку Неисправна схема управления переключателем (контакторы рвут ток) Мал раствор контактов — заменить контактор или пружину Недостаточное контакгиое иажатие — заме- ■ нить контактор или пружину Загрязнили клапаны и седло вентиля — заменить вентиль Неисправен воздухопровод, уплотнения — исправить уплотнения или заменить |
|
Неисправности реостатного контроллера аналогичны перечисленным. Их можно дополнить следующим пунктом: |
|
|
Обгорают силовые контакты |
Нарушен порядок замыкания и размыкания элементов — проверить его в соответствии с диаграммой |
|
|