Эти элементы применяют в групповых переключателях. Общий вид элемента приведен на рис. 65. Аипарат состоит из неподвижной и подвижной частей с притирающим механизмом. Его конструкция не предусматривает дугогасительного устройства, поэтому этот контакторный элемент применяется для таких переключений силовой цепи, которые происходят без разрыва цепи.

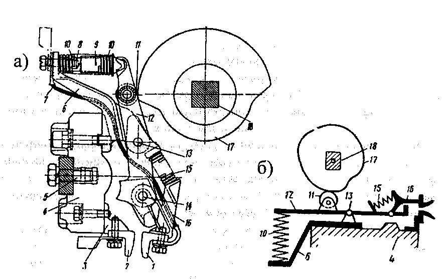
Рис. 65. Схема компакгорного элемента: а — общий вид, б — кинематическая схема контакторного элемента; 1, 2 — силовые контакты; 3 —держатель; 4 — изолятор; 5 — втулка; 6 — кронштейн; 7 — медный шунт; 8, 9 — цилиндрические направляющие; 10 — включающая пружина; 11 — ролик; 12 — рычаг; 13 — ось; 14— ось, соединяющая рычаг с держателем; 15 — притирающая пружина; 16 — держатель; 17 — кулачковая шайба; 18 — кулачковый вал (в сечении)
Неподвижная часть контакторного элемента состоит из изолятора 4, на котором установлен держатель 3. К нему прикреплен неподвижный контакт 2. На изоляторе 4 укреплен кронштейн 6, на оси 13 которого может поворачиваться рычаг 12 подвижной части элемента. Рычаг 12 своей осью 14 соединен с держателем 16 подвижного контакта 1. Этот контакт соединен гибким шунтом наконечником, к которому подведен провод силовой цепи. Второй провод силовой цепи подходит к болтовому креплению неподвижного контакта 2.
Между держателем и рычагом 12 установлена пружина 15, под воздействием которой держатель 16 стремится повернуться на оси 14 до упора в рычаг 12. На концах рычага 12 и кронштейна 6 установлены цилиндрические направляющие 8 и 9. Между ними имеется пружина 10. Рассмотрим работу элемента КЭ-4Д по схеме на рис. 65.
Под воздействием пружины 10 рычаг 12 поворачивается вокруг оси 13. Один его конец с держателем подвижного контакта смещается вниз до соприкосновения с неподвижным. Но ввиду того, что пружина 10 не перестанет воздействовать на рычаг 12, держатель 16 после соприкосновения контактов начнет поворачиваться вокруг своей оси. При этом пружина 15 будет сжиматься, а подвижной контакт перекатываться по неподвижному, обеспечивая притирание до полного замыкания.
В ходе дальнейшего движения рычаг 12 упирается своим упором в изолятор 4. Поэтому усилие пружины 10 не влияет на конечное давление контактов, которое будет определяться только усилием пружины 15. Так как контактор включается пружиной 10, она называется включающей (в отличие от пружины 15, называемой притирающей).
Контакторные элементы закреплены в аппарате на общей текстолитовой рейке болтами, которые ввернуты в запрессованные в изоляторы 4 втулки 5. На рычаге 12 каждого элемента с помощью валика и игольчатого подшипника укреплен ролик 11. Элементы на общей рейке расположены так, что ролик 11 каждого элемента находится в одной вертикальной плоскости с кулачковой шайбой 17. Шайбы собраны на общем кулачковом валу 18, имеющем квадратное сечение.
Кулачковый вал устанавливается в подшипниках и может вращаться. Рабочая поверхность текстолитовой шайбы 17 (профиль шайбы) состоит из впадин и выступов. Когда шайба при повороте вала устанавливается напротив ролика 11 своей впадиной, ролик свободно лежит во впадине, и включающая пружина 10 замыкает контакторный элемент.
Когда в процессе поворота кулачкового вала шайба своим выступом коснется ролика 11 и заставит его следовать изменениям поверхности, ролик 11 сожмет пружину 10* и контакторный элемент разомкнётся. (Запомним: шайба—выключает контактор, пружина — включает его). При отключении контактора держатель 16 под воздействием притирающей пружины 15 повернется вокруг оси и будет отводить подвижной контакт от неподвижного.
В низковольтных цепях управления применяют контакторные элементы КЭ-42. Их конструкция подобна конструкции элементов КЭ-4Д, принцип действия аналогичен. Они отличаются только меньшими размерами. Кулачковый контактор (силовой) КР9А — выполнен на базе контактора КЭ-4Д. Отличается от него наличием дугогасительной системы, состоящей из сердечника, двух полюсов, дугогасительной камеры и катушки, которая включена последовательно с неподвижным контактом.
|
|