Отопительная система вагонов состоит из электрических печей ПЭТ-1УЗ, предназначенных для нагрева воздуха внутренних помещений электропоезда, и электрокалориферов — для подогрева наружного воздуха, поступающего в пассажирское помещение.
Электрические печи ПЭТ-1УЗ расположены в заземленных кожухах 3 (рис. 100) на полу пассажирского помещения иод диванами. Каждая печь имеет четыре трубчатых нагревательных элемента 6, через которые пропущены проволочные спирали. Для предотвращения вибрации и смещения спиралей трубки заполнены кварцевым песком. Они укреплены на изоляторах 5 и соединены последовательно. Выводные зажимы 4 присоединены к шпилькам, пропущенным через изолятор.
На электропоезде ЭР2 в моторном и прицепном вагонах установлено по 20 печей, соединенных в четыре параллельные группы. Каждая группа состоит из пяти последовательно соединенных печей. Общая мощность печей в вагоне 12,8 кВт. В головном вагоне в пассажирском помещении установлены только три группы (15 печей), а четвертая, состоящая из четырех печей, предназначена для служебного отопления. Общая мощность печей кабины машиниста 4 кВт.
На электропоездах ЭР2 последних выпусков и ЭР2Р в моторном вагоне установлено также 20 печей, а в прицепном — 19 печей общей мощ-
Рис. 100. Электрическая печь ПЭТ-1УЗ: 1,2 — крышки кожуха; 3 — кожух; 4 — выводной зажим; 5 — изоляторы; 6 — нагревательный элемент

ностью 12,1 кВт, в головном в пассажирском помещении - 14 печей общей мощностью 8,9 кВт.
Технические данные печи ПЭТ-1УЗ
Номинальное напряжение, В.......... 750
Номинальная мощность, кВт.......... 1
Мощность печи при напряжении 600 В, Вт...... 640
Номинальный ток, А............ 1,3
Сопротивление в холодном состоянии, Ом...... 670—760
Максимальная температура нагрева кожуха, °С, при напряжении:
825 В............... 130
1000 В............... 180
Сопротивление изоляции не менее, МОм....... 0,5
Электрокалориферы собраны из трубчатых нагревательных элементов ТЭН-78А мощностью 800 Вт и напряжением 220 В. Эти элементы закреплены на фарфоровых изоляторах, установленных на металлических планках. Внутри нагревательного элемента намотана спираль из нихромовой проволоки диаметром 0,35 мм, активная длина которой 670 мм. Для предотвращения смещения спирали трубка заполнена кварцевым песком. По концам трубки имеются выводы.
На электропоезде ЭР2 электрокалорифер имеет две секции мощностью 9,3 и 18,6 кВт. Малая секция, состоящая из 8x2 нагревательных элементов, соединенных последовательно, включается одновременно с электропечами и работает под контролем терморегулятора ТЖ-В. Большая секция состоит из 16x2 нагревательных элементов, соединенных в две параллельные группы (по 8x2 элементов последовательно в каждой группе), и работает под контролем термоконтакторов ТК + 8° и ТК + 160. Она включается при температуре воздуха в вентиляционном канале +8 °С и ниже и выключается при + 16 °С и выше. Таким образом, малая секция совместно с электропечами обеспечивает температуру в пассажирском помещении от 11 до 15 °С; большая секция поддерживает температуру подаваемого в салон свежего воздуха в пределах от 8 до 16 °С.
Весь электрокалорифер разделен на две половины, установленные в потолочном канале / (рис. 101) пассажирского помещения у торцовых стен салона. В каждой половине имеется 24 нагревательных элемента. На электропоезде

Рис 101. Расположение двигателей вентиляторов и электрокалориферов в ™е-
потолочный канал; 2 - электрокалорнфер; 3 - вентилятор; 4 - электродвигатель, 5 - сетчатый фильтр; 6 — жалюзи
ЭР2Р электрокалорифер содержит 48 нагревательных элементов, соединенных в четыре параллельные группы-(по 12 элементов последовательно в каждой). Общая мощность калорифера 24,8 кВт. Разделен он также на две половины, расположенные по концам потолочного канала салона вагона и работает под контролем термоконтакторов ТК+8° и ТК + 16°, как и на электропоезде ЭР2.
Служебное отопление кабины машиниста на электропоездах ЭР2 последних выпусков и ЭР2Р электрокалориферное. Электрокалорифер имеет нормальный режим (включена малая ступень мощностью 4,66 кВт) и усиленный режим (включена большая ступень мощностью 7,5 кВт на электропоезде ЭР2 и 8,2 кВт— на ЭР2Р). Температуру воздуха в кабине контролируют термоконтакторы, поддерживающие ее в пределах от 16 до + 20°С.
Для улучшения условий труда обслуживающего персонала на подножках установлены два электронагревательных элемента ТЭН-32А, которые включаются выключателем «Дополнительный обогрев кабины».
Обогреватель влагосборника предназначен для подогрева крана и нижней части влагосборника и состоит из двух нагревательных элементов ТЭН-32А, помещенных в корпусе и закрепленных скобами. Между скобами и элементом установлены асбоцементные прокладки. Номинальное напряжение обогревателя 50 В, номинальная мощность 100 Вт. На электропоезде ЭР2 элементы соединены параллельно, а на ЭР2Р — последовательно.
Электрообогреватель туалета — электропечь ПЭТ-1 УЗ, включенная в схему отопления пассажирского помещения. Нагревательные элементы соединены таким образом, что электропечь можно включать на напряжение 220 В. Для дополнительного обогрева туалета используют обогреватель бака, выполненный из шести электронагревательных элементов ТЭН-78А, и обогреватель сливной трубы, состоящий из двух электронагревательных элементов ТЭН-32А.
На электропоезде ЭР2Р туалет обогревается двумя печами ПЭТ-1УЗ.
Обогрев окон в кабине машиниста в зимнее время осуществляется для предотвращения их запотевания и образования инея. Стекла окон состоят из внешней и внутренней закаленных силикатных пластин, склеенных прозрачной эластичной прокладкой, которая обеспечивает безосколочность стекол при механических повреждениях. Обе пластины снабжены нагревательными элементами. Нагревательный элемент представляет собой прозрачное токо-проводящее покрытие, нанесенное на внутренние поверхности внешней и внутренней пластин. Токопроводящее покрытие соединено с токоведущими серебряными шинами, выведенными на соответствующие зажимы. Питание к нагревательным элементам подается от сети постоянного тока напряжением ПО В (на электропоезде ЭР2Р) и 50 В (на электропоезде ЭР2) через четырехпо-зиционный переключатель; 1-е положение переключателя соответствует интенсивному нагреву, 2-е — внутреннему, 3-е — наружному, 4-е — слабому подогреву. Электрообогреватель рекомендуется включать только при заинде-вении или запотевании стекол, затрудняющем обзор. Смена режимов обогрева должна происходить в такой последовательности: слабый подогрев, внутренний или наружный нагрев и только после этого интенсивный нагрев.
Предохранители используют для защиты электрических цепей электропоезда от перегрузок и коротких замыканий. Время срабатывания предохранителя складывается из времени плавления вставки и времени гашения дуги. Время плавления вставки зависит от тока, материала плавкой вставки и напряжения горения дуги. Оно уменьшается с увеличением кратности тока перегрузки по отношению к длительному току предохранителя. Существенный недостаток плавких предохранителей — однократность действия, т. е. необходимость смены предохранителя или плавкой вставки после срабатывания.
При одинаковых отключаемых токах мощность электрической дуги в силовых цепях больше, чем в цепях управления. Поэтому конструкции плавких предохранителей для разных цепей различны.
Для защиты силовых вспомогательных цепей на электропоезде применяют
предохранители ПКПС-3.
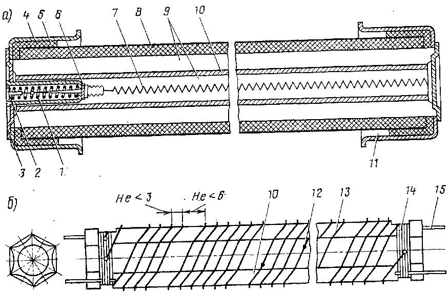
Предохранитель ПКПС-3 состоит из патрона, вставленного в зажимы, укрепленные на двух опорных изоляторах. Патрон представляет собой фарфоровую или стеклянную трубку 8 (рис. 102, а), заполненную чистым кварцевым песком, закрытую с обеих сторон латунными колпачками 4 с крышками 3. Герметизация патрона достигается заливкой цемента между колпачком и трубкой. Крышки к колпачкам с торцов должны быть тщательно запаяны. Между колпачком и стеклянной трубкой имеется асбоцементная прокладка 5.
Внутри патрона находится ребристый шамотный сердечник 10, на который намотана плавкая вставка 13 (рис. 102, б), состоящая из четырех медных посеребренных проволок. Каждая проволока имеет ступени различных диаметров. Для плавкой вставки с номинальным током 20 А диаметры ступеней проволок равны 0,25; 0,3; 0,35 мм, а с номинальным током 32 А — 0,3; 0,35; 0,4 мм. Такое устройство позволяет ограничить перенапряжения, возникающие при плавлении вставки, и обеспечить равномерный нагрев патрона по всей длине.
Оловянные шарики 12, напаянные в чместе скруток плавких проволок, предназначены для снижения нагрева предохранителя. У них меньше температура плавления, поэтому плавление проволок начинается именно с этих участков. Быстрое гашение дуги в предохранителях, заполненных кварцевым песком, происходит из-за интенсивной деионизапик дуги в узких щелях между песчинками. Возникающая в месте плавления вставки дуга насыщена ионизированными парами металла проволоки, которые благодаря высокой температуре создают внутри патрона большое давление. В результате ионизированные частицы разбрасываются в стороны, проникают в зазоры между песчинками, охлаждаются и деионизируются.

Рис 102 Предохранитель ПКПС-3:
пружина указателя , - У^^?™^ 7^.^.7 ^о^ГГ
боцементная прокладка; ^ 1^°^°^я ,^„°^ый песок); 10 — шамотный сердечник; //-це-
«авЛя вставка; ,4- баидаж; /5 - держатель

Рис. 103. Патроны предохранителя со скользящими (а) и ножевыми (6) контактами
Срабатывает предохранитель бесшумно, без выброса пламени и газов. О срабатывании предохранителя сигнализирует специальный указатель, устроенный следующим образом. На крышке патрона укреплена металлическая втулка, внутри которой помещена спиральная пружина, прикрепленная одним концом к дну втулки, а другим — к головке указателя. При перегорании проволоки пружина освобождается и выбрасывает из втулки колпачок, сигнализируя о срабатывании предохранителя. Сработавший предохранитель ПКПС-3 заменяют другим. Перезарядка патрона предусматривает смену перегоревшей плавкой вставки и отработанного кварцевого песка.
На электропоезде ЭР2 предохранитель ПКПС-3 установлен в ящике под вагоном. Он служит для защиты всей вспомогательной цепи высокого напряжения.
На электропоезде ЭР2Р предохранители ПКПС-3 используют для защиты: высоковольтных цепей отопления и измерительных приборов моторного вагона, силовых цепей двигателя преобразователя; силовых цепей, передающих напряжение 3 кВ на прицепной вагон; высоковольтных цепей отопления прицепного вагона.
Технические данные предохранителя ПКПС-3
Номинальное напряжение. кВ
Номинальный ток, Л 4
Сопротивление, Ом . л по о' ппчо Размеры указательной проволоки мм- 'u.uze—и.МУ
Д"аМеТр 015 .......... .' 790
Предохранители ПНБ-2 служат для защиты выпрямительного моста в цепи подзаряда аккумуляторной батареи на электропоезде ЭР2Р. Они предназначены для работы в цепях переменного тока частотой 50 Гц, напряжением до 380 В и постоянного тока напряжением до 400 В. Патрон предохранителя состоит из стеклянной трубки, армированной по концам медными колпачками. Плавкая вставка, впаянная в колпачки патрона, изготовлена из серебряной ленты и имеет сечение, рассчитанное на определенный ток срабатывания.
Патрон предохранителя заполнен чистым, сухим кварцевым песком, который способствует быстрой деионизации возникающей дуги и почти мгновенному ее гашению. После срабатывания патрон не перезаряжают, а заменяют новым. Предохранитель отключает двукратный номинальный ток не более чем за 15 с.
Предохранители ПР-2 получили наиболее широкое применение для защиты цепей управления. Эти предохранители, изготовляемые на напряжение 220 V 500 В, имеют закрытые разборные патроны без наполнителя на номинальные токи 15, 60, 100 и 200 А. Патроны, рассчитанные на номинальный ток 15 А. могут заряжаться плавкими вставками на 6, 10 и 15 А, а патроны, рассчитанные на ток 60 А, могут заряжаться вставками на токи от 15 до 60 А. Плавкие
вставки выполнены в виде цинковой пластинки со суженными местами (перешейками). При прохождении по этой пластинке тока свыше номинального вставка расплавляется в узких местах.
Патрон предохранителя состоит из фибровой трубки 1 (рис. 103, а и б), которая при появлении дуги выделяет газы, давлением которых гасится дуга. На трубку насажены алюминиевые или латунные втулки 2, на которые навинчивают латунные колпачки 5, являющиеся контактными частями патрона. Плавкая вставка 4 зажата между шайбой 3 и колпачком 5. У патронов предохранителей на 100 и 200 А контактами являются медные ножи 6.
Предохранители ПК-45 служат для защиты слаботочных цепей (радиосети, локомотивной сигнализации и др.). Патрон предохранителя представляет собой стеклянную трубку с наконечниками,к которым припаяна плавкая вставка из проволоки в виде прямой нити. Длина патрона 50 мм, диаметр 7 мм. Предохранители рассчитаны на ток от 0,25 до 5 А и напряжение до 600 В. После срабатывания их заменяют новыми.
|
|