Дифференциальное реле (ДР) работает на принципе сравнения токов тяговых двигателей в начале и конце защищаемой цепи.
При коротких замыканиях в цепи тяговых двигателей ток быстро увеличивается до значения уставки БВ. В тех случаях, когда замыкание на «землю» происходит по цепи с сопротивлением или в цепи остается часть включенных тяговых двигателей, ток неполного короткого замыкания может быть меньше значения, на которое отрегулирован БВ. Между тем этот ток опасен для целости электрического оборудования. Дифференциальное реле является в таких случаях более чувствительным.
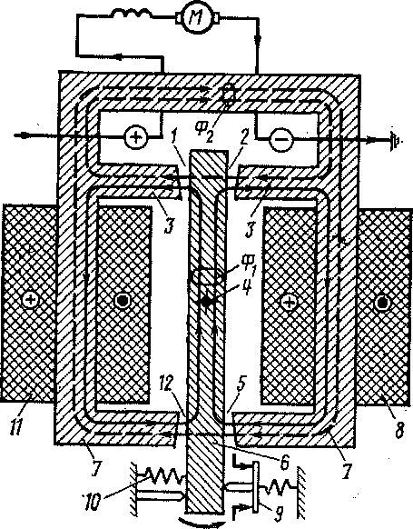
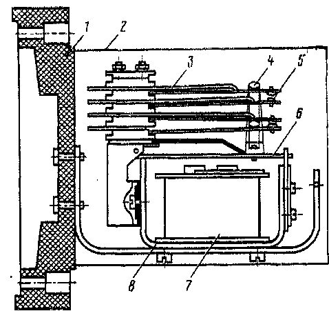
Дифференциальное релеР-104Б (рис. 104) имеет стальной трехстержневой наборный сердечник, на вертикальных сторонах которого находятся последовательно соединенные подмагничивающие катушки 8 и 11. В средней части магнитопровода установлен якорь 6, имеющий ось 4 вращения. С помощью болта и пружины 10 его регулируют так, чтобы воздушные зазоры 1,2,5 а 12 были одинаковы.
В верхнем окне магнитопровода помещают в!одной и выходной силовые витки. Когда ток протекает по подмагничивающим катушкам, их магнитный поток Ф, замыкается по стержням 3 и 7 через воздушные зазоры /, 12 и 2, 5.
При отсутствии короткого замыкания по входному и выходному силовым виткам протекают одинаковые токи, поэтому их магнитные потоки, направленные встречно, взаимно уничтожают друг друга и не оказывают влияния
на реле. Якорь 6 в это время находится в положении равновесия и на него воздействует только пружина 10.
В случае короткого замыкания в цепи тяговых двигателей ток в одном из проводов будет больше, чем в другом. Разность этих токов создаст в стержнях 3 и 7 магнитный поток небаланса Фг, который в зазорах / и 5 складывается с магнитным потоком подмагничивающих катушек Ф,, а в зазорах 2 и 12 направлен встречно. Магнитодвижущая сила, действующая в зазорах 1 и 5, преодолевает сопротивление пружины и поворачивает якорь против часовой стрелки.
Якорь изоляционной планкой нажимает на мостик и размыкает блок-контакт 9, включенный в цепь удерживающей катушки быстродействующего выключателя (БВУ), и последний отключается.

Рис. 104. Магнитная система дифференциального реле Р-104
Восстановление реле происходит после отключения сиЛовогб тока в цепи тяговых двигателей и тока в подмагничивающих катушках с помощью блок-контакта БВ. При этом якорь дифференциального реле (ДР) возвращается пружиной в исходное положение.
"Ток срабатывания дифференциального реле на электропоезде ЗР2 составляет 40—60 А.
Технические данные дифференциального реле Р-104Б
50
Номинальное напряжение, В.............
Ток катушек, А...............' .
Диаметр провода катушки, мм........... и/*
Число витков......•........о4
Сопротивление одной катушки при 20 С, Ом.......
Реле перегрузки Р-103 с механизмом возврата Р-102 защищает силовые цепи тяговых двигателей от токов перегрузки, а силовые вспомогательные цепи — от токов перегрузки токов короткого замыкания. В схемах его обозначают как РП1, РП2, РПД, РПК и РПО на электропоезде ЭР2 (РПП — на ЭР2Р). В зависимости от выполняемых функций реле могут иметь различные технические данные.
Реле состоит из двух частей: верхней высоковольтной (Р-103), которая контролирует ток перегрузки, и нижней низковольтной (Р-102), которая выполняет функции механизма возврата. Обе части работают в сочетании друг с другом.
Реле Р-103 представляет собой конструкцию клапанного типа, на магнитопроводе которого установлена силовая катушка 1 (рис. 105), включенная последовательно с защищаемой цепью. Изоляционная планка 5, укрепленная на якоре 2 и рассчитанная на полное напряжение силовой цепи, воздействует на низковольтную часть. При прохождении по силовой катушке токов перегрузки якорь реле притягивается к сердечнику, планка ударяет по упору 6 и поворачивает валик механизма возврата. Валик, поворачиваясь, освобождает от защелки 7 якорь 8 механизма возврата, на котором укреплены блок-контакты. Происходит их замыкание или размыкание.
При выключении тока в силовой цепи якорь 2 отпадает и занимает исходное положение. Для восстановления реле достаточно кратковременно подать напряжение на его катушку 12, при этом якорь 8 притягивается и запирается на защелку.
В верхней части панели около каждого реле на шпильке подвешен флажок-сигнализатор 16, который при срабатывании реле выходит из зацепления и опускается. Восстанавливают флажок-сигнализатор вручную.
Регулировку тока уставки реле производят изменением натяжения пружины 13 посредством регулировочной гайки 4 и регулировочного винта 3. У каждого реле имеется шкала 14. на которой указан ток уставки.
На электропоезде ЭР2 реле перегрузки РП1 и РП2 имеют один механизм возврата. У реле РПД и РПК для

Рис. 105. Реле перегрузки Р-103 с механизмом возврата Р-102:
1 — силовая катушка;
2 — якорь; 3 — регулировочный винт; 4 — регулировочная гайка; 5 — планка; 6 — упор; 7 — защелка; 8 — якорь механизма возврата; 9 — регулировочный винт механизма возврата; 10— регулировочная гайка механизма возврата; 11 — контактные мостики; 12 — катушка механизма возврата; 13 — пружина; 14 — шкала; 15 — маг-ннтопровод; 16 — фла-жок-снгналнзатор

подключения тепловых реле ТРВ-8,5 силовые катушки разделены на две секции. У реле РПО катушка восстановительного реле не подключена к цепи низкого напряжения, поэтому его восстанавливают вручную.
Реле боксования Р-304 служит для ослабления боксования при тяге (на электропоезде ЭР2). Реле имеет Г-образный магнитопровод 5 (рис. 106). На якоре 3 укреплена изоляционная планка 6, на конце которой установлены два контактных мостика 7. Катушка 1 реле боксования включена между средними точками обмоток якорей тяговых двигателей.и искусственной цепи из двух одинаковых резисторов. В цепь резисторов ответвляется небольшой ток. В нормальных условиях при одинаковой частоте вращения якорей двигателей приложенное напряжение распределится равномерно между обмотками якорей двигателей и потенциал их средней точки а (рис. 107, а) будет равен потенциалу средней точки б цепи резисторов. На концах катушки реле РБ1 не будет разности потенциалов, поэтому ток по катушке не пойдет.
Если какой-либо двигатель начнет боксовать (увеличится частота вращения якоря), то произойдет перераспределение приложенного к обмоткам якорей напряжения. На боксующем двигателе напряжение в связи с увеличением э. д. с. увеличится, а на небоксующем уменьшится. При боксовании, например, двигателя 1 (рис. 107, б) потенциал точки а снизится, а при боксовании двигателя 2 повысится. При этом потенциал Т01 ки б останется почти неизменным,. На концах катушки РБ1 образуется разность потенциалов, вследствие чего по реле начинает протекать ток, и оно срабатывает.
Блок-контакты реле, замыкаясь, подают питание на сигнальные лампы в кабину машиниста и на подъемную катушку реле ускорения (РУ). При этом уставка РУ понижается и силовой реостатный контроллер боксующего вагона переходит на следующую позицию при пониженном ускорении.
При заклинивании колесной пары моторного вагона в режиме тяги потенциал средней точки между обмотками якорей изменится, так как у заклиненного двигателя э. д. с. равна нулю, и реле сработает. Реле боксования срабатывает и при перегорании одного из резисторов. Схема моста в этом случае
Рис. 106. Реле боксования Р-304:
/ — катушка; 2 — прокладка; 3 — якорь; 4 — пружина; 5 — магнитопровод; 6 — планка; 7 — контактный мостик; 8 — неподвижные контакты

Рис. 107. Схема включения реле боксования на электропоезде ЭР2:
а-при нормальной работе в режиме тяги; б - при боксовании первой колесной пары
нарушится и по катушке реле РБ1 потечет ток. Регулировку реле осуществляют посредством упорного винта и регулировочной пружины.
Технические данные реле боксования Р-304
Ток срабатывания, А .... ■....... 0,015±0,00!
» отпадания якоря, А.......... 0,006±0,001
Число витков катушки........... 21 ООО
Сопротивление при 20 °С, Ом......... 2 570
Число замыкающих контактов......... 2
Диаметр провода, мм........... 0,15
Реле Р-305 используют на электропоезде ЭР2Р в качестве реле включения рекуперации, которое служит для автоматического перехода в режим рекуперативного торможения при э. д. с. двигателей-генераторов, близкой к напряжению контактной сети. По своей конструкции реле Р-305 аналогично реле боксования Р-304.
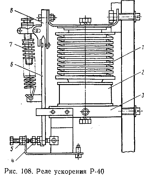
Реле ускорения и торможения Р-40 предназначено для автоматического управления работой силового реостатного контроллера в зависимости от тягового тока и тем самым осуществляет автоматический разгон поезда. На электропоезде ЭР2 оно работает только в режиме ускорения. Реле имеет маг-нитопровод 3 (рис. 108) с большим воздушным зазором, мало изменяющимся при включении реле, и якорь 6, установленный на призматическом упоре 8. На якоре 6 установлен блок-контакт 4. На сердечнике магнитопровода размещены две согласно действующие катушки: силовая /, включенная последовательно в цепь тяговых двигателей, и подъемная 2, включенная в цепь управления. Изоляция между катушками, а также между силовой катушкой и маг-нитопроводом рассчитана на полное напряжение сети. Вдоль якоря размещена отключающая пружина 7, прикрепленная одним концом к кронштейну призматического упора, а другим — к якорю.
При отсутствии магнитного потока, а также когда магнитный поток силовой и подъемной катушек не в состоянии удержать якорь в притянутом состоянии, последний под действием пружины отпадает и замыкает свой блок-контакт. Если же действие магнитного потока будет сильнее, чем пружины, то якорь реле притянется и блок-контакт разомкнётся.
Ток отпадания якоря регулируют изменением магнитного зазора упорным
винтом 5 (грубая регулировка) или натяжением регулировочной пружины (точная регулировка).
На электропоезде ЭР2Р реле Р-40 применяют также в качестве реле моторного тока (РМТ) и реле обратного тока преобразователя (РОТ).
Реле моторного тока служит для защиты тягового двигателя от перехода в двигательный режим при рекуперативном торможении. Работает оно следующим образом: при рекуперативном торможении магнитный поток силовой катушки направлен навстречу магнитному потоку подъемной катушки и реле бездействует. Как только направление тока в силовой катушке изменится, магнитные потоки обеих катушек складываются и реле срабатывает, в результате чего происходит замещение рекуператив-


ного торможения реостатным с независимым возбуждением. Ток срабатывания при согласном включении катушек составляет (40±2) А, а при встречном — 450 А и более.
Технические данные реле Р-40
Ток уставки силовой катушки, А...........175—5
То же при пониженном ускорении, А..........125
» » боксовании, А-............75
Силовая катушка
Число витков...............8
Размеры провода, мм..............4x3,0
Ток продолжительного режима, А..........150
Подъемная катушка
Номинальное напряжение, В............50
Число витков...............1650
Сопротивление катушки при 20 °С, Ом.........44,3
Диаметр провода, мм..............0,35
Ток продолжительного режима, А..........0,5
Реле обратного тока преобразователя служит для защиты двигателя преобразователя от больших токов как после внезапного возникновения напряжения в контактной сети, так и при генераторном режиме путем введения в цепь пускового резистора. Ток в силовой катушке при срабатывании составляет не более 2,5 А, а при отпадании якоря не менее 0,1 А. Нормально магнитные потоки силовой и подъемной катушек направлены согласно.
Устройство реле РОТ такое же, как и РУ, за исключением силовой катушки, которая имеет 138 витков.
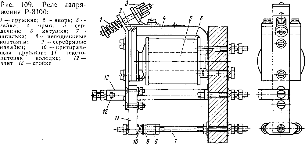
Реле напряжения Р-3100 применяют в качестве реле минимального напряжения контактной сети. Реле напряжения (РН) предназначены для защиты силовой цепи тяговых двигателей от бросков тока, возникающих при внезапном появлении напряжения в контактной сети или его значительном понижении. Само по себе понижение напряжения не представляет опасности для электрической аппаратуры и тяговых двигателей. Однако следующее за ним восстановление полного напряжения вызывает перегрузку тяговых двигателей, которые до этого работали на автоматической (безреостатной) характеристике.
Реле Р-3100 имеет Г-образный магнитопровод, сердечник 5 (рис. 109) и якорь 2, на котором установлена текстолитовая колодка 11. На этой колодке укреплены мостиковые подвижные контакты с серебряными напайками 9 и притирающей пружиной 10. Неподвижные контакты 8 расположены на шпиль-
Таблица 4
|
Показатель |
Технические данные реле |
|
|
р-3100 (РН/РМ2) |
Р-302 (рн) |
|
|
Напряжение, В: |
||
|
срабатывания |
2300/180±3 |
2300 |
|
отпадания |
800/— |
800 |
|
якоря |
||
|
Ток, А: |
||
|
срабатывания |
. 0,03/- |
0,037 |
|
отпадания |
||
|
якоря |
0,01/— |
0,013 |
|
Диаметр прово- |
||
|
да катушки, мм |
0,15/0,51 |
0,15 |
|
Сопротивление |
2570/162 |
2570 |
|
катушки 20 "С, Ом |
||
ках 7. Якорь отключается пружиной / и перемещается до упора в болт, который одновременно является блок-контактом. Регулировку реле производят изменением натяжения отключающей пружины /, а изменение магнитного зазора—упорным винтом 12, укрепленным на стойке 13. Во избежание прилипания якоря 2 к сердечнику 5 и для обеспечения высокого коэффициента его возврата к якорю реле приклепана латунная прокладка. Реле включено в цепь после добавочного резистора со стороны земли.
На электропоезде ЭР2 установлено реле напряжения Р-3100, анаЭР2Р — реле Р-302. Реле Р-302 в отличие от реле Р-3100 имеет два мостиковых контакта. На электропоезде ЭР2Р реле Р-3100 применяют также в качестве реле максимального напряжения РМ2. Технические данные реле Р-3100 и Р-302 приведены в табл. 4.,
Реле максимального напряжения синхронного генератора РМ2 служит для подачи питания на катушку промежуточного реле защиты преобразователя РЗП-3. Срабатывает РМ2 при аварийном увеличении частоты генератора, а также при кратковременных забросах напряжения генератора.
Промежуточное реле контактора батареи ПБК служит для включения и отключения контактора БК, а также для отключения реле РЗП-2 при разносе преобразователя или значительном понижении напряжения синхронного генератора.
Реле максимального напряжения (РМН) служит для автоматического перехода с рекуперативного торможения на реостатное с независимым возбуждением, когда рекуперативное торможение практически становится невозможным (при повышении напряжения в контактной сети).
Промежуточные реле применяют в качестве вспомогательных. Их изготовляют с несколькими блок-контактами, которые предназначены для переключений в цепях управления и создания дополнительных цепей.
Реле РП-23 имеет катушку 8 (рис. ПО) и магнитопровод, в который входят скоба 3, сердечник 7 и якорь 6. Подвижные мостиковые контакты 5 замыкаются с неподвижными контактами 4 при возбуждении катушки, когда якорь нажмет своим хвостовиком на колодочку с блок-контактами. Реле имеет четыре замыкающих и один размыкающий контакт. При необходимости могут быть осуществлены другие комбинации контактов. Реле РП-23 применяют в цепях постоянного тока. В схемах электропоезда ЭР2 оно имеет обозначения ПРО, РРУ, БР1, БР2, РКО.
Эти обозначения расшифровываются следующим образом: ПРО — промежуточное реле включения отопления; РРУ — реле регулировки тока уставки реле ускорения; БР1, БР2 — реле, управляющие силовым реостатным контроллером при ручном пуске; РКО —- реле контроля отпуска.
Технические данные реле РП-23
Номинальное напряжение, В . . ,..........50
Число витков...............8700
Диаметр провода, мм..............0,2
Сопротивление при 20 "С, Ом............425
Время срабатывания, с.............
Реле МКУ-48С имеет П-образный магнитопровод 8 (рис. 111) с плоским сердечником, на котором установлена включающая катушка 7. На конце якоря 6 укреплена пластмассовая стойка 4 с поперечными перекладинами, заходящими в промежутки между контактными пластинами 3. Блок-контакты 5 выполнены в виде набора пластин, на одном конце их напаяны серебряные накладки, а к другому присоединены монтажные провода.
При срабатывании реле вертикальная стойка изгибает пластины, производя соответствующие переключения. Весь механизм смонтирован на пластмассовом основании / и закрыт пластмассовым кожухом 2. Реле МКУ-48С в схемах имеет обозначения: на электропоезде ЭР2 — ПТР; на ЭР2Р — ПЛК, ПЛКТ, ПТ, ПШ, ПТП-М, ПТП-Т, ПРТ, РКТ, РКО, РТП, РБР, PCB, PC, РСФ, РББ1, РББ2, РНВ1, РЗГ, РНК, ПТР К.
Технические данные реле МКУ-48С
Число размыкающих контактов........ 2
» замыкающих » ......... 2
Время срабатывания, с........... 0,035
Число витков включения катушки........ 10 000/17 000
Диаметр провода, мм . ......... 0,1/0,07
Сопротивление при 20 °С, Ом......... 1900/6000
Рабочее напряжение, В........... 50/110
Примечание. В числителе — для ПТР и ПТРК, в знаменателе — для остальных реле.
Реле Р-101 имеет Г-образный магнитопровод, на сердечнике которого установлена включающая катушка. На якоре смонтированы изоляционные планки для крепления контактных мостиков. Регулировку реле осуществляют регулировочной пружиной и упорным винтом. Реле различных исполнений отличаются напряжением включающей катушки, а также числом блок-контактов.
Реле Р-101 в схемах имеет обозначения: на электропоезде ЭР2 — РКБ, РПТ, РТ, РО, РБЛ, РВК; на ЭР2Р - РВК, PO, РТ, РОМ. Обозначения реле расшифровываются следующим образом: РКБ — реле контроля безопасности, электрически связанное с кнопкой КБ; РПТ — реле пневматического тормоза, подключает ЭПТ; РБЛ — реле блокировки лестницы подъема на крышу, при открытии которой подъем токоприемника невозможен; РВК —


Рис. 110. Промежуточное реле РП-23:
/ — кожух; 2 — основание; 3 — скоба; 4 — неподвижные контакты; 5 — подвижные контакты; 6 — якорь; 7 — сердечник; 8 — катушка
Рис. 111. Реле МКУ-48С:
/ — основание; 2 — кожух; 3 — контактные пластины; 4 — пластмассовая стойка; 5 — блок-контакты; 6 — якорь; 7 — включающая катушка; 8 — магнитопровод
реле, служащее для включения двигателя вспомогательного компрессора; РТ — реле торможения; РО — реле отпуска.
Технические данные реле Р-101
Номинальное напряжение, В....... 50/110
Продолжительный ток, А ....... 0,23/0,125
Диаметр провода, мм......... ?ЛУ2'}%пп
Число витков........... 5_500/10 500
Сопротивление при 20 °С, Ом...... 175±10/750_3,
Ток срабатывания, А......... 0,18/0,09
Примечание. В числителе — для электропоезда ЭР2, в знаменателе — для ЭР2Р.
Реле Р-306 выполнено на базе контактора КМ, с той лишь разницей, что главная контактная система с дугогасительным устройством заменена на блок-контакты такого же типа, как и на нижнем конце якоря. Реле имеет Г-образный магнитопровод, на сердечнике которого установлена включающая катушка. На якоре смонтированы изоляционные планки для крепления подвижных контактов. Регулировку осуществляют пружиной и упорным винтом.
Реле может иметь четыре блок-контакта в любых сочетаниях. Такое реле устанавливают на электропоезде ЭР2Р и в схемах обозначают РНГ, РПТ, РКБ, РК31, КВК, РЗП-3. Обозначения реле расшифровываются следующим образом: РНГ — реле напряжения генератора, служит для отключения обмотки возбуждения синхронного генератора от батареи после запуска преобразователя, срабатывает при фазном напряжении 115 В и более; РПТ— реле пневматического тормоза, подключает электропневматический тормоз при нажатии кнопки на пульте управления; РКБ — реле контроля безопасности, электрически связано с кнопкой безопасности КБ; РК31 — реле контактора защиты; КВК — контактор вентилятора кабины машиниста; РЗП-3 — промежуточное реле защиты преобразователя.
Реле ПРА — промежуточное реле аккумуляторной батареи, установлено на электропоезде ЭР2 для управления контакторами КБ1 и КБ2 при зарядке аккумуляторной батареи. Конструктивно реле ПРА выполнено так же, как и реле перегрузки Р-103, но имеет вместо высоковольтной катушки низковольтную.
Технические данные реле Р-306 и ПРА
Тип реле............ Р-306 ПРА
Номинальное напряжение, В .... 110/50 50
Диаметр провода, мм....... 0,2/0,31 0,38
Число витков .......... 14 100/5850 1550
Сопротивление при 20 °С, Ом ... . 950±||/162±|8 23,3
Ток срабатывания, А ....... 0,068±3/(0,16-4-0,19) 0,7-0,95
Примечание. В знаменателе — для реле РПТ и РНГ , в числителе — для остальных реле.
Реле времени применяют для замедления срабатывания некоторых элементов электрических цепей. Работа реле основана на том, что при включении в цепь постоянного тока индуктивной катушки ток, а значит, и сила притяжения электромагнита нарастают не мгновенно, а с какой-то выдержкой времени. При отключении катушки спад тока и усилия электромагнита также происходят с выдержкой времени.
Реле РЭВ — электромагнитное реле времени клапанного типа, на основании которого укреплен магнитопровод 2 (рис. 112) подковообразной формы. На одной стороне его закреплено демпферное медное кольцо на другой — включающая катушка 3. Демпферное кольцо задерживает спадание магнитного потока, обеспечивая тем самым требуемую выдержку времени отпадания якоря
6 после отключения катушки. Чтобы исключить прилипание якоря, к нему приклепана немагнитная прокладка. К основанию реле крепят неподвижные блок-контакты 4. Подвижные мостиковые контакты укреплены на якоре посредством изоляционных кронштейнов 5. Регулировку выдержки времени реле осуществляют натяжением пружины 7 (плавная регулировка), а также изменением толщины немагнитной прокладки (грубая регулировка). Реле времени в схемах электропоезда ЭР2Р имеет обозначения РВД1, РЗП1, РЗП2, РВД2, РК32, РПБ, ПБК, PMI, РВТ1, РВТ2.
Обозначения реле расшифровываются следующим образом: РВД1 (РЭВ-818) — реле времени, предназначено для включения контакторов КП (в момент запуска) и ПКП (после запуска) преобразователя. Выдержка времени на отпадание якоря (2,5 ± 0,25) с; РВД2 (РЭВ-811) - реле времени, служит для отключения реле РВД1 после запуска преобразователя. Выдержка времени (0,45 ± 0,05) с; РВТ1 (РЭВ-813) — реле времени торможения, необходимо для обеспечения паузы для сбора цепи при электрическом торможении. Выдержка времени (2,5. ± 0,25) с ; РВТ2 (РЭВ-813) — реле времени торможения, служит для подключения электропневматического торможения в конце электрического торможения. Выдержка времени (2,5±0,25)с; РК32 (РЭВ-816) — реле контактора защиты, предназначено для включения контактора защиты и быстродействующего выключателя. Выдержка времени (1,5 ± 0,1) с; РМ1 (РЭВ-311) — реле повышенного напряжения генератора, служит для отключения преобразователя в случае повышения напряжения на синхронном генераторе.
Реле РЭВ-811, РЭВ-813, РЭВ-816 и РЭВ—818 отличаются значениями выдержек времени и числом блок-контактов.

Рис. 112. Реле времени РЭВ
Технические данные реле РЭВ
Номинальное напряжение, В . ПО
Число витков....... 7250
Диаметр провода, мм . . .0,19 Сопротивление при 20 "С, Ом 644
Технические данные реле РМ1
Напряжение срабатывания, В 62±1 » отпадания якоря, В60±1
Число витков.......3100
Диаметр провода, мм ... 0,55 Сопротивление при 20 °С, Ом 33,2
РелеР-307 (в схемах электропоезда ЭР2 обозначено ТРВ —токовое реле вентиляторов) работает как токовая защита. Оно защищает от недопустимого нагрева электрокалориферы при выходе из строя вентиляторов.
Реле ТРВ срабатывает при пусковом токе электродвигателей вентиляторов, а отключается при уменьшении тока в цепи их якорей до 1—3 А. Выполнено оно на базе реле Р-3100 и отличается от него исполнением включающей катушки и наличием 15 демпферных алюминиевых шайб толщиной 2 мм. Расположены они на сердечнике магнитопровода и предназначены для создания выдержки времени примерно 0,15 с при отключении реле. Номинальное напряжение реле 50 В, ток срабатывания (35 ± 2) А.
Тепловые реле применяют для защиты вспомогательных электрических машин от перегрузок. На электропоезде ЭР2 установлено тепловое реле
ТРВ-8,5, а на ЭР2Р — ТРТП-115, ТРТП-135.
Реле ТРВ-8,5 служит для подключения секции катушки реле РПД или РПК, когда по силовой цепи вспомогательных электрических машин проходит" ток, превышающий рабочее значение, но меньший, чем ток уставки реле перегрузки. Такой ток при длительном прохождении способен привести к недопустимому нагреву и порче обмотки вспомогательных машин.
Реле устроено следующим образом. На изоляционной панели 4 (рис. 113) укреплена шпилька 10, на которую надета биметаллическая пластина 3 с нихромовым нагревателем сверху. Между пластиной и нагревателем имеется слюдяная прокладка. Один конец биметаллической пластины вместе с нагревателем закреплен винтами 8 на стойках 5, установленных на панели. Другой конец (без нагревателя) соединен с плоской изогнутой ленточной пружиной 11, в средней части которой имеется прямоугольный вырез. В этот вырез специальным выступом входит биметаллическая пластина. Ленточная пружина с противоположной стороны соединена со стальной пластинкой 12 изоляционной колодочки 1. Эта пластинка одним концом вставлена в вырез упора 13, а другим _ в дВа прямоугольных выреза, имеющихся по бокам ленточной пружины. Таким образом, ленточная пружина зажата между биметаллической пластиной и стальной пластинкой колодочки.
Внизу на колодочке укреплен подвижной мостиковый блок-контакт. Неподвижные контакты укреплены на панели на металлических планках, в которые ввернуты зажимы 2, 6, 7, 9. В холодном состоянии свободный конец ^биметаллической пластины находится в верхнем положении. Связанная с ней ленточная пружина давит на колодочку, прижимая подвижные контакты к неподвижным и шунтируя вторую секцию катушки. При определенной температуре биметаллическая пластина изгибается и тянет за собой вниз соединенный с ней конец ленточной пружины. Направления усилия ленточной пружины будут меняться, и в определенный момент пружина заставит стальную пластинку, а вместе с ней и колодочку с подвижными контактами оторваться от неподвижных, что приведет к вводу в работу второй секции катушки. Реле РПД и РПК срабатывают при токе 12—15 А. После отключения тока биметаллическая пластина остывает, и через 15—60 с реле вновь замыкает свои контакты.
При токе 12 А тепловое реле срабатывает через 1 мин, а при токе 30 А — через 2,5 с.
Реле ТРТП-115 служит для защиты электродвигателей вентиляторов от перегрузок. Смонтировано оно в пластмассовом корпусе 15 (рис. 114) и состоит из и-образной биметаллической пластины 16, на правый конец которой опира-

Рис. 113. Тепловое реле ТРВ-8,5

Рис. 114. Тепловое реле ТРТП-115: / — скоба; 2 — ось; .3 — ролик; 4, 13 — зажимы; 5, 6, 7 — механизмы изменения уставок; 8 — сектор; 9 — изоляционная колодка; 10 — кнопка; 11. 12 — размыкающие контакты; 14 — пружина; 15 — корпус; 16 — биметаллическая пластина
ется витая цилиндрическая пружина 14. Другим концом пружина соединена с изоляционной колодкой 9, на которой установлен подвижной контактный мостик. Контакты имеют серебряные напайки. Левый конец биметаллической пластины через ролик 3 соединен с механизмами изменения уставок 5, 6, 7, позволяющими регулировать ток срабатывания путем изгиба биметаллической пластины. Биметаллическая пластина состоит из двух скрепленных пластинок, выполненных из металлов с различным коэффициентом расширения.
При достижении тока срабатывания пластина нагревается, выгибается, ее правый конец отклоняется вправо и пружиной поворачивает колодку, размыкая контакты //, 12. Возврат реле осуществляют нажатием на кнопку 10, которая поворачивает колодку в исходное положение.
Реле ТРТП-135 служит для защиты электродвигателя компрессора от перегрузок. По устройству оно аналогично реле ТРТП-115. Реле ТРТП-135 допускает регулировку тока уставки в пределах ±15 % номинального значения.
|
|