Регулятор давления АК-11Б (рис. 120) применяют для автоматического включения и выключения электродвигателя компрессора в зависимости от давления в напорной магистрали, а также для включения и выключения электродвигателя вспомогательного компрессора при подъеме токоприемника, когда в пневматической сети отсутствует воздух.
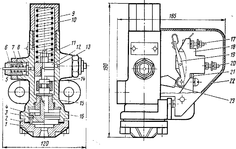
Регулятор давления представляет собой электрический выключатель мгновенного действия с пневматическим приводом. Контакты вместе с приводом смонтированы на пластмассовом основании 1 и закрыты пластмассовым кожухом 16. Привод состоит из чугунного фланца 17, соединенного с напорной магистралью и изоляционной направляющей. Между фланцем и основанием проло-
жена резиновая диафрагма 18 толщиной 2 мм. К основанию винтами крепят пластмассовую направляющую 13, в отверстие которой вставлен пластмассовый шток 19. С одной стороны на него действует регулировочная пружина 12, а с другой, через резиновую диафрагму, — сжатый воздух. Под действием пружины при малом давлении воздуха шток прогибает диафрагму и опирается на выступы основания.
Шарнирно с направляющей и штоком соединен рычаг 15 подвижного контакта 3. Этот контакт под действием контактной пружины 6 может занимать одно из фиксированных положений: нижнее, при котором он замыкается с неподвижным контактом 2, и верхнее, при котором он упирается в винт 4 изогнутой стойки 5. Неподвижный контакт прикреплен к основанию болтом.
При повышении давления сжатый воздух давит на диафрагму. Она, растягиваясь, преодолевает действие пружины и поднимает шток. При определенном давлении подвижной контакт проходит через «мертвую» точку контактной пружины 6 и перескакивает в верхнее разомкнутое положение. Цепь электродвигателя компрессора обесточивается. При понижении давления шток под действием пружины опускается вниз, и все происходит наоборот. Подвижной и неподвижный контакты замыкаются.
Уставку регулятора на включение контактов изменяют упорным винтом 10, воздействующим на регулировочную пружину 12. Чем больше раствор контактов, тем больший перепад давлений необходим для их замыкания. Гибкий шунт 7 соединяет рычаг подвижного контакта со стойкой 9 для улучшения токопрохождения через подвижной контакт.
Технические данные регулятора давления АК-ПБ
Номинальное напряжение, В...... 220
Ток продолжительного режима, А..... 20
» выключения, А......... Ю
Раствор контактов, мм.......' • 5—15
Пределы регулирования, МПа (кгс/см2) . . . . 0,3—0,9 (3—9) Давление включения компрессора, МПа (кгс/см2) . 0,65 (6,5)
» выключения » » » • 0,8 (8)
Нажатие контактов, Н (кгс)....... 4—5 (0,4—0,5) .
Выключатели пневматические ПВУ-2, ПВУ-4 предназначены для автоматического замыкания и размыкания цепи управления тяговыми двигателями в зависимости от давления сжатого воздуха в тормозной магистрали.
Пневматический выключатель ПВУ-2 состоит из привода, шариковых фиксаторов, механизма переключения и контакторного элемента. В корпусе 16

Рис. 120. Общий вид (а) и продольный разрез (б) регулятора давления АК-ПБ:
/ — основание; 2 — неподвижный контакт; 3 — подвижной контакт; 4 - винт; 5 — изогнутая стойка; 6 — контактная пружина; 7 — шунт, «—головка; 9, И —стойки; 10 — упорный винт; 11 — планка; 12 — регулировочная пружина; 13 — пластмассовая направляющая; 15 — рычаг; 16 — кожух; 17 — чугунный фланец; 18 — резиновая диафрагма; 19 — шток

Рис. 121. Выключатель пневматический ПВУ-2
(рис. 121) установлен поршень 4 с манжетой 3, шток 14 с головкой //, направляющей гильзой 12, отключающая пружина 10 и пробка 9. Направление поршня задается втулкой 15. Корпус после установки поршня 4 герметически закрыт крышкой/, между которыми проложена прокладка2. На штоке размещен поршенек с фиксирующей канавкой, по центру которой устанавливаются шариковые фиксаторы, состоящие из шариков 13, толкателей 7, пружин 8 и нажимного стакана 6, закрепляемого после регулировки гайкой 5.
Рычаг 23, шарнирно связанный со штоком, в зависимости от положения последнего через рычаг 19 производит переключение контакторного элемента 18, закрытого кожухом 22.
Электрические провода цепи управления подсоединяются к зажимам 17 и 20, причем зажим 17 соединяется с неподвижным контактом, а зажим 20 — с подвижным.
Зазор между подвижным и неподвижным контактами регулируется прокладками 21 различной толщины.
Сжатый воздух, подведенный под поршень 4 в отверстие крышки /, преодолевая усилие пружины 10 и усилие нижнего шарикового фиксатора, при достижении уставки перемещает вверх шток 14 до упора поршня в корпус.
Шток поворачивает рычаг 23, который через рычаг 19 переключает контак-торный элемент 18.
При снижении давления сжатого воздуха пружина 10 преодолевает усилие верхнего шарикового фиксатора, по достижении уставки перемещает шток вниз до упора его буртом в корпус. Регулировку уставки аппарата осуществляют путем изменения затяжки пружин 8 шариковых фиксаторов.
Пневматический выключатель торможения (АВТ) ПВУ-4 применяют на электропоезде ЭР2Р для прекращения электрического торможения и устранения опасности заклинивания колесных пар при одновременном действии электропневматического и электрических тормозов на моторном вагоне в тех случаях, когда давление в тормозных цилиндрах выше установленного. Выключатель ПВУ-4 по конструкции аналогичен ПВУ-2, отличается лишь тем, что имеет вместо, замыкающего контакта размыкающий, для этого рычаг 19 (см. рис. 121) повернут на 180° вдоль его продольной оси. Работа выключателя ПВУ-4 происходит аналогичным образом, но при движении поршня вверх вы-
ключается, а продвижении вниз включается. В схемах электропоездов ЭР2 автоматические выключатели управления обозначены АВУ.
Технические данные выключателей
Тип выключателя . ......... ПВУ-2 ПВУ-4
Номинальное напряжение контакторного элемен-
тя В ...... 50/110* ПО
Продолжительный ток, А ....... м
Число контактов: .
размыкающих.......... ~"~
замыкающих . ......... г 1 „ .
Разрыв контактов, мм........ б о б
Ход штока, мм .......... ЬГУ °ГУ
Масса, кг............ 6'Ь м
В числителе--для электропоезда ЭР2, в знаменателе — для ЭР2Р.
|
|