Контроллеры машиниста. Для дистанционного автоматического управления электропоездом в режимах тяги и реостатно-рекуперативного торможения предназначен контроллер машиниста (КМ).
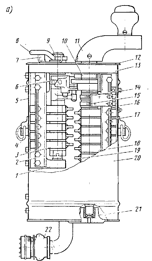
В кабине машиниста электропоезда ЭР2Р устанавливают контроллер машиниста 1КУ-019. Он имеет каркасную конструкцию. Основание 21 (рис. 122, а) и декоративная крышка 12 связаны вертикальными стальными угольниками 5, 16.
На рейках 2, 17 контроллера машиниста установлены кулачковые контакторы 3, 18 типа КЭ-42А (см. с. 148). На крышке 13 имеются ограничители 7 поворота реверсивной рукоятки 8, а также выдавлены обозначения положения главной // и реверсивной 8 рукояток. Реверсивная рукоятка имеет три фиксированных положения: Вперед, Назад и нулевое (рис. 122, б); главная рукоятка — 11 положений: маневровое М, четыре ходовых, пять тормозных и нулевое. С помощью рукояток осуществляют управление главным 10 (см. рис. 122, а) и реверсивным 9 кулачковыми валами контроллера. Валы представляют собой стальные стержни, на которые насажены кулачковые шайбы 19 с контактными кольцами 14. Имеются также детали 6 фиксации и механической блокировки валов.
Главный вал установлен в подшипниках, запрессованных в крышку 13 и основание 21, а реверсивный вал — в подшипниках, запрессованных в крышку 13 и кронштейн 1. Верхний конец вала проходит через крышку и оканчивается специальной головкой, в вырезы которой вставлена реверсивная рукоятка. Оба вала сблокированы таким образом, что поворот реверсивного вала возможен только при нулевом положении главного вала и поворот главного вала возможен только при рабочем положении реверсивного, т. е. при постановке его Вперед или Назад.
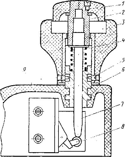
В нулевом положении главного и реверсивного валов, как показано на рис. 123, ролик фиксатора входит в среднюю впадину храповика 6, который жестко установлен на реверсивном валу 2. Одновременно конец фиксатора 1 входит во впадину колеса 4, которое жестко установлено на главном валу 3, этим самым вал запирается в нулевом положении. При повороте реверсивной рукоятки в одно из рабочих положений вместе с реверсивным валом повернется храповик 6 и ролик фиксатора 5 выйдет из средней впадины храповика, но под действием пружины 7 войдет в более глубокую впадину. Одновременно конец фиксатора выйдет из впадин колеса главного вала, что позволит его поворачивать в нужном направлении. Чтобы перевести реверсивную рукоятку из рабочего положения в нулевое, надо главную рукоятку установить в нулевое положение.
Контроллер машиниста снаружи закрыт кожухом 20 (см. рис. 122) с замками 4 и соединен с поездными проводами разъемом 22, состоящим из колодки и вставки.
Главная рукоятка выполнена из пластмассы, имеет сверху кнопку и механизм электрической блокировки безопасности. При нажатии машинистом на
кнопку 2, прикрепленную винтом / (рис. 124), кнопка, перемещаясь вниз, пре: одолевает усилие пружины 4, перемещает ось 7, которая своим концом давит на ролик 8 микропереключателя 9 и замыкает цепь блокировки безопасности. Максимальный ход кнопки — до соприкосновения с площадкой головки 3 рукоятки. При прекращении нажатия на кнопку пружина возвращает механизм в исходное положение — цепь блокировки безопасности разомкнётся. Если машинист отпустит кнопку во время движения поезда, то сработает автостоп и обесточатся катушки линейных или тормозных контакторов.
Головка 3 закреплена на кольцевой проточке корпуса рукоятки четырьмя винтами 5. Это позволяет вращать головку по отношению к корпусу рукоятки. Между корпусом и головкой имеется прокладка 6. Провода, идущие от неподвижных контактов электрической блокировки на контактные кольца, проложены по канавке главного вала. Контактные кольца насажены на главный вал при помощи изоляционных втулок.
Контроллер машиниста 1КУ-023 устанавливают на электропоездах ЭР2. По конструкции и внешнему виду он аналогичен контроллеру 1КУ.019, отличается от него числом фиксированных положений главной рукоятки и соответственно числом кулачковых контакторов на главном валу. На электропоездах ЭР2 более раннего выпуска установлен контроллер машиниста КМР-2А.
Корпус контроллера состоит из верхнего и нижнего оснований, соединенных двумя вертикальными угольниками и стальной рейкой. На верхнем основании укреплена декоративная крышка с выдавленными на ней обозначениями положений главной рукоятки и установленным ограничителем поворота реверсивной рукоятки. На стальной рейке установлены 12 кулачковых контакторов КР-ЗА (см. с. 148).


Рис. 122. Контроллер машиниста 1КУ.019 (а) и положение главной н реверсивной рукояток (б):
/ — кронштейн; 2, 17 — рейки; 3, 18 — кулачковые контакторы КЭ-42А; 4 — замок кужуха; 5, 16 — угольники вертикальные; 6 — детали фиксации и механической блокировки валов; 7 — ограничитель реверсивной рукоятки; 8 — реверсивная рукоятка; 9 — реверсивный вал; 10 — главный вал; // — главная рукоятка; 12 — декоративная крышка; 13 — крышка каркаса; 14 — контактные кольца; 15 — контактные пальцы; 19 — кулачковая шайба; 20 — кожух; 21 — основание; 22 — разъем
В контроллере имеются два вала: главный и реверсивный. Главный кулачковый вал с восемью кулачковыми шайбами опирается на подпятник нижнего основания. Верхний конец вала пропущен через подшипник, расположенный в верхнем основании, и соединен с главной рукояткой. На главном валу насажены храповик и главная пружина. Реверсивный вал с тремя кулачковыми шайбами опирается на втулку кронштейна, закрепленного на угольнике. Верхний конец реверсивного вала проходит через крышку верхнего основания и оканчивается специальной головкой, в вырезы которой вставляют реверсивную рукоятку.
Под верхним основанием на верхней части главного и реверсивного валов установлены детали механической блокировки главного и реверсивного валов и детали фиксации положения валов, а также пневматический клапан и контактор безопасности. Кроме того, на реверсивном валу установлено устройство блокировки контроля за работой на выбеге. Спереди контроллер закрыт металлическим кожухом.
Реверсивная рукоятка имеет три фиксированных положения: Вперед, нулевое и Назад. Главная рукоятка имеет восемь фиксированных положений: нулевое, маневровое, четыре ходовых и два положения ручного пуска. Главный вал в указанных положениях фиксируется посредством фиксатора, ролика, свободно вращающегося на реверсивном валу, и храповика, жестко закрепленного на главном валу.
Механическая блокировка контроллера устроена следующим образом. При нулевом положении реверсивной и главной рукояток (рис. 125, а и б) ролик прямоугольного рычага западает в среднюю выемку храповика реверсивного вала. Одновременно конец прямоугольного рычага заходит в выемку храповика главного вала, запирая его в нулевом положении. При этом положении рукояток ролик фигурного рычага, свободно вращающегося на реверсивном валу, прижимается пружиной к ролику прямоугольного рычага, запирая фигурный рычаг в таком положении, при котором он не воздействует ни на пневматический клапан, ни на контактор безопасности. Клапан безопасности при этом закрыт, т. е. тормозная магистраль не сообщается с атмосферой, а контактор безопасности включен.
При повороте реверсивной рукоятки в рабочее положение (рис. 125, б и г) вместе с реверсивным валом повернется и его храповик. Тогда ролик прямоугольного рычага под воздействием пружины выйдет из среднего углубления храповика реверсивного вала и войдет в один из крайних, более глубоких его вырезов. Прямоугольный рычаг повернется против часовой стрелки, и его конец выйдет из углубления храповика главного вала, освобождая главный вал. Одновременно ролик фигурного рычага под действием пружины проследует за

Рис. 123. Механическая блокировка кулачковых валов контроллера машиниста 1КУ.019

Рис. 124. Блокировка безопасности контроллера машиниста 1КУ-019
движением ролика прямоугольного рычага и повернет фигурный рычаг в такое положение, при котором один его конец нажмет на пневматический клапан безопасности, отключая питание цепей управления тяговыми двигателями.
Для того чтобы закрыть клапан безопасности и включить контактор безопасности (рис. 125, в и д), необходимо нажать на главную рукоятку, переведя ее из наклонного положения в горизонтальное. Тогда стержень главной рукоятки надавит на шпонку, а она на кулачок, который своей скошенной гранью повернет ролик с фигурным рычагом в первоначальное положение. Шпонка при этом входит в выемку защелки и запирается там, что облегчает удержание главной рукоятки в рабочем положении, так как при этом главная пружина вала перестает действовать на рукоятку. После поворота главной рукоятки в рабочее положение повернуть реверсивную рукоятку нельзя, так как прямоугольный рычаг запирается в рабочем положении храповиком главного вала.
Если в рабочем положении отпустить главную рукоятку, то пружина переместит ее вверх вместе со стержнем.Стержень повернет защелку вправо и освободит шпонку. Главная пружина поднимет кулачок, что приведет к открытию клапана безопасности и размыканию контактора безопасности. При этом выключаются линейные контакторы и начинается экстренное торможение путем выпуска воздуха из тормозной магистрали.
Повторное перемещение главной рукоятки возможно только из нулевого положения, так как во всех других положениях кольцевой выступ кулачка упирается в торец ролика фигурного рычага. Только в нулевом положении этот выступ имеет выемку, позволяющую отжать вышеупомянутый ролик.
На электропоездах в контроллере машиниста на реверсивном валу дополнительно установлен кулачковый контактор, контролирующий обязательное положение реверсивной рукоятки в момент выбега в одном из рабочих положений,

Рис. 125. Механическая блокировка контроллера машиниста КМР-2А:
а — кинематическая схема; б, в и г, д — соответственно схемы механизма и кинематические схемы при нулевом и рабочем положениях главной рукоятки; / — пневматический клапан безопасности-2 — храповик реверсивного вала; 3 — ролик прямоугольного рычага; 4 — храповик главного вала'; 5 —ролик фигурного рычага; « — прямоугольный рычаг; 7 — пружина; 8 — контактор безопасности; 9 — фигурный рычаг; 10 — стержень; // — защелка; 12 — кулачок; « — главная пружина-14 — шпонка; 15 — пружина главной рукоятки
Это значит, что если в момент выбега реверсивную рукоятку перевести в нулевое положение, то произойдет включение ЭПТ.
Низковольтные электромагнитные контакторы. Они служат для замыкания цепей низкого напряжения с боль-■ шими токами и индуктивностями.
Контактор КМ-ЗЕ состоит из включающей катушки / (рис. 126) с сердечником, магнитопровода 2 Г-образной формы и якоря 5. На якоре смонтированы главный подвижной контакт 6 и подвижные блок-контакты. Последние установлены на изоляционной прессованной планке, которая укреплена винтом 4 на хвостовике якоря. Контактор имеет один или два замыкающих и столько же размыкающих контактов. Главный неподвижный контакт соединен с концом ду-гогасительной катушки 8. К сердечнику катушки присоединены стальные полюсы
дугогасительной камеры 7, выполненной из асбоцемента. Подвижной контакт и его притирающая пружина имеют держатель, закрепленный на якоре. Включение контактора происходит при подаче напряжения на включающую катушку (50 В на электропоезде ЭР2 и ПО В — на ЭР2Р). В этом случае происходит притяжение якоря и замыкание как главных, так и блокировочных контактов.
Для выключения контактора разрывают цепь питания катушки. При этом под воздействием отключающей пружины 3 якорь отойдет от сердечника электромагнита и разомкнет контакты.
Контактор КМ-ЗЕ в схеме электропоезда ЭР2 имеет обозначения Г, В, ОС, ПРУ, ОМ, а в схеме электропоезда ЭР2Р — ПРУ.

Рис. 126. Контактор КМ-ЗЕ
Технические даииые контактора КМ-ЗЕ
Номинальное напряжение, В..... 50 110
Ток срабатывания, а....... 0,16—0,19 0,065—0,071
Число витков включающей катушки . . 5850 14 100
Сопротивление при 20 °С, Ом..... 162 940
Число витков дугогасительной катушкн ... 10 10
Контактор КМ-2313 предназначен для включения электродвигателя компрессора на электропоезде ЭР2Р, в схеме обозначен К- От контактора КМ-ЗЕ он отличается наличием трех полюсов. На каждом полюсе установлена дугога-сительная система такая же, как и у контактора КМ-ЗЕ. Магнитная система контактора КМ-2313 аналогична магнитной системе контактора КМВ-104 (см. с. 104).
Контактор КП-31141 служит для подзарядки аккумуляторной батареи на электропоезде ЭР2 (схемные обозначения КБ1 и К Б 2). Магнитная система его аналогична магнитной системе контактора КМ-ЗЕ. Контактор имеет три главных контакта и один блок-контакт. Главные контакты (два замыкающих и один размыкающий) выполнены с дугогашением так же, как и контактор КМ-ЗЕ. На электропоездах ЭР2 последних выпусков контактор КП-31/41 заменяют контактором КМ 1.
Контактор КП-21155 применяют на электропоезде ЭР2Р во вспомогательных низковольтных цепях и цепях управления, в схеме обозначают БК- Маг-

нитная система его аналогична магнитной системе контактора КМ-ЗЕ. Контактор имеет пять замыкающих и пять размыкающих контактов, расположенных на изоляционной планке, укрепленной на хвостовике якоря.
Кулачковый контактор КР-ЗА используют в контроллере машиниста, реостатном контроллере и реверсоре электропоезда ЭР2. Он имеет пластмассовый изолятор 5 (рис. 127), стойку 7 и неподвижный контакт 2. Изолятор болтом крепят к рейке группового аппарата. Стойка и неподвижный контакт закреплены на изоляторе. Неподвижный контакт 2 представляет собой болт, проходящий сквозь изолятор. На стойке шарнир но укреплен подвижной корытообразный рычаг 5 со стальным роликом 6. К этому рычагу посредством тяги присоединена пластина 4 с подвижным контактом 3, имеющим серебряную напайку, и гибким шунтом 9. Второй конец шунта присоединен к шпильке стойки.
Притирание и включение контактов осуществляет пружина /, установленная на тяге. При набегании ролика контактора на кулачковую шайбу происходит поворот рычага вокруг оси. Вместе с рычагом поворачивается контактная пластина, и контакты размыкаются. При сбегании ролика контактора с выступа кулачковой шайбы рычаг под-действием пружины поворачивается вокруг оси в обратном направлении до упора на изоляторе. В процессе поворота контакты снова замыкаются.
Кулачковый контактор КЭ-42А устанавливают на электропоезде ЭР2Р в контроллере машиниста, реостатном контроллере, реверсивно-тормозном переключателе и в качестве блокировки в электропневматических контакторах. Он имеет пластмассовый изолятор 7 (рис. 128), который крепят болтом к рейке аппарата, и два неподвижных контакта 2, представляющих собой болты, проходящие сквозь изолятор. К этим болтам присоединяют провода. На изоляторе шарнирно укреплен рычаг 4 с роликом 5. На рычаге размещен контактный мостик / с двумя подвижными контактами и притирающей пружиной 3. Включение контактора осуществляет включающая пружина 6.
Кулачковый контактор КР-11 используют в качестве блокировок для контакторов ПКУ-1 и ПКУ-2. Он отличается от кулачкового контактора КЭ-42А. только меньшими габаритными размерами.
148
|
|